| Subject: | Diagnostic Trouble Code (DTC) P0757 Set, Malfunction Indicator Lamp (MIL) Illuminated, Poor Performance of Transmission, Transmission Slipping (Clean Transmission Valve Body and Case Oil Passages of Debris) |
| Models: | 2007 and Prior GM Passenger Cars and Light Duty Trucks |
| with 4L60-E/4L65-E/4L70-E Automatic Transmission (RPOs M30/M32/M70) |
This bulletin is being revised to add the 2007 model year and the 4L70-E transmission. Also, information has been added to Condition, Cause and Correction. Please discard Corporate Bulletin Number 01-07-30-038C (Section 07 - Transmission/Transaxle).
Condition
Some customers may comment on any of the following conditions:
| • | An illuminated MIL where DTC P0757 is found as a history code in the PCM or TCM. |
| • | The transmission does not shift correctly. |
| • | The transmission feels like it shifts to Neutral or a loss of drive occurs. |
| • | The vehicle free wheels above 48 km/h (30 mph). High RPM needed to overcome the free wheeling. |
Cause
This condition may be caused by any of the following:
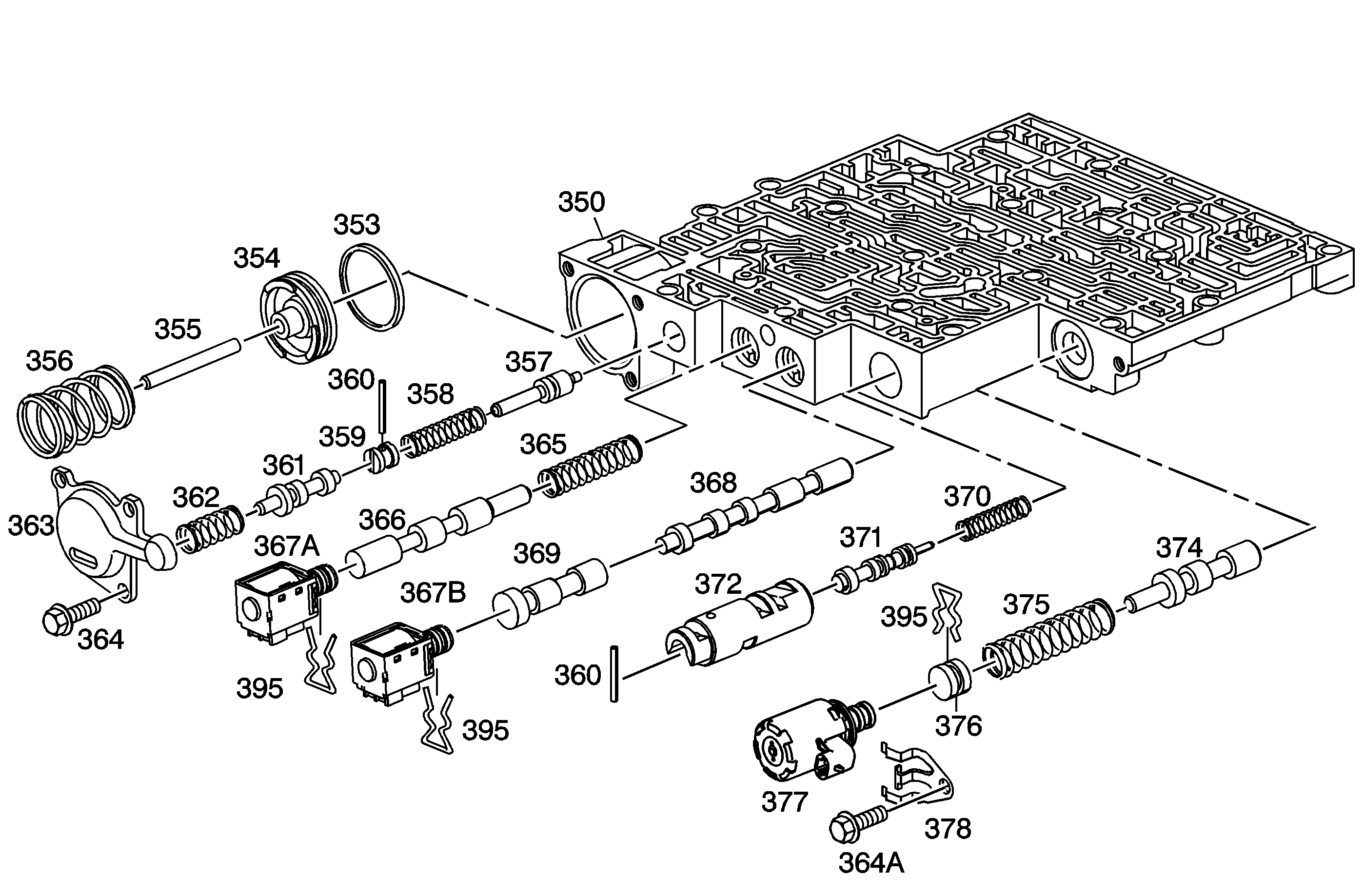
| • | Chips or debris plugging the bleed orifice of the 2-3 shift solenoid (367). This will cause the transmission to stay in 2nd gear when 3rd gear is commanded and return to 1st gear when 4th gear is commanded. |
| • | A 2-3 shift valve (368) or 2-3 shuttle valve (369) that is stuck, restricted and/or hung-up in its bore. |
| • | This condition may also be an indication of a damaged 2-4 band or 3-4 clutches. This clutch damage may generate debris causing the 2-3 shift valve line-up to stick in the valve body bore and set DTC P0757. |
Correction
| • | Inspect the condition of the transmission fluid for signs of overheat or a burnt odor. If either is noted, the transmission should be disassembled for further investigation and repaired as needed. |
| • | Inspect the inside of the oil pan for signs of clutch friction material. A small amount of friction material in the bottom of the pan is normal. If a large amount of clutch material is noted in the fluid or bottom pan, the transmission should be
disassembled for further investigation and repaired as needed. |
| • | Inspect and clean the 2-3 shift valve (368), the 2-3 shuttle valve (369) and the valve bore of debris/metal chips. |
| • | Inspect and clean the 2-3 shift solenoid (367B) opening of debris/metal chips. While inspecting the 2-3 shift solenoid (367B), look for a screen over the solenoid opening. If the solenoid DOES NOT have a screen, replace the solenoid.
All current GMSPO stock shift solenoids have a screen over the solenoid opening. |
| • | If clutch debris is found, it is also very important to inspect the pressure control (PC) solenoid valve fluid screens. Clean or replace the PC solenoid as necessary. It is also important to flush and flow check the transmission oil cooler using
J 45096. Refer to SI "Automatic Transmission Oil Cooler Flushing and Flow Test" for the procedure. |
Refer to the appropriate Service Manual for additional diagnostic information and service procedures.
Warranty Information
For repairs performed under warranty, use the applicable published labor code and information.