GM Service Manual Online
For 1990-2009 cars only

Removal Procedure

Caution: Refer to Brake Fluid Irritant Caution in the Preface section.

Notice: Refer to Brake Fluid Effects on Paint and Electrical Components Notice in the Preface section.

    Important: Note the locations of the brake pipes in order to aid in installation.


    Object Number: 886375  Size: SH
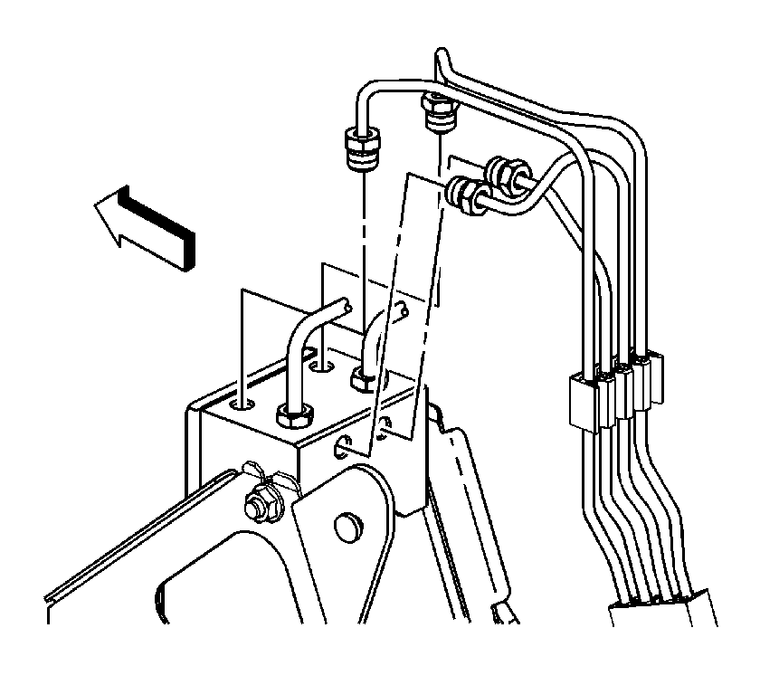
  1. Disconnect the brake pipes from the proportioning valve .

  2. Object Number: 886395  Size: SH
  3. Remove master cylinder brake pipes (1) from proportioning valve.
  4. Remove the nuts that retain the proportioning valve to the mounting bracket.
  5. Remove the proportioning valve from the bracket.

Installation Procedure

    Notice: Refer to Fastener Notice in the Preface section.

  1. Install the proportioning valve to bracket and install retaining nuts.
  2. Tighten
    Tighten the nuts 10 N·m (84 lb in).


    Object Number: 886395  Size: SH
  3. Install master cylinder brake pipes (1) to proportioning valve .
  4. Tighten
    Tighten the fittings to 15 N·m (11 lb ft).


    Object Number: 886375  Size: SH
  5. Install the brake pipes to the proportioning valve .
  6. Tighten
    Tighten the fittings to 21 N·m (15 lb ft).

  7. Bleed brake system. Refer to Hydraulic Brake System Bleeding .