GM Service Manual Online
For 1990-2009 cars only

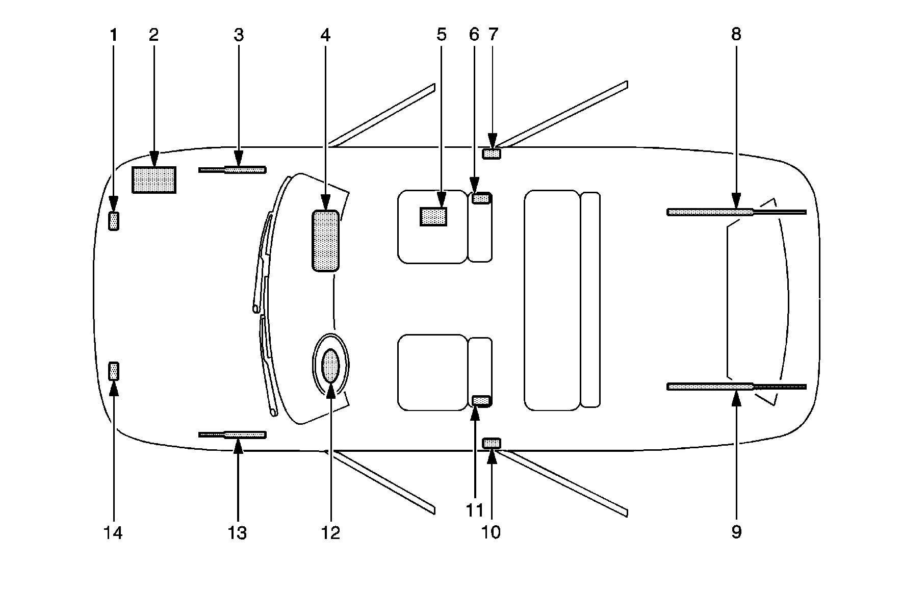
The SIR Identification Views shown below illustrate the approximate location of all SIR components available for the vehicle. This will assist in determining the appropriate SIR Disabling and Enabling for a given service procedure, refer to SIR Disabling and Enabling .

Aztek Rendezvous


Object Number: 853843  Size: MF
(1)Front End Sensor (EFS)-Located on the front of the vehicle in the engine compartment
(2)Vehicle Battery-Located under the hood on the right side
(3)Front Hood Assist Rod-A gas shock located under the front hood on the passenger side
(4)I/P Air Bag-Located at the top right under the instrument panel
(5)Sensing and Diagnostic Module (SDM)-Located underneath the vehicle carpet under the passenger seat
(6)RF Side Impact Air Bag-Located on the seat back of passenger seat
(7)Side Impact Sensor (SIS)-Located under the center pillar trim near the bottom
(8)Rear Compartment Lid Assist Rod-A gas shock is located under the rear trunk lid on the passenger side
(9)Rear Compartment Lid Assist Rod-A gas shock is located under the rear trunk lid on the driver side
(10)Side Impact Sensor (SIS)-Located under the center pillar trim near the bottom
(11)LF Side Impact Air Bag-Located on the seat back of driver seat
(12)Steering Wheel Air Bag-Located on the steering wheel
(13)Front Hood Assist Rod-A gas shock located under the front hood on the driver side
(14)Front End Sensor (EFS)-Located on the front of the vehicle in the engine compartment