GM Service Manual Online
For 1990-2009 cars only

Removal Procedure


    Object Number: 489061  Size: SH
  1. Remove rear bumper fascia. Refer to Rear Bumper Fascia Replacement .
  2. Disconnect electrical from the rear object sensor.

  3. Object Number: 500502  Size: SH
  4. Lift the locking tabs on the housing (4) and remove the rear object sensor (1).

  5. Object Number: 489063  Size: SH
  6. Squeeze the spring (1) and remove it from the housing (2).

  7. Object Number: 489064  Size: SH
  8. Release the tabs on the housing and remove.

  9. Object Number: 489066  Size: SH
  10. Remove the rear object sensor bezel by pushing it through the fascia.

Installation Procedure

    Important: Do not refinish previously painted sensors.

  1. Paint the new rear object sensor. Refer to Basecoat/Clearcoat Paint Systems .
  2. Check the paint thickness to ensure it does not exceed 6 mils using a paint thickness gage suitable for non-ferrous metals. Refer to Paint Gages .

  3. Object Number: 500505  Size: SH
  4. Align the keyhole (2) with the key (1) and press the rear object sensor bezel flush to the fascia.

  5. Object Number: 489064  Size: SH
  6. Install the housing to the cutouts on the bezel through the back side of the fascia.
  7. Important: The spring keys must be on the top and bottom of the housing.


    Object Number: 489063  Size: SH
  8. Install the spring (1) to the housing (2).

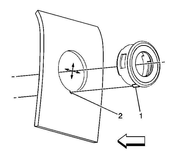
  9. Object Number: 500502  Size: SH
  10. Install the decoupling ring (2) to the sensor (1).
  11. Insert the sensor into the housing (4) with the connector pointing toward the passenger side of the fascia. Press the sensor tabs into the cutouts on the housing (4).

  12. Object Number: 489061  Size: SH
  13. Connect the electrical connector to the rear object sensor.
  14. Install the rear bumper fascia. Refer to Rear Bumper Fascia Replacement .