| Table 1: | Object Sensor -- LR Corner |
| Table 2: | Object Sensor -- LR Middle |
| Table 3: | Object Sensor -- RR Corner |
| Table 4: | Object Sensor -- RR Middle |
| Table 5: | Rear Parking Assist (RPA) Module |
| Table 6: | Rear Parking Assist (RPA) Display |
| |||||||
|---|---|---|---|---|---|---|---|
Connector Part Information |
| ||||||
Pin | Wire Color | Circuit No. | Function | ||||
1 | YEL | 2375 | LR Corner Object Sensor Signal | ||||
2 | GRY | 2379 | Object Sensor Low Reference | ||||
3 | DK BLU | 2374 | Object Sensor Supply Voltage | ||||
| |||||||
|---|---|---|---|---|---|---|---|
Connector Part Information |
| ||||||
Pin | Wire Color | Circuit No. | Function | ||||
1 | ORN | 2376 | LR Middle Object Sensor Signal | ||||
2 | GRY | 2379 | Object Sensor Low Reference | ||||
3 | DK BLU | 2374 | Object Sensor Supply Voltage | ||||
| |||||||
|---|---|---|---|---|---|---|---|
Connector Part Information |
| ||||||
Pin | Wire Color | Circuit No. | Function | ||||
1 | RED | 2378 | RR Corner Object Sensor Signal | ||||
2 | GRY | 2379 | Object Sensor Low Reference | ||||
3 | DK BLU | 2374 | Object Sensor Supply Voltage | ||||
| |||||||
|---|---|---|---|---|---|---|---|
Connector Part Information |
| ||||||
Pin | Wire Color | Circuit No. | Function | ||||
1 | DK GRN | 2377 | RR Middle Object Sensor Signal | ||||
2 | GRY | 2379 | Object Sensor Low Reference | ||||
3 | DK BLU | 2374 | Object Sensor Supply Voltage | ||||
| |||||||
|---|---|---|---|---|---|---|---|
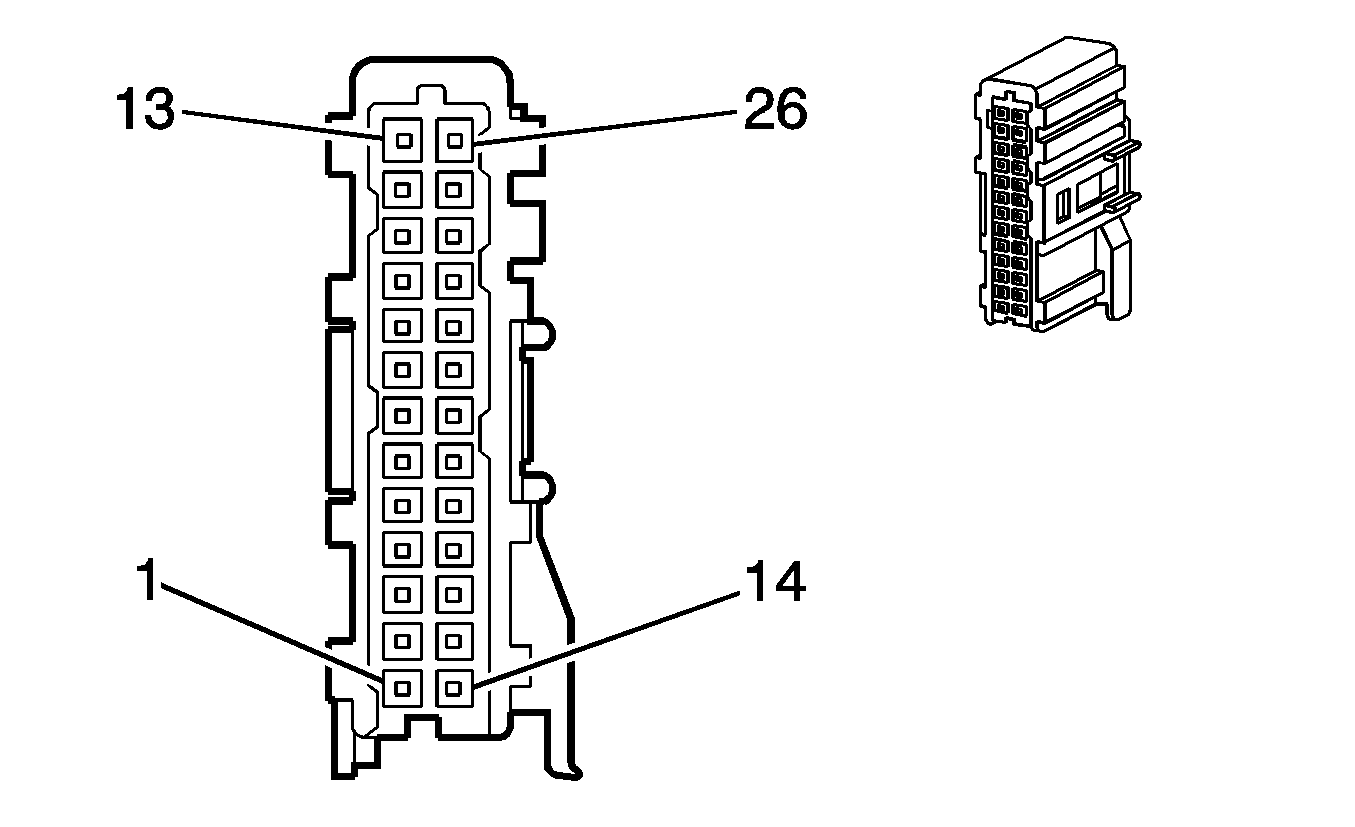
Connector Part Information |
| ||||||
Pin | Wire Color | Circuit No. | Function | ||||
1 | YEL | 2375 | LR Corner Object Sensor Signal | ||||
2 | ORN | 2376 | LR Middle Object Sensor Signal | ||||
3 | DK GRN | 2377 | RR Middle Object Sensor Signal | ||||
4 | RED | 2378 | RR Corner Object Sensor Signal | ||||
5 | DK BLU | 2374 | Object Sensor Supply Voltage | ||||
6 | GRY | 2379 | Object Sensor Low Reference | ||||
7 - 11 | -- | -- | Not Used | ||||
12 | BLK | 850 | Ground | ||||
13 | PNK | 1439 | Ignition 1 Voltage | ||||
14 | BRN | 9380 | Rear Parking Assist Disable Switch Input | ||||
15 | LT GRN | 24 | Backup Lamp Supply Voltage | ||||
16 | LT GRN | 2525 | Rear Parking Assist Diagnostic Input | ||||
17 | -- | -- | Not Used | ||||
18 | DK GRN | 389 | Vehicle Speed Signal | ||||
19 - 21 | -- | -- | Not Used | ||||
22 | LT BLU | 2380 | Rear Parking Assist Chime Signal | ||||
23 | WHT | 2370 | Telltale Assembly Supply Voltage | ||||
24 | GRY | 2373 | Red Indicator Control | ||||
25 | DK BLU | 2372 | Center Amber Indicator Control | ||||
26 | ORN | 2371 | Left Amber Indicator Control | ||||
| |||||||
|---|---|---|---|---|---|---|---|
Connector Part Information |
| ||||||
Pin | Wire Color | Circuit No. | Function | ||||
A | WHT | 2370 | Telltale Assembly Supply Voltage | ||||
B | ORN | 2371 | Left Amber Indicator Control | ||||
C | DK BLU | 2372 | Center Amber Indicator Control | ||||
D | GRY | 2373 | Red Indicator Control | ||||