GM Service Manual Online
For 1990-2009 cars only

Tools Required

    • J 3289-20 Holding Fixture
    •  J 8092 Universal Driver Handle
    • J 36371 Output Shaft Bearing Installer
    • J 36373 Input Sun Gear Ball Bearing Installer
    • J 37668-A Seal Installer
    • J 42738 Seal Installer
    • J 45235 Rear Speed Sensor Reluctor Wheel Installer
    • J 45236 Front Output Shaft Seal Installer
    • J 45237 Input Gear Thrust Bearing Installer
    • J 45239 Needle Bearing Installer
    • J 45380 Transfer Case Rear Bushing Remover and Installer
    • J 45759 Assembly Fixture

    Object Number: 765974  Size: SH

    Important: 

       • Install the input gear seal after the transfer case is assembled.
       • Do not cock the bearing when installing. Ensure to squarely install the bearing in the bore.

  1. Using a suitable bearing installer, install the rear output shaft bearing. Ensure the bearing installer is used against the outer race of the bearing.

  2. Object Number: 765975  Size: SH
  3. Using the driver of the J 36371 , install the front output shaft rear bearing into the rear case half.

  4. Object Number: 765976  Size: SH
  5. Using the J 8092  (1) and the J 45239  (2), install the control actuator lever shaft bearing until it bottoms in the bore. The seal side of the bearing faces the encoder motor.

  6. Object Number: 765887  Size: SH
  7. Install the control actuator lever shaft in the rear case half.

  8. Object Number: 765885  Size: SH
  9. Install a new control actuator lever shaft retaining ring.

  10. Object Number: 765981  Size: SH
  11. Install the oil pump screen and oil pump hose to the oil pump suction pipe.

  12. Object Number: 743590  Size: SH
  13. Install a new O-ring seal onto the oil pump suction pipe.
  14. Lightly lubricate the O-ring seal with transfer case oil.
  15. Install the oil pump suction pipe assembly in the rear case half. Ensure the oil pump suction pipe is fully seated.

  16. Object Number: 765882  Size: SH
  17. Install the chip collector magnet in the rear case half.

  18. Object Number: 765873  Size: SH
  19. Apply a thin layer of retaining compound GM P/N 12377901 (Canadian P/N 10953504) or equivalent to the vent, if removed.
  20. Tap the vent into the case. Ensure the vent is aligned in the direction shown.

  21. Object Number: 765977  Size: SH

    Important: Install the front output shaft seal after the transfer case is assembled.

  22. Using the J 36371 , install the front output shaft front bearing into the front case.

  23. Object Number: 772119  Size: SH
  24. Using a press, install the input gear bearing into the front case.
  25. • Ensure the press plates fit properly on the case.
    • Use a suitable press tool that fits to the bearing outer race.

    Object Number: 772123  Size: SH
  26. If removed, install the input gear thrust bearing into the input gear using the J 8092  (1) and the J 45237  (2).

  27. Object Number: 772126  Size: SH
  28. Using a press, press the input gear assembly into the input gear bearing.
  29. 16.1. Support the front case half on press plates to allow the input gear to protrude.
    16.2. Support the inner race of the input gear bearing.
    16.3. Use a suitable press plate on the end of the input gear.
    16.4. Press on the input gear until fully seated against the input gear bearing.

    Object Number: 743653  Size: SH
  30. Install the rear output shaft thrust washer. Align the tabs with the shaft splines.

  31. Object Number: 743652  Size: SH
  32. Install a new retaining ring, for the clutch housing, on the rear output shaft. Ensure the retaining ring is properly installed in the groove.

  33. Object Number: 765913  Size: SH
  34. Install the drive sprocket onto the clutch housing.

  35. Object Number: 765909  Size: SH
  36. Install a new retaining ring for the drive sprocket on the clutch housing.

  37. Object Number: 743648  Size: SH
  38. Lightly lubricate the clutch housing inner bearing with transfer case fluid.
  39. Install the clutch housing onto the rear output shaft.

  40. Object Number: 765935  Size: SH
  41. Install the clutch hub into the clutch housing.

  42. Object Number: 765943  Size: SH
  43. With the friction material facing down, install an outer clutch disc into the clutch housing.

  44. Object Number: 765947  Size: SH
  45. With the friction material facing down, install an inner clutch disc into the clutch housing.
  46. Continue to install the outer clutch disc and inner clutch disc, alternating until 9 of each are installed.

  47. Object Number: 743643  Size: SH
  48. Install a new clutch hub retaining ring onto the rear output shaft.

  49. Object Number: 743638  Size: SH
  50. Install the clutch spring.

  51. Object Number: 743633  Size: SH
  52. Install the clutch apply plate.
  53. • Ensure the clutch apply plate tabs are aligned with the clutch hub.
    • Ensure the clutch spring is seated properly in the underside groove of the clutch apply plate.

    Object Number: 743627  Size: SH
  54. Install the clutch pressure plate bearing. The bearing will only install in one direction. The bearing will fit flush to the inner plate when properly installed.

  55. Object Number: 743623  Size: SH
  56. Install the clutch inner plate.

  57. Object Number: 743666  Size: SH

    Important: The marks on the clutch pressure plate bearing must be aligned before installing the clutch apply plate retaining ring.

  58. Align the markings on the clutch pressure plate bearing.

  59. Object Number: 743617  Size: SH
  60. While pushing down on the clutch apply plate, install the clutch apply plate retaining ring.

  61. Object Number: 772099  Size: SH
  62. Install the clutch lever to the rear case half.
  63. • Position the clutch lever onto the 2 pivot pins.
    • Shift the control actuator lever shaft to the neutral position.

    Object Number: 784617  Size: SH
  64. Install the rear output shaft assembly.

  65. Object Number: 765950  Size: SH
  66. Using a hydraulic press and the J 36373 , install a new front speed sensor reluctor wheel onto the front output shaft.

  67. Object Number: 765919  Size: SH
  68. Install the driven sprocket onto the front output shaft.
  69. Install a new driven sprocket retaining ring onto the front output shaft.

  70. Object Number: 743574  Size: SH

    Important: If using the drive chain again, align the marks made during disassembly for proper wear pattern alignment.

  71. Install the drive chain assembly.
  72. 39.1. Position the drive chain on the driven sprocket on the front output shaft.
    39.2. Position the drive chain on the drive sprocket on the rear output shaft.
    39.3. Install the front output shaft into the front output shaft rear bearing.

    Object Number: 879830  Size: SH
  73. Attach the J 45759  (2) to the transfer case front half.
  74. Install the J 45759  (2) into the J 3289-20  (1) and secure with the pivot pin.

  75. Object Number: 765953  Size: SH

    Notice: Apply the proper amount of sealant to the flange when assembling the transfer case. Excessive amounts of sealant can plug the oil pump screen, resulting in internal component failure.

    Important: Ensure both sealing surfaces of the front and rear case halves are free of dirt, oil, and cleaning solvent.

  76. Apply a 3 mm (1/8 in) bead of sealant GM P/N 12345739 (Canadian P/N 10953541) or equivalent onto the rear case half.
  77. Inspect to ensure the location pins are installed in the front case half.
  78. Install any missing location pins in the front case half.

  79. Object Number: 860418  Size: SH
  80. Install the front case half to the rear case half.
  81. • Rotating the output shaft will align the splines with the input gear.
    • The case halves should come together without any resistance.
    • The rear case half should align on the front case half location pins.

    Object Number: 743568  Size: SH

    Notice: Use the correct fastener in the correct location. Replacement fasteners must be the correct part number for that application. Fasteners requiring replacement or fasteners requiring the use of thread locking compound or sealant are identified in the service procedure. Do not use paints, lubricants, or corrosion inhibitors on fasteners or fastener joint surfaces unless specified. These coatings affect fastener torque and joint clamping force and may damage the fastener. Use the correct tightening sequence and specifications when installing fasteners in order to avoid damage to parts and systems.

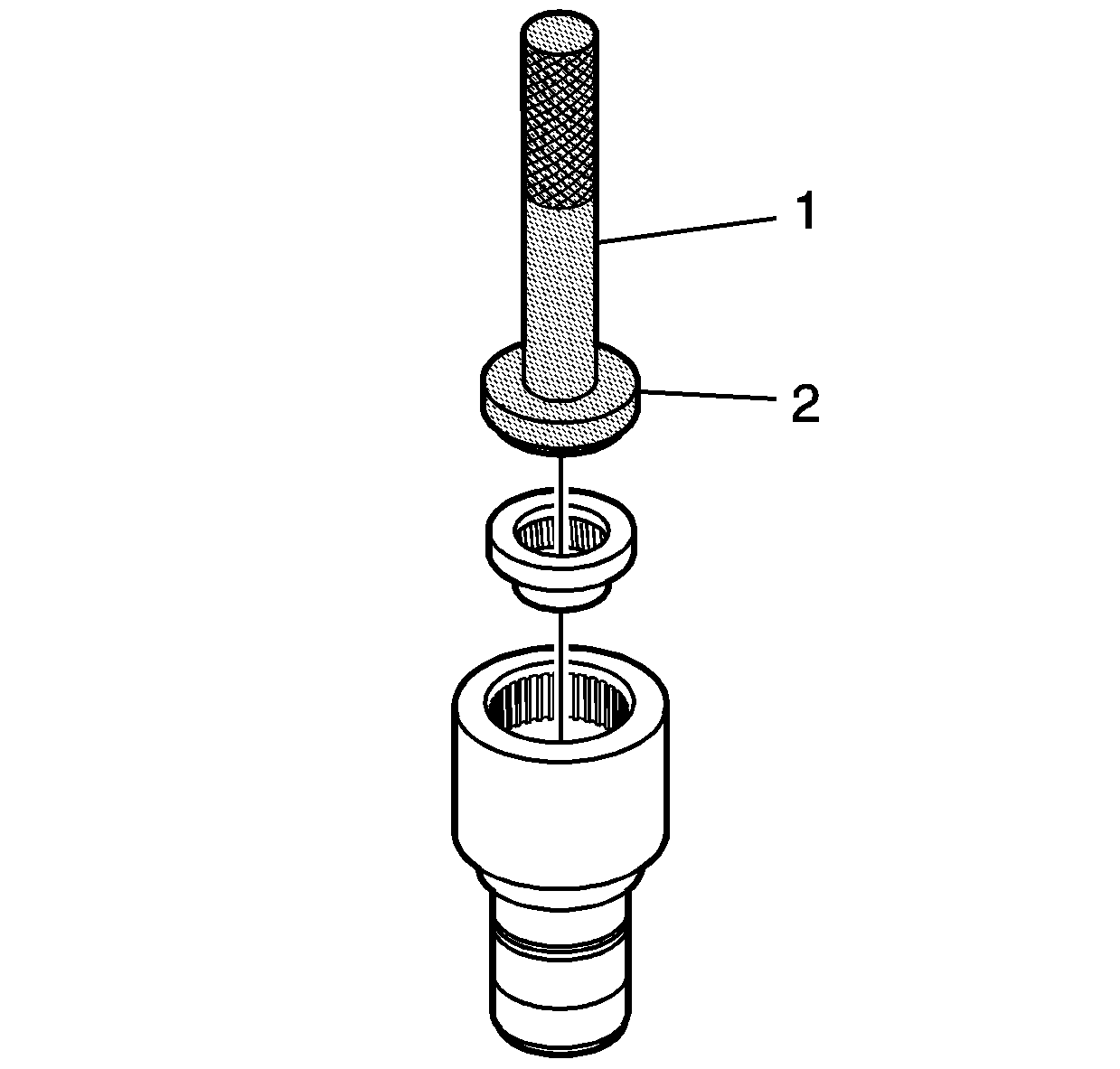
  82. Install the front case half to rear case half bolts.
  83. Tighten
    Tighten the case half bolts to 22 N·m (16 lb ft).


    Object Number: 765962  Size: SH
  84. Install the oil pump driven gear, the outer rotor.
  85. Install the oil pump drive gear, the inner rotor. The flat on the inner rotor aligns to the flat area on the rear output shaft.

  86. Object Number: 765963  Size: SH

    Important:  DO NOT use sealer on the oil pump cover.

  87. Install the oil pump cover.
  88. Install the oil pump cover mounting bolts.
  89. Tighten
    Tighten the oil pump cover mounting bolts to 11 N·m (9 lb ft).


    Object Number: 743586  Size: SH
  90. Position the NEW speed sensor reluctor wheel onto the rear output shaft.

  91. Object Number: 765964  Size: SH

    Important: Use the J 45235 to install the rear speed sensor reluctor wheel to the proper specifications.

  92. Using the J 45235 on the rear output shaft, install the rear speed sensor reluctor wheel.

  93. Object Number: 743584  Size: SH
  94. Inspect to ensure the rear extension location pins are installed in the rear case half.
  95. Install any missing location pins in the rear case half.
  96. Notice: Apply the proper amount of sealant to the flange when assembling the transfer case. Excessive amounts of sealant can plug the oil pump screen, resulting in internal component failure.

    Important: Ensure both sealing surfaces of the rear extension and rear case half are free of dirt, oil, and cleaning solvent.

  97. Apply a 3 mm (1/8 in) bead of sealant GM P/N 12345739 (Canadian P/N 10953541) or equivalent onto the rear extension.
  98. Install the rear extension to the rear case half. Align on the location pins.
  99. Install the rear extension bolts.
  100. Tighten
    Tighten the rear extension bolts to 22 N·m (16 lb ft).


    Object Number: 743566  Size: SH

    Important: The shift control detent must be in the neutral position when installing the motor/encoder.

  101. Shift the shift control detent into the neutral position.
  102. Important: A new motor/encoder will not have location pins.

  103. Inspect to ensure the location pins are installed in the motor/encoder.
  104. Install any missing location pins in the motor/encoder.
  105. Install the motor/encoder assembly.

  106. Object Number: 743564  Size: SH
  107. Install the motor/encoder mounting bolts.
  108. Tighten
    Tighten the motor/encoder mounting bolts to 16 N·m (12 lb ft).

  109. Install the motor/encoder wiring harness bracket and case half bolt.
  110. Tighten
    Tighten the case half bolt to 22 N·m (16 lb ft).


    Object Number: 765878  Size: SH
  111. Install the front vehicle speed sensor (VSS).
  112. Tighten
    Tighten the front VSS to 17 N·m (13 lb ft).


    Object Number: 765845  Size: SH
  113. Install the right rear VSS.
  114. Tighten
    Tighten the right rear VSS to 17 N·m (13 lb ft).

  115. Install the left rear VSS.
  116. Tighten
    Tighten the left rear VSS to 17 N·m (13 lb ft).


    Object Number: 765966  Size: SH
  117. Install the J 45236-2 onto the front output shaft.

  118. Object Number: 765968  Size: SH
  119. Install the seal onto the J 45236-2 (1).
  120. Using the J 45236-1 (2), install the front output shaft seal.

  121. Object Number: 765970  Size: SH
  122. Using the J 42738 , install the front input shaft seal.

  123. Object Number: 1225133  Size: SH
  124. Using the J 45380 , install a new rear output shaft bushing.
  125. 71.1. Install the bushing on the finger section of the J 45380 .
    71.2. Install the finger section to the main body of the J 45380 .
    71.3. Position the bushing and tool to the case.
    71.4. Using a hammer and the J 45380 , install the bushing.

    Object Number: 765971  Size: SH
  126. Using the J 37668-A , install the rear output shaft seal.
  127. 72.1.  Align the notch on the J 37668-A with the tab on the seal.
    72.2. Install the seal with the tab at the top and the weep hole at the bottom.

    Object Number: 765973  Size: SH
  128. Apply pipe sealant GM P/N 12346004 (Canadian P/N 10953480) or equivalent to the fill plug threads.
  129. Install the fill plug.
  130. Tighten
    Tighten the fill plug to 27 N·m (20 lb ft).


    Object Number: 765905  Size: SH
  131. Apply pipe sealant GM P/N 12346004 (Canadian P/N 10953480) or equivalent to the drain plug threads.
  132. Install the drain plug.
  133. Tighten
    Tighten the drain plug to 27 N·m (20 lb ft).