GM Service Manual Online
For 1990-2009 cars only

Tools Required

    • J 36190 Universal Drive Handle
    • J 36798 Shift Rail Bushing Staking Tool

    Object Number: 760946  Size: SH
  1. Install the input shaft bearing using a brass drift on the outer race of the bearing.

  2. Object Number: 760958  Size: SH
  3. Install the countershaft front bearing race using a suitable bearing installer.

  4. Object Number: 760965  Size: SH

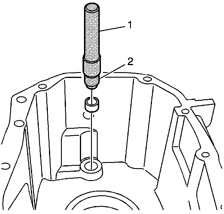
    Important: When installing the front shift shaft bushing into the clutch housing, ensure the bushing split line is not aligned with the hydrolock in the clutch housing.

  5. Using the J 36798  (2) with the bushing side against the bushing, and the J 36190  (1), install the shift shaft bushing in the clutch housing.

  6. Object Number: 760967  Size: SH
  7. Using the J 36798 with the stake side of the J 36798-2 against the bushing, and the J 36190 , stake the bushing in place.
  8. Inspect the bushing for proper installation by installing the main shift rail in the bushing. The shift rail should slide easily in the bushing.

  9. Object Number: 760922  Size: SH
  10. Install the vent, if removed. The vent taps into the clutch housing.