GM Service Manual Online
For 1990-2009 cars only

Tools Required

    • J 36190 Universal Drive Handle
    • J 36511 Oil Plug Hex Bit
    • J 36798 Shift Rail Bushing Staking Tool
    • J 45379 Rear Seal Installer

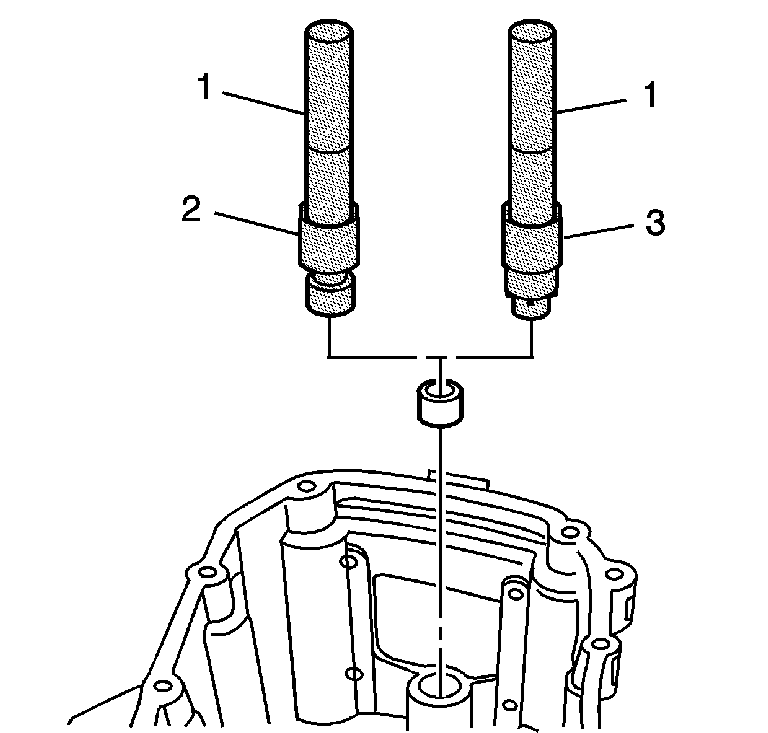
    Object Number: 738095  Size: SH
  1. Using the J 36190  (1) and the J 36798  (2), install the rear shift shaft bushing into the rear case.
  2. • Install the bushing on the J 36798-2 (2) with the collar end to hold the bushing.
    • Turn the J 36798-2 (3) over and stake the bushing with the stake end.

    Object Number: 144192  Size: SH
  3. Install the shift shaft support and retaining ring into the rear case.

  4. Object Number: 775709  Size: SH

    Important: Prior to installing the slip yoke oil seal, apply petroleum jelly between the lips of the seal.

  5. Using the J 45379 , install the slip yoke oil seal into the rear case.

  6. Object Number: 144195  Size: SH
  7. Apply pipe sealant GM P/N 12346004 (Canadian P/N 10953480) or equivalent, to the threads of the oil drain plug.
  8. Notice: Refer to Fastener Notice in the Preface section.

  9. Using the J 36511 , install the oil drain plug into the rear case.
  10. Tighten
    Tighten the oil drain plug to 30 N·m (22 lb ft).