GM Service Manual Online
For 1990-2009 cars only
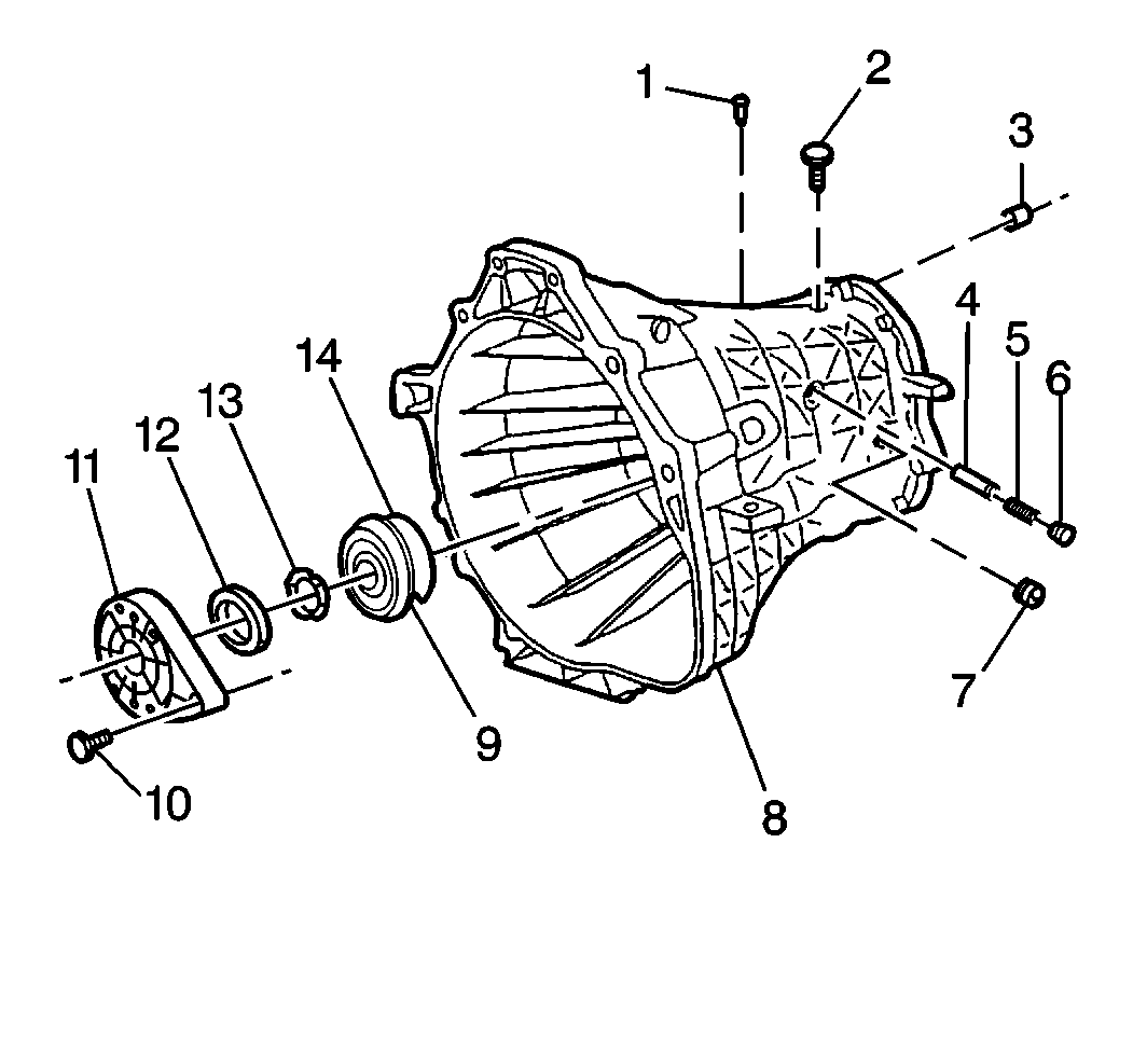
Figure 1:

Front Housing Assembly


Object Number: 155493  Size: SH
(1)Vent
(2)Shift Shaft Detent Pin
(3)Shift Rail Bearing
(4)Shift Shaft Detent Plunger
(5)Shift Shaft Detent Spring
(6)Shift Shaft Detent Plug
(7)Oil Fill Plug
(8)Clutch Housing
(9)Mainshaft Gear Retaining Ring
(10)Input Shaft Bearing Retainer Bolt
(11)Input Shaft Bearing Retainer
(12)Input Shaft Seal
(13)Input Shaft Retaining Ring
(14)Input Shaft Bearing
Figure 2:

Rear Housing Assembly


Object Number: 760897  Size: SH
(1)Shift Shaft Socket
(2)Shift Shaft Bushing Retaining Ring
(3)Shift Shaft Bushing
(4)Vehicle Speed Sensor O-Ring Seal
(5)Vehicle Speed Sensor
(6)Back Up Lamp Switch
(7)Rear Case
(8)Extension Bushing
(9)Mainshaft Seal
(10)Oil Drain Plug
(11)Shift Shaft Pin
(12)Fifth and Reverse Shift Fork
(13)First and Second Shift Fork
(14)Shift Shaft Pin
(15)Shift Shaft Lever
(16)Shift Rail Bushing
(17)Third and Fourth Shift Fork
(18)Shift Shaft
(19)Dowel Pin
(20)Shift Rail Bearing
Figure 3:

Shift Lever Assembly


Object Number: 155496  Size: SH
(1)Shift Lower Lever Assembly
(2)Shift Lower Lever Assembly Seal
(3)Lower Ball Isolator
(4)Shift Lever Housing Bolt
Figure 4:

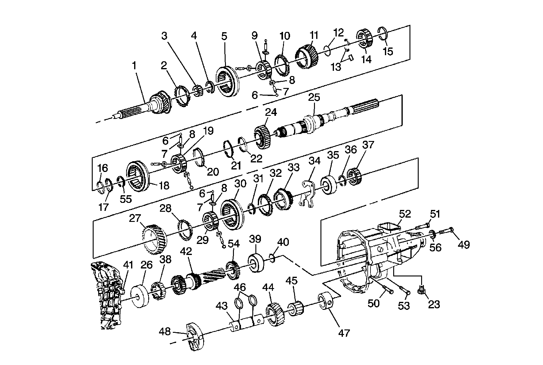
Transmission Gear Components


Object Number: 143295  Size: MF
(1)Input Shaft
(2)4th Gear Synchronizer Blocking Ring
(3)Mainshaft Front Bearing
(4)3rd/4th Gear Synchronizer Retaining Ring
(5)Synchronizer 3rd/4th Sleeve
(6)Synchronizer Detent Ball
(6)Synchronizer Detent Ball
(6)Synchronizer Detent Ball
(7)Synchronizer Detent Spring
(7)Synchronizer Detent Spring
(7)Synchronizer Detent Spring
(8)Synchronizer Insert
(8)Synchronizer Insert
(8)Synchronizer Insert
(9)3rd/4th Synchronizer Hub
(10)Synchronizer Blocking Ring
(11)3rd Speed Gear
(12)2nd/3rd Gear Thrust Washer Retaining Ring
(13)2nd/3rd Gear Thrust Washer
(14)2nd Speed Gear Assembly
(15)2nd Gear Inner Cone
(16)2nd Gear Middle Cone
(17)2nd Gear Synchronizer Blocking Ring
(18)1st/2nd Synchronizer Sleeve
(19)1st/2nd Synchronizer Hub
(20)1st Gear Synchronizer Blocking Ring
(21)1st Gear Middle Cone
(22)1st Gear Inner Cone
(23)Drain Plug
(24)1st Speed Gear
(25)Mainshaft
(26)Countershaft Front Bearing Race
(27)Reverse Speed Gear
(28)Reverse Gear Synchronizer Blocking Ring
(29)5th/Reverse Synchronizer Hub
(30)5th/Reverse Synchronizer Sleeve
(31)5th/Reverse Gear Synchronizer Retaining Ring
(32)5th Gear Synchronizer Blocking Ring
(33)5th Speed Gear
(34)Mainshaft Bearing Retainer
(35)Mainshaft Rear Bearing
(36)Mainshaft Gear Retaining Ring
(37)Vehicle Speed Sensor Reluctor Wheel
(38)Countershaft Front Bearing
(39)Countershaft Rear Bearing
(40)Countershaft Rear Bearing Retaining Ring
(41)Clutch Housing
(42)Countershaft
(43)Reverse Idler Shaft
(44)Reverse Idler Gear
(45)Reverse Idler Gear Bearing
(46)Reverse Idler Gear Shaft Seal
(47)Reverse Idler Shaft Support Collar
(48)Reverse Idler Gear Shaft Retainer
(49)Front Mainshaft Bearing Retainer Bolt (5)
(50)Idler Shaft Support Bolt
(51)Case Bolt (9)
(52)Rear Case
(53)Reverse Idler Shaft Collar Bolt
(54)5th Counter Gear
(55)1st/2nd Gear Synchronizer Retaining Ring
(56)Mainshaft Bearing Retainer Bolt Seal (5)