GM Service Manual Online
For 1990-2009 cars only

    Object Number: 1216918  Size: SH
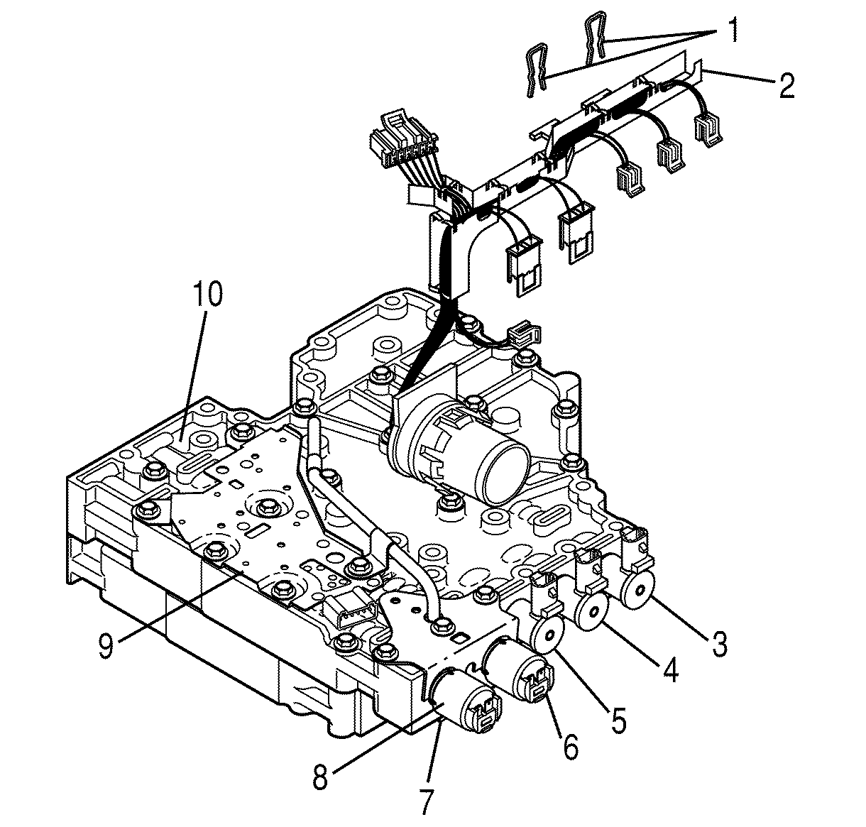
  1. Using a 30-32 mm (1 3/16 inch) deep well socket or box end wrench, depress the four tabs on internal wiring harness connector (1). With the tabs depressed, gently pop the connector into and through main housing (2) with the palm of the hand.

  2. Object Number: 1216919  Size: SH
  3. Disconnect internal wiring harness (2) from the following components:
  4. • A trim solenoid (8)
    • C ON/OFF shift solenoid (7).
    • B trim solenoid (6)
    • E ON/OFF shift solenoid (5)
    • D ON/OFF shift solenoid (4)
    • F trim solenoid (3)
    • Pressure switch assembly (9)
  5. Remove solenoid retainers (1) from solenoids (4) and (5).
  6. Remove internal wiring harness (2) from main valve body (10).
  7. Install solenoid retainers (1).