GM Service Manual Online
For 1990-2009 cars only

Important: 

   • Replace the needle bearing if the bearing is damaged.
   • The only time the stator shaft is pressed from the oil pump cover assembly is to replace the stator shaft.
   • The new stator shaft comes with a pre-installed bushing.
   • The bearing must be removed to replace the stator shaft. If the stator shaft and the bearing both need replacing, replace the stator shaft first.
        Replace the stator shaft if the specifications are not met.


    Object Number: 1217043  Size: SH
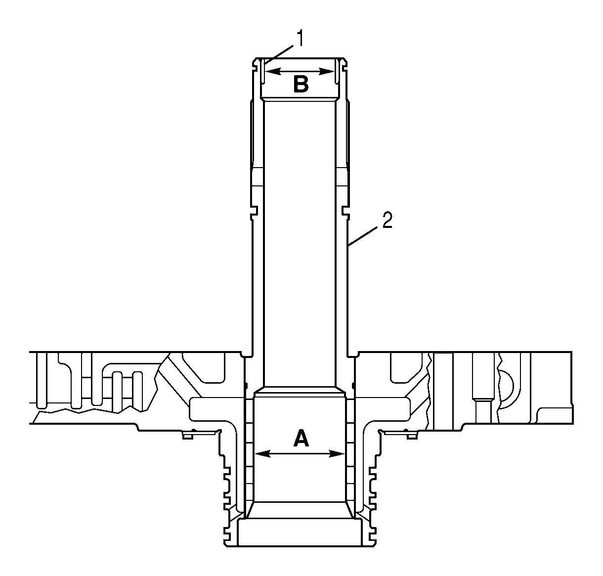
  1. Inspect the splines of the stator shaft (1) for damage and wear. Replace the stator shaft if there is any visible wear.

  2. Object Number: 1217044  Size: SH

    Important: 

       • The stator shaft bushing and bearing are replaced with the stator shaft installed in the oil pump cover assembly.
       • Replace the stator shaft if the stator shaft splines or seal ring bore specification is not met.

  3. Measure the inside diameter (ID) of the stator shaft (2) at dimension A, the turbine shaft seal ring bore.
  4. Specification
    Stator shaft maximum ID is 45.450 mm (1.789 in).

    Important: Replace the bushing if the bushing is damaged or the ID specification is not met.

  5. Measure the ID of the stator shaft bushing (1) at dimension B.
  6. Specification
    Stator shaft bushing maximum ID is 33.820 mm (1.3315 in).