GM Service Manual Online
For 1990-2009 cars only

Tools Required

J 43765 Stator Shaft Installer/Remover

Removal Procedure


    Object Number: 1217384  Size: SH

    Important: Remove the needle bearing only if replacing both the bearing and the stator shaft.

  1. Position the oil pump cover assembly (2) on a press bed so that the assembly is supported by wooden blocks and the stator shaft is facing down.
  2. Install the short end of J 43765-2 remover (1) into the rear of the oil pump cover assembly.
  3. Press the stator shaft from the oil pump cover assembly (2).

Installation Procedure


    Object Number: 1217524  Size: SH
  1. Position the oil pump cover (2) on the work table so that the rear hub is facing down.
  2. Align the stator shaft with the oil pump cover so that the stator shaft is centered over the oil pump cover and the rear of the stator shaft is facing down.

  3. Object Number: 1217048  Size: SH

    Important: The arrows on the drawing indicate the holes that must be aligned.

  4. Rotate the stator shaft (1) until the lowest and smallest hole in the stator shaft is aligned with the fluid passage (2).
  5. Gently tap the stator shaft into the oil pump cover until the oil pump cover holds the ground sleeve in a vertical position.

  6. Object Number: 1217632  Size: SH
  7. Align J 43765-1 protector (1) so that the lip of the tool is downward.
  8. Install J 43765-1 protector (1) onto the stator shaft.

  9. Object Number: 1217047  Size: SH
  10. While holding J 43765-1 protector (3) in place, turn over the oil pump cover assembly (2) and place J 43765-1 on a press.
  11. Install J 43765-3 installer (1) into the rear hub of the oil pump cover assembly (2).
  12. Press on J 43765-3 installer (1) until the stator shaft seats.

  13. Object Number: 1217049  Size: SH
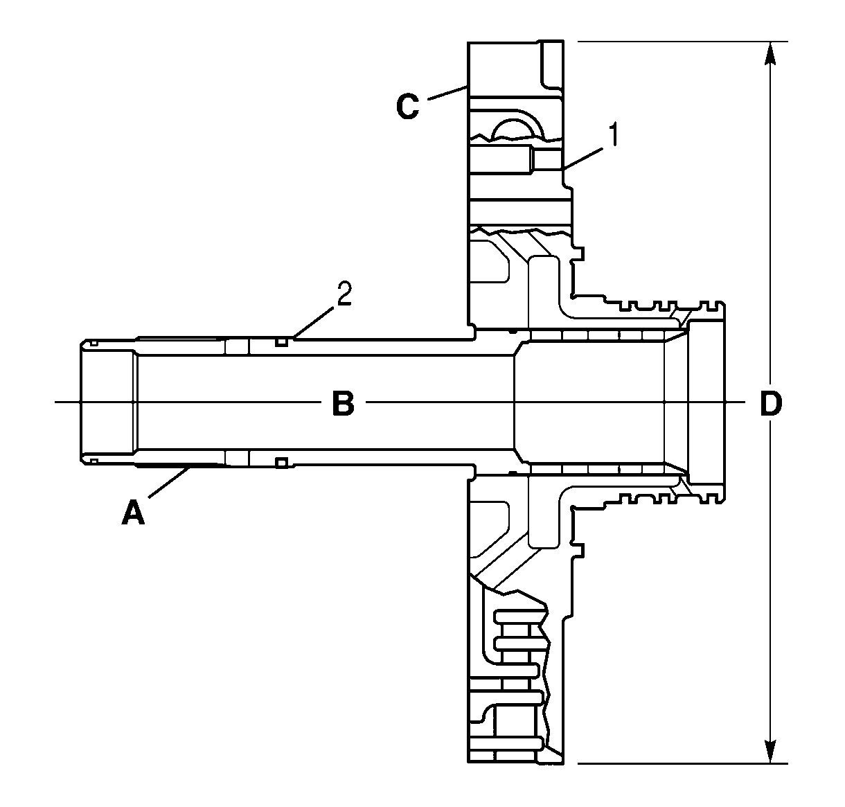
  14. Check the total indicated runout (TIR) of the stator shaft as follows:
  15. 10.1. Install the oil pump cover assembly (1) in a lathe, clamping on dimension D.
    10.2. Use a dial indicator, to make sure the oil pump cover surface C is square with the dimension D.
    10.3. Check the TIR along the stator shaft axis B at the stator shaft pitch diameter A.

    Specification
    The TIR must not exceed 0.20 mm (0.008 in).

    10.4. Remove the oil pump cover assembly from the lathe.