GM Service Manual Online
For 1990-2009 cars only

    Object Number: 1217166  Size: SH

    Important: Make the following measurements at 3 or more locations. Replace any parts not meeting specifications.

  1. Measure the thickness of each 3rd, 5th, and reverse clutch fiber plate (1) at dimension A.
  2. Specification
    The 3rd, 5th, and reverse clutch fiber plate minimum thickness is 2.375 mm (0.093 in).

  3. Measure the oil groove depth of each 3rd, 5th, and reverse clutch fiber plate at dimension B.
  4. Specification
    The 3rd, 5th, and reverse clutch fiber plate minimum groove depth is 0.200 mm (0.0079 in).


    Object Number: 1217168  Size: SH

    Important: Check the plates for coning on a level surface.

  5. Measure the cone of each 3rd, 5th, and reverse clutch fiber plate (1).
  6. Specification
    The 3rd, 5th, and reverse clutch fiber plate maximum cone is 0.225 mm (0.0089 in).


    Object Number: 1217179  Size: SH
  7. Measure the thickness of each 3rd, 5th, and reverse clutch steel plate (1) at dimension A.
  8. Specification
    The 3rd, 5th, and reverse clutch steel plate minimum thickness is 2.440 mm (0.096 in).


    Object Number: 1217181  Size: SH

    Important: Check the plates for coning on a level surface.

  9. Measure the cone of each 3rd, 5th, and reverse clutch steel plate (1) at dimension A.
  10. Specification
    The 3rd, 5th, and reverse clutch steel plate maximum cone is 0.400 mm (0.015 in).


    Object Number: 1217036  Size: SH
  11. Measure the thickness of the 3rd, 5th, and reverse clutch spring plate (1) at dimension A.
  12. Specification
    The 3rd, 5th, and reverse clutch spring plate minimum thickness is 3.110 mm (0.1224 in).


    Object Number: 1217711  Size: SH
  13. Measure the cone of the 3rd, 5th, and reverse clutch spring plate (1) at dimension A.
  14. Specification
    The 3rd, 5th, and reverse clutch spring plate maximum cone is 0.400 mm (0.0157 in).


    Object Number: 1217226  Size: SH
  15. Measure the thickness of the 3rd, 5th, and reverse clutch backing plate (1) at dimension C.
  16. Specification
    The 3rd, 5th, and reverse clutch backing plate minimum thickness is 15.325 mm (0.6033 in).

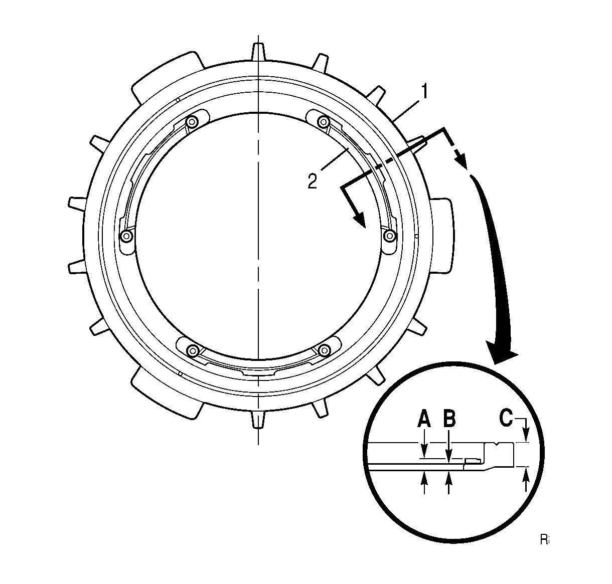
  17. Measure the distance from the top of the thrust plate (2) to the bottom of the 3rd, 5th, and reverse clutch plate inner rim at dimension A.
  18. Measure the thickness of the 3rd, 5th, and reverse clutch plate inner rim at dimension B.
  19. Calculate the thickness of the thrust plate by subtracting Dimension B from Dimension A.
  20. Specification
    The thrust plate minimum thickness is 3.000 mm (0.1181 in).

    Important: Check the plates for coning on a level surface.

  21. Measure the cone of the 3rd, 5th, and reverse clutch backing plate (1).
  22. Replace the backing plate if any cone is present.