GM Service Manual Online
For 1990-2009 cars only

Tools Required

J 33163 Valve Tray Set


    Object Number: 1276840  Size: SH
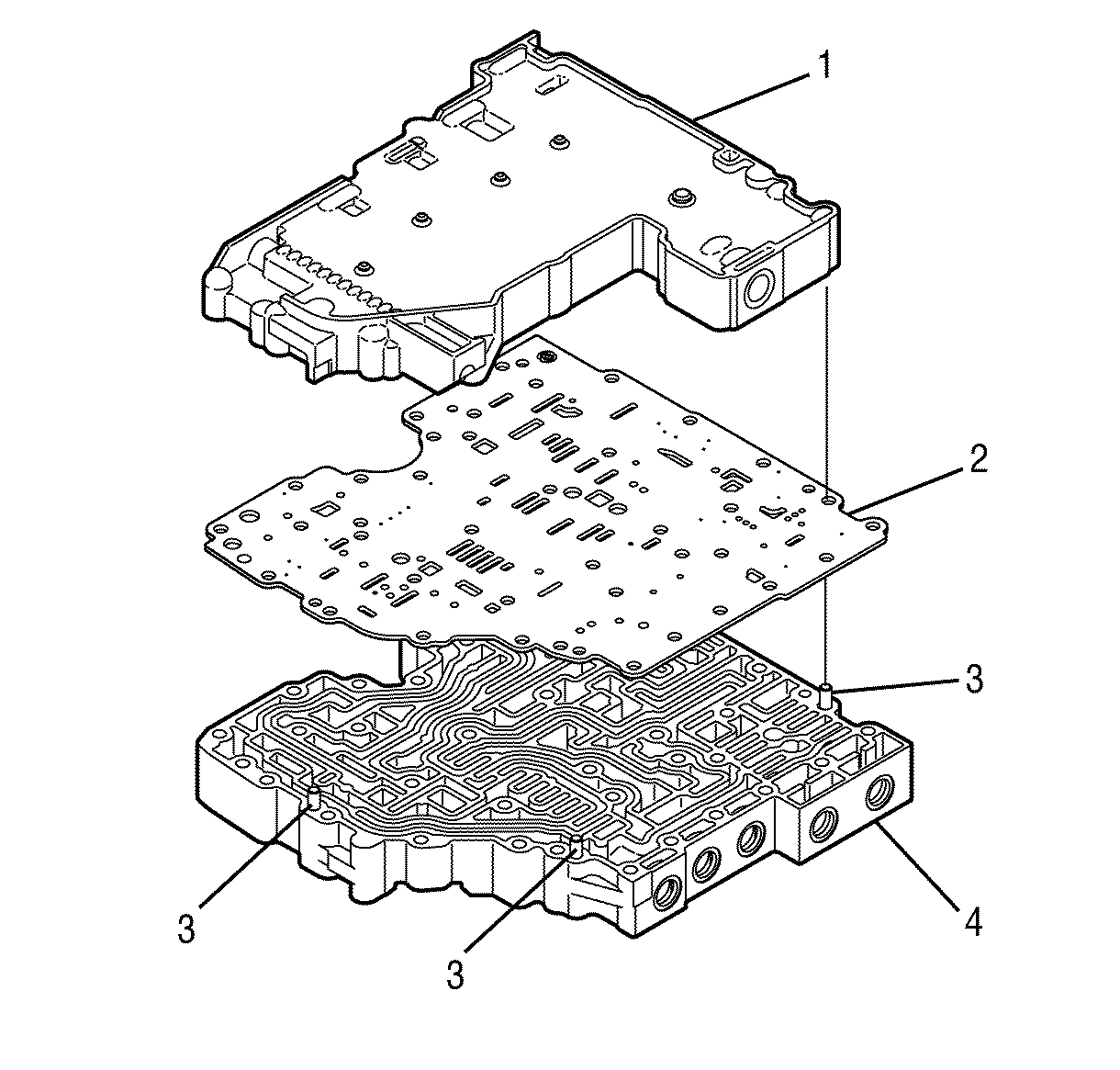
  1. Position main valve body assembly (4) on the work table so that the worm-track side is up.
  2. Align separator plate (2) with main valve body dowel pins (3).
  3. Install separator plate (2).
  4. Align shift valve body assembly (1) with main valve body dowel pins (3).
  5. Install the shift valve body assembly onto the separator plate.

  6. Object Number: 795146  Size: SH
  7. Position the control valve assembly on the work table so that the main valve body is facing up.
  8. Install fourteen bolts (1) retaining the valve bodies together.
  9. Tighten
    Tighten the bolts to 12 N·m (9 lb ft).


    Object Number: 795143  Size: SH
  10. Position the control valve assembly on the work table so that the shift valve body is up.
  11. Important: 

       • O-ring (4) is slightly larger than O-ring (3).
       • P/N 29536833 is printed on C ON/OFF shift solenoid (5).

  12. Install solenoid O-ring (4) onto C ON/OFF shift solenoid (5).
  13. Install solenoid O-ring (3) onto C ON/OFF shift solenoid (5).
  14. Align C ON/OFF shift solenoid (5) so that the electrical connector points away from the nearest dowel pin and is parallel to the separator plate as shown.

  15. Object Number: 795140  Size: SH
  16. Position the control valve assembly on the work table so that main valve body (16) is facing up.
  17. Important: P/N 29533074 is printed on the A trim solenoid.

  18. Install solenoid O-ring (14) onto A trim solenoid (15).
  19. Important: P/N 29533075 is printed on the B trim solenoid.

  20. Install solenoid O-ring (8) onto B trim solenoid (9).
  21. Install spring (10) , A trim valve (11), spring (12), and trim gain valve (13).
  22. Install spring (5), B trim valve (6) and trim gain valve (7).
  23. Install A trim solenoid (15) so that the electrical connection faces up. Do not seat the solenoid.
  24. Install B trim solenoid (9) so the electrical connection faces up. Do not seat the solenoid.
  25. Align two accumulator plugs (3) so that their spring bores face up.
  26. Install two accumulator plugs (3 and two accumulator springs (2).
  27. Push the A and B trim solenoids into their bores until the solenoids seat.
  28. Align A/B solenoid bracket (1) with main valve body dowel pin (4).
  29. Install A/B solenoid bracket (10 so that the A and B trim solenoids, the accumulator plugs, and the accumulator springs are retained against the valve body.

  30. Object Number: 795119  Size: SH
  31. Install three bolts (1) retaining A/B solenoid bracket (2).
  32. Tighten
    Tighten bolts (1) to 12 N·m (9 lb ft).


    Object Number: 795118  Size: SH

    Important: 

       • The solenoid O-rings are brown.
       • O-ring (3) is slightly larger than O-ring (2).
       • P/N 29536833 is printed on the E ON/OFF shift solenoid.

  33. Install solenoid O-ring (3) onto E ON/OFF shift solenoid (4).
  34. Install solenoid O-ring (2) onto E ON/OFF shift solenoid (4).
  35. Install E ON/OFF shift solenoid (4) so that the electrical connection faces up. seat the solenoid.
  36. Install solenoid retainer (1).

  37. Object Number: 795117  Size: SH

    Important: 

       • The solenoid O-rings are brown.
       • O-ring (3) is slightly larger than O-ring (2).
       • P/N 29536833 is printed on the D ON/OFF shift solenoid.

  38. Install solenoid O-ring (3) onto D ON/OFF shift solenoid (4).
  39. Install solenoid O-ring (2) onto D ON/OFF shift solenoid (4).
  40. Install E ON/OFF shift solenoid (4) so that the electrical connection faces up. seat the solenoid.
  41. Install solenoid retainer (1).

  42. Object Number: 795114  Size: SH

    Important: 

       • The solenoid O-rings are brown.
       • O-ring (6) is slightly larger than O-ring (5).

  43. Install solenoid O-ring (6) onto F ON/OFF shift solenoid (7).
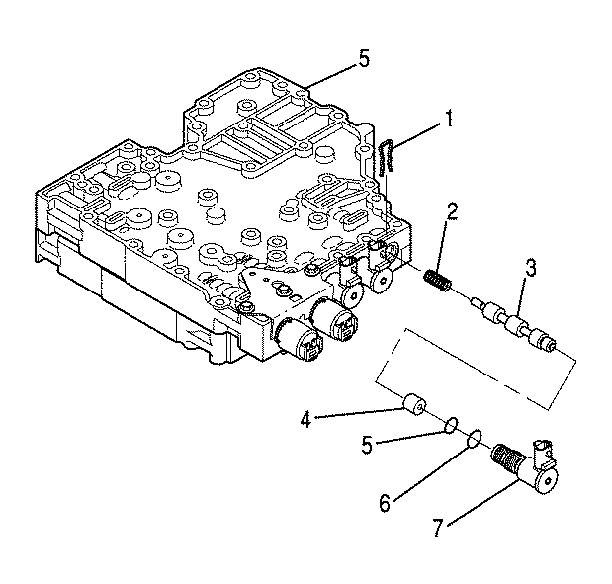
  44. Install solenoid O-ring (5) onto F ON/OFF shift solenoid (7).
  45. Install F trim spring (2).
  46. Install F trim valve (3)
  47. Install F trim sleeve (4)
  48. Align F trim solenoid (7) so that the electrical connection faces up.
  49. Install F trim solenoid F. Seat the solenoid.
  50. Install solenoid retainer (1).

  51. Object Number: 795112  Size: SH
  52. Align the bolts holes and alignment tabs of pressure switch assembly (1) with the pressure switch assembly holes in main valve body (1).
  53. Install pressure switch assembly (1) onto main valve body (3).
  54. Install reverse signal tube (2) onto the main valve body.

  55. Object Number: 795110  Size: SH

    Important: Seven bolts retain the reverse signal tube and the pressure switch assembly.

       • Bolt (2) is slightly longer than the other bolts (1).
       • The pressure switch assembly is retained by five bolts (1) and by bolt (2).
       • The reverse signal tube is retained by one bolt (1) and by bolt (2).

  56. Install six bolts (1) and one bolt (2) retaining the reverse signal tube and the pressure switch assembly to the main valve body.
  57. Tighten
    Tighten bolts (1) and bolt (2) to 12 N·m (9 lb ft).