GM Service Manual Online
For 1990-2009 cars only

Tools Required

    • J 24204-2 Bar and Stud Assembly
    • J 36850 Transjel® Lubricant
    • J 44530 3rd, 5th, and Reverse Clutch / 2nd Clutch Piston Spring Compressor

    Object Number: 1216957  Size: SH
  1. Position the transmission case so that the rear of the case is facing up.
  2. Apply J 36850 or an equivalent lubricant to the inside and outside diameters of the new 2nd clutch piston assembly (1).
  3. Align the new 2nd clutch piston assembly (1) so that the seal is facing down and the 1.016 mm (0.040 in) lubrication/cooling orifice is positioned at the top of the transmission case.
  4. Install the 2nd clutch piston assembly (1).
  5. Gently tap the piston until the piston seats.

  6. Object Number: 1216956  Size: SH
  7. Align the input internal ring gear (1) so that the outside splines are facing down.
  8. Install the input internal ring gear (1).
  9. Rotate the ring gear until the 3rd, 5th, and reverse fiber plates are engaged.
  10. Make sure the input internal ring gear (1) is seated against the thrust plates of the 3rd, 5th, and reverse clutch backing plate assembly.

  11. Object Number: 1216948  Size: SH
  12. Install the input carrier module (2).
  13. Rotate the input carrier module until the module drops into place.
  14. Notice: Installing the thrust bearing incorrectly may cause permanent damage to the transmission.

  15. Align the thrust bearing (1) so that the blue stripe on the thrust bearing is facing away from the input carrier module (2).
  16. Install the thrust bearing (1) onto the input carrier module (2).

  17. Object Number: 1216955  Size: SH

    Important: The spring assemblies can be reused. If necessary, squeeze the spring assembly tabs with pliers to make sure the spring assemblies snap onto the 2nd clutch spring plate.

  18. Install 3 piston return spring assemblies (1) onto the 2nd spring plate (2).

  19. Object Number: 1216952  Size: SH
  20. Align the 2nd clutch spring plate (4) and the piston return spring assemblies (3) with the spring assemblies up.
  21. Install the spring plate (4) into the transmission case.
  22. Starting with a 2nd clutch fiber plate, alternately install five 2nd clutch fiber plates (1) and four 2nd clutch steel plates (2).

  23. Object Number: 1216953  Size: SH
  24. Install the 2nd clutch backing plate (1).
  25. Notice: Refer to 3-5 Reverse Clutch Backing Plate Rivet Damage Notice in the Preface section.


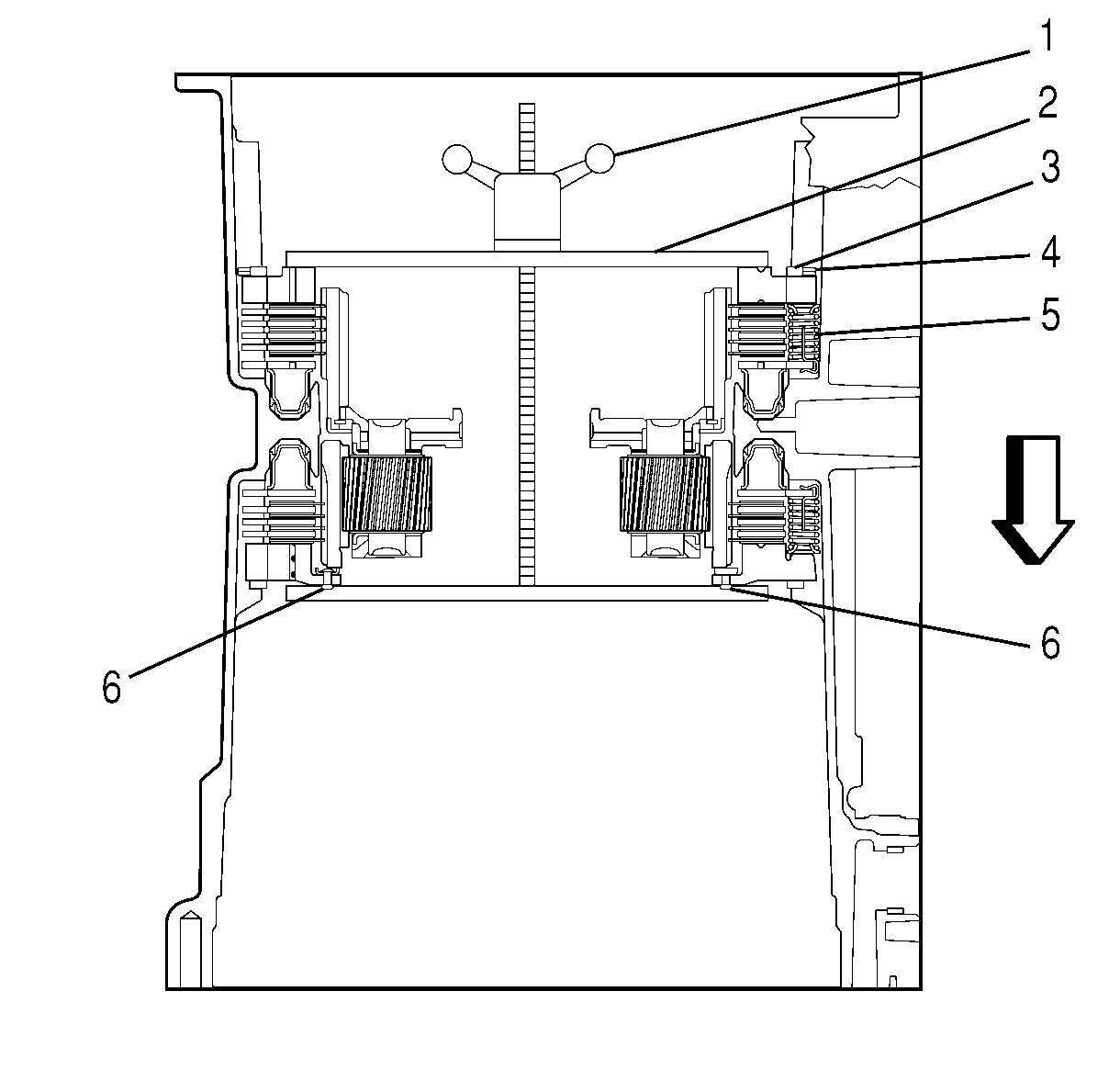
    Object Number: 1216951  Size: SH
  26. The threaded rod of J 24204-2 must pass through but not touch the bushing.
  27. Install J 24204-2  (1) and J 44530  (2) into the transmission case.
  28. Make sure J 24204-2 does not touch the gear thrust plate rivets (6) on the 3rd, 5th, and reverse clutch backing plate assembly.
  29. Compress the piston return spring assemblies (5) until the retaining ring groove is visible.
  30. Important: The outer 2nd clutch retaining ring is thinner and larger in circumference compared to the inner low and reverse clutch retaining ring.

  31. Install the 2nd clutch retaining ring (4).
  32. Important: Position the 2nd clutch and the low and reverse clutch retaining ring gaps 180 degrees apart.

  33. Install the low and reverse clutch retaining ring (3) with the retaining ring gap 180 degrees from the 2nd clutch retaining ring gap.
  34. Important: DO NOT damage the input carrier bushing when removing J 24204-2 from the transmission case. The threaded rod of J 24204-2 must pass through but not touch the bushing.

  35. Remove J 24204-2 and J 44530 from the transmission case.