GM Service Manual Online
For 1990-2009 cars only

Info - New Input and Third Pawl Clutch Assembly Changes for the 4T65-E Transmissions for 2003 Model Year

Subject:New Input and Third Pawl Clutch Assembly Changes for the 4T65-E Transmission for 2003 Model Year

Models:2003 Buick Park Avenue, Regal, Rendezvous
2003 Chevrolet Venture
2003 Oldsmobile Silhouette
2003 Pontiac Aztek, Bonneville, Grand Prix, Montana
with 4T65-E Transaxle (RPOs MN7, M76)



Some applications of 4T65-E transaxles, (RPOs MN7 and M76) will have a newly designed Input and Third Pawl Clutch Assembly instead of the Input and Third Sprag Clutch.


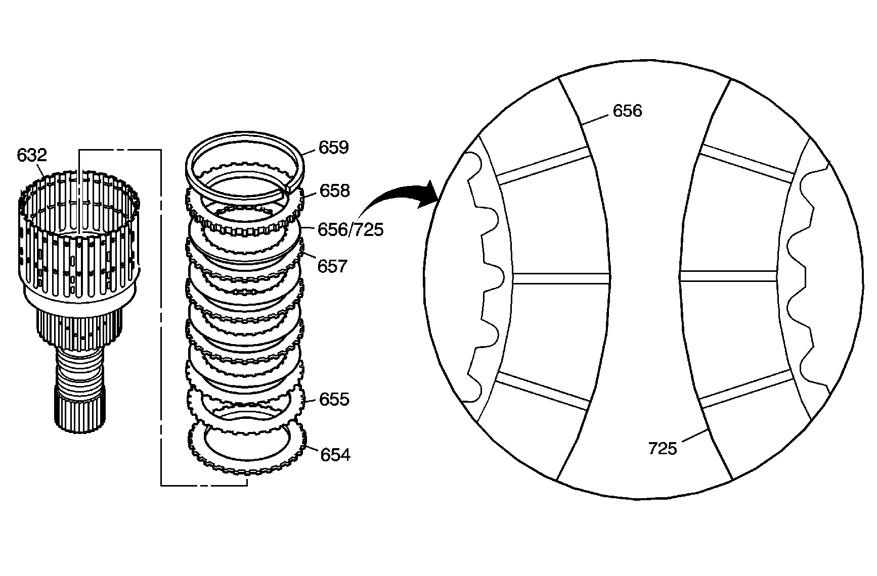
Object Number: 924763  Size: MF

The 4T65-E transaxle may have either an Input and Third Sprag Clutch (653), or the new Input and Third Pawl Clutch Assembly (727, 728).


Object Number: 924765  Size: MF

The Input and Third Sprag Clutch Assembly (665) have 32 Splines. The fiber plates (656) of the clutch have 32 notches to fit over the spline teeth.

The new Input and Third Clutch Pawl Assembly (728) has 30 Splines. The fiber plates (725) of the clutch will have 30 notches to fit over the spline teeth.

The following Notice will be found in the transmission repair packages for these transmissions. Please read the Notice and adhere to its message.

Notice: To maintain proper operating clearances within the transaxle, these parts must be used as a set. Do not mix these parts with any of the parts being removed from the vehicle. Failure to use the parts in the service package as instructed will cause improper function and possible transaxle distress.