GM Service Manual Online
For 1990-2009 cars only
Figure 1:

Upper Intake Manifold and Components


Object Number: 1326764  Size: LF
(305)Thermostat Bypass Hose Clamp
(305)Thermostat Bypass Hose Clamp
(306)Thermostat Bypass Hose
(307)Thermostat Bypass Pipe Seal
(308)Thermostat Bypass Pipe Bolt - to Front Cover
(309)Thermostat Bypass Pipe
(310)Thermostat Bypass Pipe Nut
(500)Upper Intake Manifold
(501)Upper Intake Manifold Stud
(503)Accelerator Control Cable Bracket
(504)Idle Air Control Valve
(505)MAP Sensor Bracket
(506)MAP Sensor
(507)Throttle Position Sensor
(508)Upper Intake Manifold Bolt
(509)Spark Plug Wire Support Bracket
(513)Throttle Body Gasket
(514)Throttle Body
(515)Throttle Body Bolt
(516)Upper Intake Manifold Gasket
(524)Idle Air Control Valve Bolt
(525)Valve Rocker Cover Seal
(526)Valve Rocker Cover
(530)Oil Fill Cap
(531)PCV Valve
(533)PCV Tube - Foul Air
(535)Throttle Position Sensor Bolt
(545)Oil Fill Cap Seal
(550)Throttle Body Stud
(552)Throttle Body Heater Hose - Outlet
(553)Throttle Body Heater Hose - Inlet
(554)Throttle Body Heater Hose Clamp
(554)Throttle Body Heater Hose Clamp
(554)Throttle Body Heater Hose Clamp
(554)Throttle Body Heater Hose Clamp
(555)Accelerator Control Cable Bracket Bolt
(556)Accelerator Control Cable Bracket Nut
(610)Exhaust Crossover Pipe
(611)EGR Pipe Bolt - to EGR
(612)EGR Pipe
(613)EGR Valve Bolt
(614)EGR Valve
(615)EGR Valve Gasket - to Intake Manifold
(617)Exhaust Crossover Pipe Stud
(618)Exhaust Crossover Pipe Nut
(619)Exhaust Crossover Pipe Heat Shield
(620)Exhaust Crossover Pipe Heat Shield Bolt
(700)Ignition Coil Assembly
(701)Ignition Coil Assembly Stud
(702)Ignition Coil Assembly Nut
(703)Ignition Coil Assembly Bolt
(704)Spark Plug Wire Harness - Front
(705)Spark Plug Wire Support
(711)Ignition Coil
(715)Spark Plug Wire Harness - Rear
(716)Ignition Coil Bolt
(722)Wire Support Bracket
(723)Wire Support Bracket - SAI Only
(724)EVAP Purge Valve
(725)EVAP Purge Valve Bolt
(728)EVAP Purge Valve Bracket
Figure 2:

Lower Intake Manifold, Cylinder Head and Components


Object Number: 1326765  Size: LF
(200)Cylinder Head
(200)Cylinder Head
(201)Valve Seal
(202)Valve Spring
(203)Valve Spring Cap
(204)Valve Stem Key
(205)Valve Pushrod - Exhaust
(206)Valve Rocker Arm
(207)Valve Rocker Arm Bolt
(208)Cylinder Head Bolt - Medium
(209)Cylinder Head Bolt - Short
(212)Spark Plug
(213)Exhaust Valve
(214)Intake Valve
(215)Cylinder Head Gasket
(215)Cylinder Head Gasket
(216)Cylinder Head Locating Pin
(228)Drive Belt Tensioner Bolt
(229)Drive Belt Tensioner
(230)Generator Bracket Bolt - Short
(231)Generator Bracket Bolt - Medium
(232)Generator Bracket Bolt - Long
(233)Generator Bracket
(234)Engine Lift Bracket - Front
(238)Heater Inlet Pipe Stud
(239)Heater Inlet Pipe
(240)Heater Inlet Pipe Nut
(241)Heater Inlet Pipe Seal
(242)Cylinder Head Expansion Plug
(242)Cylinder Head Expansion Plug
(243)Valve Guide
(244)Valve Seat - Exhaust
(245)Valve Seat - Intake
(246)Valve Pushrod - Intake
(248)Cylinder Head Bolt - Long
(249)Engine Mount Strut and A/C Compressor Bracket Bolt - Short
(250)Engine Mount Strut and A/C Compressor Bracket
(251)Engine Mount Strut and A/C Compressor Bracket Bolt - Long
(252)Engine Mount Strut and Engine Lift Bracket
(253)Engine Mount Strut and Engine Lift Bracket Bolt
(254)Fuel Feed and Return Pipe Bracket
(255)Fuel Feed and Return Pipe Clip
(256)Fuel Feed and Return Pipe Clip Bolt
(312)Thermostat
(313)Thermostat Seal
(314)Water Outlet Housing
(315)Water Outlet Housing Bolt
(316)Water Outlet Housing Fitting
(517)Fuel Rail Bolt
(518)Fuel Rail
(519)Fuel Injector Seal
(519)Fuel Injector Seal
(520)Lower Intake Manifold Bolt - Long
(521)Lower Intake Manifold
(522)Lower Intake Manifold Bolt - Short
(523)Lower Intake Manifold Gasket
(525)Valve Rocker Cover Seal
(526)Valve Rocker Cover
(527)Valve Rocker Cover Bolt
(528)Valve Rocker Cover Bolt Grommet
(529)Vacuum Harness
(548)Fuel Injector Retaining Clip
(549)Fuel Injector
(557)Fuel Rail Service Port Cap
(558)Fuel Rail Service Port Schrader Valve
(559)Fuel Pressure Regulator
(560)Fuel Pressure Regulator Bolt
(561)Fuel Feed Pipe
(562)Ruel Return Pipe
(567)Fuel Feed Pipe Seal
(600)Exhaust Manifold - Left
(601)Exhaust Manifold - Right
(602)Exhaust Manifold Heat Shield - Right - Upper
(603)Exhaust Manifold Heat Shield Bolt
(603)Exhaust Manifold Heat Shield Bolt
(604)Exhaust Manifold Gasket
(604)Exhaust Manifold Gasket
(605)Exhaust Manifold Stud
(606)Heated Oxygen Sensor
(607)Exhaust Manifold Nut
(608)Exhaust Manifold Heat Shield - Left
(616)Exhaust Manifold Heat Shield - Right - Lower
(700)Ignition Coil Assembly
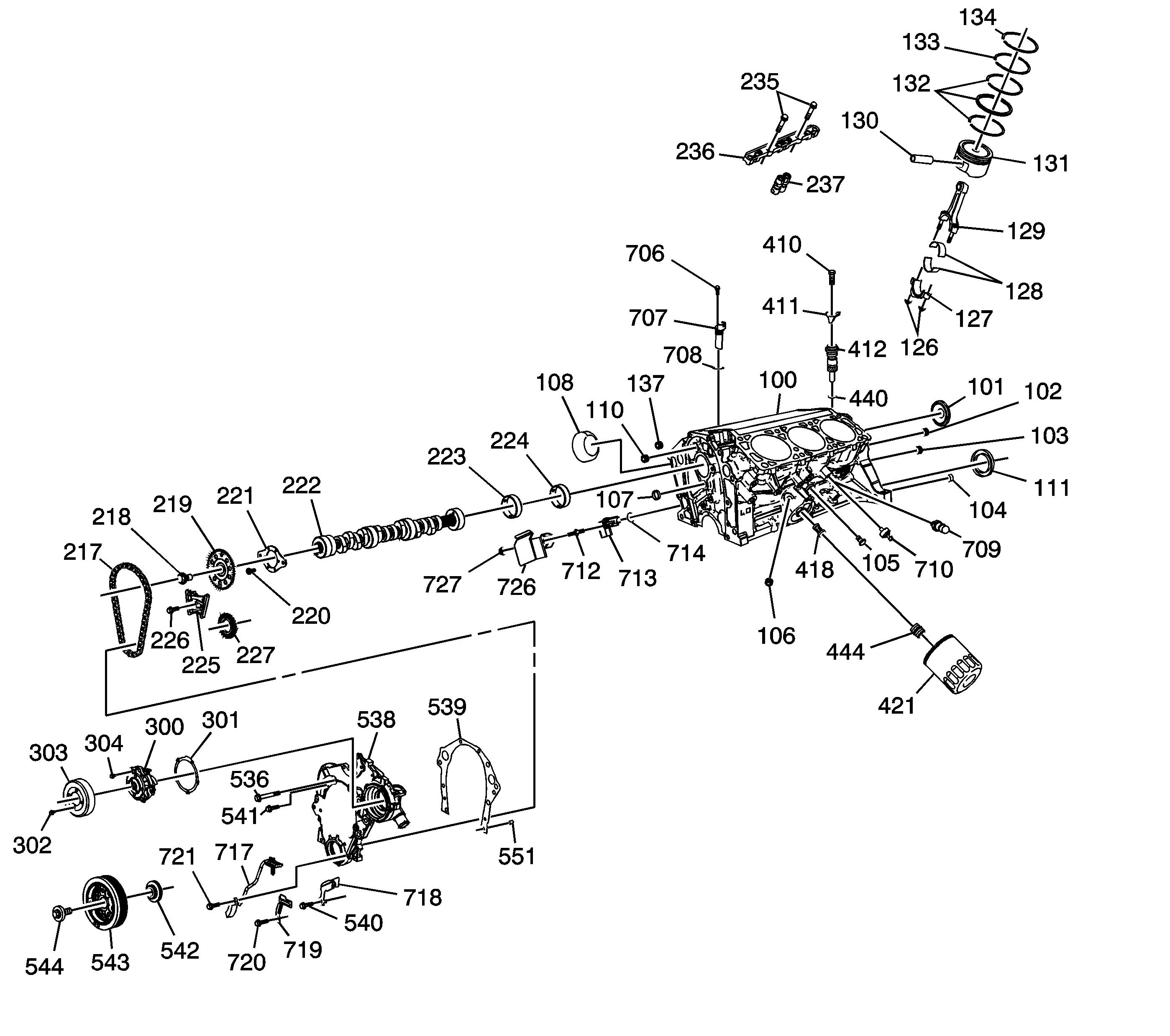
Figure 3:

Engine Block and Components


Object Number: 1326766  Size: LF
(100)Engine Block
(101)Camshaft Rear Bearing Hole Plug
(102)Engine Block Oil Gallery Plug - Rear - Large
(103)Engine Block Oil Gallery Plug - Rear - Small
(104)Transmission Locating Pin
(105)Engine Block Coolant Drain Hole Plug
(106)Oil Filter Bypass Hole Plug
(107)Engine Block Oil Gallery Plug - Front - Press Fit
(108)Engine Block Plug
(110)Engine Block Oil Gallery Plug - Front - Small
(111)Crankshaft Rear Oil Seal
(126)Connecting Rod Bearing Cap Nut
(127)Connecting Rod Bearing Cap
(128)Connecting Rod Bearing
(129)Connecting Rod
(130)Piston Pin
(131)Piston
(132)Piston Ring - Oil Control
(133)Piston Ring - Compression - Lower
(134)Piston Ring - Compression - Upper
(137)Engine Block Oil Gallery Plug - Front - Large
(217)Timing Chain
(218)Camshaft Sprocket Bolt
(219)Camshaft Sprocket
(220)Camshaft Thrust Plate Bolt
(221)Camshaft Thrust Plate
(222)Camshaft
(223)Camshaft Bearing - 1 and 4
(224)Camshaft Bearing - 2 and 3
(225)Timing Chain Dampener
(226)Timing Chain Dampener Bolt
(227)Crankshaft Sprocket
(235)Valve Lifter Guide Bolt
(236)Valve Lifter Guide
(237)Valve Lifter
(300)Water Pump
(301)Water Pump Gasket
(302)Water Pump Pulley Bolt
(303)Water Pump Pulley
(304)Water Pump Bolt
(410)Oil Pump Drive Bolt
(411)Oil Pump Drive Clamp
(412)Oil Pump Drive
(418)Oil Filter Bypass Valve
(421)Oil Filter
(440)Oil Pump Drive Seal
(444)Oil Filter Fitting
(536)Engine Front Cover Bolt - Large
(538)Engine Front Cover
(539)Engine Front Cover Gasket
(540)Engine Front Cover Bolt - Small
(541)Engine Front Cover Bolt - Medium
(542)Crankshaft Front Oil Seal
(543)Crankshaft Balancer
(544)Crankshaft Balancer Bolt
(551)Front Cover Locating Pins
(706)Camshaft Position Sensor Bolt
(707)Camshaft Position Sensor
(708)Camshaft Position Sensor Seal
(709)Engine Oil Pressure Sensor
(710)Knock Sensor
(712)Crankshaft Position Sensor Stud
(713)Crankshaft Position Sensor - Engine Block
(714)Crankshaft Position Sensor Seal
(717)Crankshaft Postion Sensor - Front Cover
(718)Crankshaft Postion Sensor Wire Harness Bracket - Small
(719)Crankshaft Position Sensor Wire Harness Bracket - Large
(720)Crankshaft Postion Sensor Wire Harness Bracket Bolt
(721)Crankshaft Postion Sensor Bolt - Front Cover
(726)Crankshaft Position Sensor Heat Shield
(727)Crankshaft Postion Sensor Heat Shield Nut
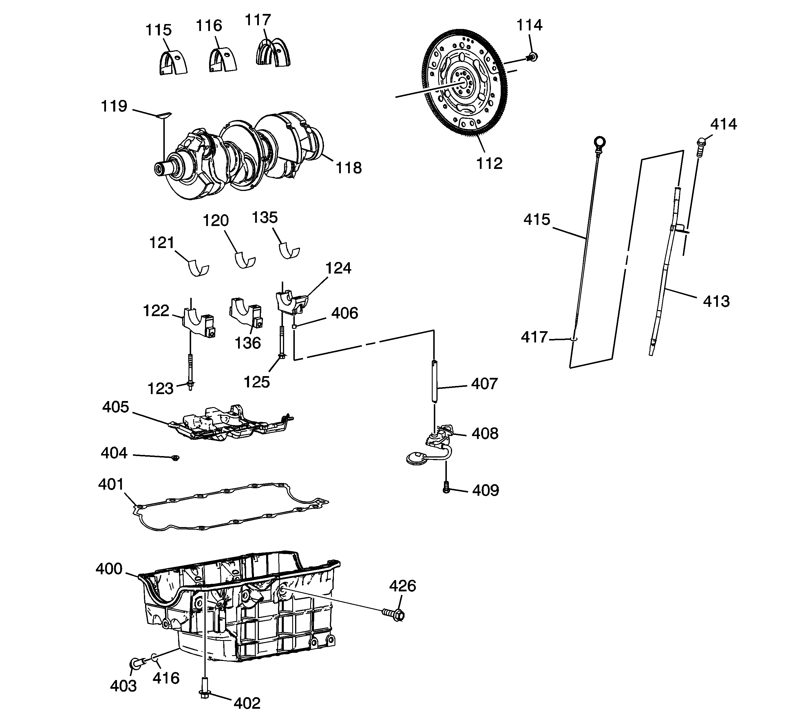
Figure 4:

Crankshaft and Components


Object Number: 1326767  Size: LF
(112)Flywheel
(114)Flywheel Bolt
(115)Crankshaft Upper Bearing - 1 and 4
(116)Crankshaft Upper Bearing - 2
(117)Crankshaft Upper Bearing - 3
(118)Crankshaft
(119)Crankshaft Balancer Key
(120)Crankshaft Lower Bearing - 2
(121)Crankshaft Lower Bearing - 1 and 4
(122)Crankshaft Bearing Cap - 1
(123)Crankshaft Bearing Cap Stud
(124)Crankshaft Bearing Cap - 4
(125)Crankshaft Bearing
(135)Crankshaft Lower Bearing - 3
(136)Crankshaft Bearing Cap - 2 and 3
(400)Oil Pan
(401)Oil Pan Gasket
(402)Oil Pan Bolt - to Engine Block
(403)Oil Pan Drain Plug
(404)Crankshaft Oil Deflector Nut
(405)Crankshaft Oil Deflector
(406)Oil Pump Locating Pin
(407)Oil Pump Shaft
(408)Oil Pump
(409)Oil Pump Bolt
(413)Oil Level Indicator Tube
(414)Oil Level Indicator Tube Bolt
(415)Oil Level Indicator
(416)Oil Pan Drain Plug Seal
(417)Oil Level Indicator Seal
(426)Oil Pan Bolt - Side of Pan