GM Service Manual Online
For 1990-2009 cars only

Removal Procedure

    Caution: Refer to Brake Dust Caution in the Preface section.

    Notice: Support the brake caliper with heavy mechanic wire, or equivalent, whenever it is separated from its mount and the hydraulic flexible brake hose is still connected. Failure to support the caliper in this manner will cause the flexible brake hose to bear the weight of the caliper, which may cause damage to the brake hose and in turn may cause a brake fluid leak.

  1. Remove the caliper from the mounting bracket and support the caliper with heavy mechanic's wire, or equivalent. It is not necessary to disconnect the hydraulic brake flexible hose from the caliper. Refer to Rear Brake Caliper Replacement .
  2. Remove the rear brake pads.

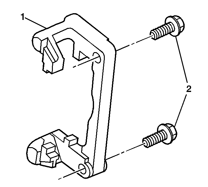
  3. Object Number: 785076  Size: SH
  4. Remove the caliper bracket bolts (2).
  5. Remove the caliper bracket (1).

Installation Procedure


    Object Number: 785076  Size: SH

    Important: To ensure that the proper clamp load will be present when installed. It is imperative that the threads on the caliper bracket bolts, as well as the mounting holes in the knuckle, be cleaned of all debris and inspected before proceeding with installation.

  1. Clean and visually inspect the threads of the caliper bracket bolts (2) and mounting holes in the knuckle.
  2. Apply threadlocker, GM P/N 12345493 (Canadian P/N 10953488), or equivalent, to the threads of the brake caliper bracket bolts (2).
  3. Notice: Refer to Fastener Notice in the Preface section.

  4. Install the caliper bracket (1) with the bracket bolts (2).
  5. Tighten
    Tighten the caliper bracket bolts to 130 N·m (96 lb ft).

  6. Install the rear brake pads.
  7. Install the caliper. Refer to Rear Brake Caliper Replacement .