GM Service Manual Online
For 1990-2009 cars only
Table 1: Camshaft Position (CMP) Sensor
Table 2: Crankshaft Position (CKP) Sensor A
Table 3: Crankshaft Position (CKP) Sensor B
Table 4: Engine Coolant Temperature (ECT) Sensor
Table 5: Evaporative Emission (EVAP) Canister Purge Solenoid
Table 6: Evaporative Emission (EVAP) Canister Vent Solenoid
Table 7: Exhaust Gas Recirculation (EGR) Valve
Table 8: Fuel Injector 1
Table 9: Fuel Injector 2
Table 10: Fuel Injector 3
Table 11: Fuel Injector 4
Table 12: Fuel Injector 5
Table 13: Fuel Injector 6
Table 14: Fuel Pump and Sender Assembly
Table 15: Fuel Tank Pressure (FTP) Sensor
Table 16: Heated Oxygen Sensor (HO2S) 1
Table 17: Heated Oxygen Sensor (H02S) 2
Table 18: Idle Air Control (IAC) Valve
Table 19: Ignition Control Module (ICM) - C1
Table 20: Ignition Control Module (ICM) - C2
Table 21: Ignition Control Module (ICM) - C3
Table 22: Intake Air Temperature (IAT) Sensor
Table 23: Knock Sensor (KS)
Table 24: Manifold Absolute Pressure (MAP) Sensor
Table 25: Mass Air Flow (MAF) Sensor
Table 26: Throttle Position (TP) Sensor

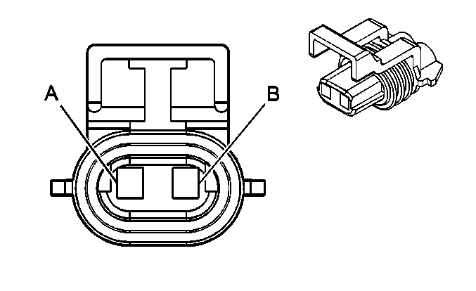
Camshaft Position (CMP) Sensor


Object Number: 833724  Size: CH

Connector Part Information

    • 15336065
    • 3-Way F Metri-Pack 150 Series GT (NAT)

Pin

Wire Color

Circuit No.

Function

A

BRN/WHT

633

CMP Sensor Signal

B

BLK

407

Low Reference

C

RED/WHT

812

12 Volt Reference

Crankshaft Position (CKP) Sensor A


Object Number: 684807  Size: CH

Connector Part Information

    • 12110293
    • 3-Way F Metri-Pack 150 Series Sealed (BK)

Pin

Wire Color

Circuit No.

Function

A

L-GN

1867

12-Volt Reference

B

L-BU/BK

647

Medium Resolution Engine Speed Signal

C

YE/BK

1868

Low Reference

Crankshaft Position (CKP) Sensor B


Object Number: 237066  Size: CH

Connector Part Information

    • 12162194
    • 2-Way F Metri-Pack 150.2 Series Sealed (BK)

Pin

Wire Color

Circuit No.

Function

A

YE

573

CKP Sensor 1 Signal

B

PU

574

Low Reference

Engine Coolant Temperature (ECT) Sensor


Object Number: 237066  Size: CH

Connector Part Information

    • 12162194
    • 2-Way F Metri-Pack 150.2 Series Sealed (BK)

Pin

Wire Color

Circuit No.

Function

A

OG/BK

469

Low Reference

B

YE

410

ECT Sensor Signal

Evaporative Emission (EVAP) Canister Purge Solenoid


Object Number: 684829  Size: CH

Connector Part Information

    • 12124037
    • 2-Way F Metri-Pack 150 Series Sealed (BK)

Pin

Wire Color

Circuit No.

Function

A

PK

339

Ignition 1 Voltage

B

D-GN/WH

428

EVAP Canister Purge Solenoid Control

Evaporative Emission (EVAP) Canister Vent Solenoid


Object Number: 334626  Size: CH

Connector Part Information

    • 12059863
    • 2-Way F Metri-Pack 150 Series (BN)

Pin

Wire Color

Circuit No.

Function

A

PK

1239

Ignition 1 Voltage

B

WH

1310

EVAP Canister Vent Solenoid Control

Exhaust Gas Recirculation (EGR) Valve


Object Number: 594477  Size: CH

Connector Part Information

    • 15326389
    • 5-Way F Metri-Pack 150 Series (BK)

Pin

Wire Color

Circuit No.

Function

A

GY

435

EGR Solenoid Low Control

B

BK

2753

Low Reference

C

BN

1456

EGR Solenoid Position Signal

D

GY

2702

5-Volt Reference

E

RD

1676

EGR Solenoid High Control

Fuel Injector 1


Object Number: 366123  Size: CH

Connector Part Information

    • 15326181
    • 2-Way F (GY)

Pin

Wire Color

Circuit No.

Function

A

PK

639

Ignition 1 Voltage

B

BK

1744

Fuel Injector 1 Control

Fuel Injector 2


Object Number: 366123  Size: CH

Connector Part Information

    • 15326181
    • 2-Way F (GY)

Pin

Wire Color

Circuit No.

Function

A

PK

639

Ignition 1 Voltage

B

L-GN/BK

1745

Fuel Injector 2 Control

Fuel Injector 3


Object Number: 366123  Size: CH

Connector Part Information

    • 15326181
    • 2-Way F (GY)

Pin

Wire Color

Circuit No.

Function

A

PK

639

Ignition 1 Voltage

B

PK/BK

1746

Fuel Injector 3 Control

Fuel Injector 4


Object Number: 366123  Size: CH

Connector Part Information

    • 15326181
    • 2-Way F (GY)

Pin

Wire Color

Circuit No.

Function

A

PK

639

Ignition 1 Voltage

B

L-BU/BK

844

Fuel Injector 4 Control

Fuel Injector 5


Object Number: 366123  Size: CH

Connector Part Information

    • 15326181
    • 2-Way F (GY)

Pin

Wire Color

Circuit No.

Function

A

PK

639

Ignition1 Voltage

B

BK/WH

845

Fuel Injector 5 Control

Fuel Injector 6


Object Number: 366123  Size: CH

Connector Part Information

    • 15326181
    • 2-Way F (GY)

Pin

Wire Color

Circuit No.

Function

A

PK

639

Ignition 1 Voltage

B

YE/BK

846

Fuel Injector 6 Control

Fuel Pump and Sender Assembly


Object Number: 518981  Size: CH

Connector Part Information

    • 12160482
    • 4-Way F Metri-Pack 150 Series Sealed (BK)

Pin

Wire Color

Circuit No.

Function

A

PU

1589

Fuel Level Sensor Signal

B

GY

120

Fuel Pump Supply Voltage

C

BK

250

Ground

D

BK

2759

Low Reference

Fuel Tank Pressure (FTP) Sensor


Object Number: 516611  Size: CH

Connector Part Information

    • 12059595
    • 3-Way F Metri-Pack 150 Series Sealed (BK)

Pin

Wire Color

Circuit No.

Function

A

BK/WH

2759

Low Reference

B

D-GN

890

Fuel Tank Pressure Sensor Signal

C

GY/BK

2709

5-Volt Reference

Heated Oxygen Sensor (HO2S) 1


Object Number: 474210  Size: CH

Connector Part Information

    • 12176897
    • 4-Way F Metri-Pack 150 Series Sealed (GY)

Pin

Wire Color

Circuit No.

Function

A

TN

413

Low Reference

B

PU

412

HO2S 1 High Signal

C

BK/WH

3113

HO2S 1 Heater Low Control

D

PK

839

Ignition 1 Voltage

Heated Oxygen Sensor (H02S) 2


Object Number: 280761  Size: CH

Connector Part Information

    • 12160825
    • 4-Way M Metri-Pack 150 Series (BK)

Pin

Wire Color

Circuit No.

Function

A

TN/WH

1669

HO2S 2 Low Signal

B

PU/WH

1668

HO2S 2 High Signal

C

BK

1050

Ground

D

PK

839

Ignition 1 Voltage

Idle Air Control (IAC) Valve


Object Number: 38608  Size: CH

Connector Part Information

    • 12162190
    • 4-Way F Metri-Pack 150.2 Series Sealed P2S (BK)

Pin

Wire Color

Circuit No.

Function

A

L-GN/BK

444

IAC Coil B Low Control

B

L-GN/WH

1749

IAC Coil B High Control

C

L-BU/BK

1748

IAC Coil A Low Control

D

L-BU/WH

1747

IAC Coil A High Control

Ignition Control Module (ICM) - C1


Object Number: 697032  Size: CH

Connector Part Information

    • 12162261
    • 6-Way F Metri-Pack 150.2 Series (BK)

Pin

Wire Color

Circuit No.

Function

A

TN/BK

424

IC Timing Signal

B

WH

423

IC Timing Control

C-D

--

--

Not Used

E

PU/WH

430

Low Resolution Engine Speed Signal

F

RD/BK

453

Low Reference

Ignition Control Module (ICM) - C2


Object Number: 697033  Size: CH

Connector Part Information

    • 12162184
    • 2-Way F Metri-Pack 150.2 Series Sealed Pull To Seat (BK)

Pin

Wire Color

Circuit No.

Function

A

YE

573

CKP Sensor 1 Signal

C

PU

574

Low Reference

Ignition Control Module (ICM) - C3


Object Number: 237066  Size: CH

Connector Part Information

    • 12162194
    • 2-Way F Metri-Pack 150.2 Series Sealed (BK)

Pin

Wire Color

Circuit No.

Function

A

BK/WH

51

Ground

B

PK/BK

239

Ignition 1 Voltage

Intake Air Temperature (IAT) Sensor


Object Number: 646180  Size: CH

Connector Part Information

    • 12162199
    • 2-Way F 150.2 Series (M-GY)

Pin

Wire Color

Circuit No.

Function

A

BK

2760

Low Reference

B

TN

472

IAT Sensor Signal

Knock Sensor (KS)


Object Number: 95764  Size: CH

Connector Part Information

    • 12176800
    • 1-Way F Metri-Pack 150 Series Sealed (GY)

Pin

Wire Color

Circuit No.

Function

1

D-BU

496

KS Signal

Manifold Absolute Pressure (MAP) Sensor


Object Number: 622368  Size: CH

Connector Part Information

    • 12020403
    • 3-Way M Weather Pack (GN)

Pin

Wire Color

Circuit No.

Function

A

OG/BK

469

Low Reference

B

L-GN

432

MAP Sensor Signal

C

GY

2704

5-Volt Reference

Mass Air Flow (MAF) Sensor


Object Number: 516611  Size: CH

Connector Part Information

    • 12059595
    • 3-Way F Metri-Pack 150 Series Sealed (BK)

Pin

Wire Color

Circuit No.

Function

A

YE

492

MAF Sensor Signal

B

BK/WH

451

Ground

C

PK

339

Ignition 1 Voltage

Throttle Position (TP) Sensor


Object Number: 258299  Size: CH

Connector Part Information

    • 12110192
    • 3-Way F Metri-Pack 150 Series (BK)

Pin

Wire Color

Circuit No.

Function

A

GY

2701

5-Volt Reference

B

BK

2752

Low Reference

C

D-BU

417

TP Sensor Signal