GM Service Manual Online
For 1990-2009 cars only
Table 1: Inflatable Restraint Front End Sensor - Left (Buick)
Table 2: Inflatable Restraint Front End Sensor - Right (Buick)
Table 3: Inflatable Restraint I/P Module - Buick
Table 4: Inflatable Restraint I/P Module - Pontiac
Table 5: Inflatable Restraint Passenger Presence Module - Buick
Table 6: Inflatable Restraint Passenger Presence System (PPS) Sensor - Buick
Table 7: Inflatable Restraint Passenger Seat Belt Tension Retractor Sensor - Buick
Table 8: Inflatable Restraint Sensing and Diagnostic Module (SDM) - Buick
Table 9: Inflatable Restraint Sensing and Diagnostic Module (SDM) - Pontiac
Table 10: Inflatable Restraint Side Impact Module - Left (AJ7)
Table 11: Inflatable Restraint Side Impact Module - Right (AJ7)
Table 12: Inflatable Restraint Side Impact Sensor - Left (AJ7)
Table 13: Inflatable Restraint Side Impact Sensor - Right (AJ7)
Table 14: Inflatable Restraint Steering Wheel Module - Pontiac
Table 15: Inflatable Restraint Steering Wheel Module Coil C1 - Pontiac
Table 16: Inflatable Restraint Steering Wheel Module C1 - Buick (Dual Stage)
Table 17: Inflatable Restraint Steering Wheel Module C2 - Buick (Dual Stage)
Table 18: Seat Belt Pretensioner - Left (Buick)
Table 19: Seat Belt Pretensioner - Right (Buick)

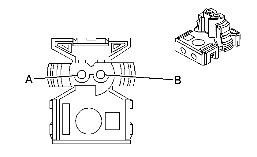
Inflatable Restraint Front End Sensor - Left (Buick)


Object Number: 744055  Size: CH

Connector Part Information

    • 15356722
    • 2-Way F 150 Series Sealed (YE)

Pin

Wire Color

Circuit No.

Function

A

OG

9901

Inflatable Restraint Front End Sensor - Left - Signal

B

BK

9904

Inflatable Restraint Front End Sensor - Left - Voltage

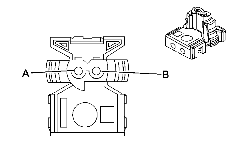
Inflatable Restraint Front End Sensor - Right (Buick)


Object Number: 744055  Size: CH

Connector Part Information

    • 15356722
    • 2-Way F 150 Series Sealed (YE)

Pin

Wire Color

Circuit No.

Function

A

YE

9906

Inflatable Restraint Front End Sensor - Right - Signal

B

GY

9902

Inflatable Restraint Front End Sensor - Right - Voltage

Inflatable Restraint I/P Module - Buick


Object Number: 594476  Size: CH

Connector Part Information

    • 15336477
    • 4-Way M Metri-Pack 280 Series (YE)

Pin

Wire Color

Circuit No.

Function

A1

YE

3025

I/P Module - Stage 1 - High Control

A2

OG

3024

I/P Module - Stage 1 - Low Control

B1

GY

3027

I/P Module - Stage 2 - High Control

B2

PU

3026

I/P Module - Stage 2 - Low Control

Inflatable Restraint I/P Module - Pontiac


Object Number: 295469  Size: CH

Connector Part Information

    • 12110505
    • 2-Way F Metri-Pack 150 Series (YE)

Pin

Wire Color

Circuit No.

Function

A

D- GN/

WH

1404

I/P Module Low Control

B

WH/BK

1403

I/P Module High Control

Inflatable Restraint Passenger Presence Module - Buick


Object Number: 1468542  Size: CH

Connector Part Information

    • 15324433
    • 18-Way F Micro-Pack 100W Series Sealed (BK))

Pin

Wire Color

Circuit No.

Function

1

BK

2307

Passenger Air Bag On Indicator Control

2

BK

2308

Passenger Air Bag Off Indicator Control

3

--

--

Not Used

4

PU

2488

Passenger Seat Belt Tension Retractor Sensor - Signal

5

BK

1751

Ground

6

YE

1362

PPS Sensor Signal

7

D-GN

608

PPS Sensor - 5-Volt Reference

8-13

--

--

Not Used

14

TN

1361

Passenger Seat Belt Tension Retractor Sensor - Low Reference

15

GY

1361

PPS Sensor - Low Reference

16

L-BU

608

Passenger Seat Belt Tension Retractor Sensor - 5-Volt Reference

17

--

--

Not Used

18

BK

5018

Passenger Presence Class 2 Serial Data

Inflatable Restraint Passenger Presence System (PPS) Sensor - Buick


Object Number: 516611  Size: CH

Connector Part Information

    • 12059595
    • 3-Way F Metri-Pack 150 Series (BK)

Pin

Wire Color

Circuit No.

Function

A

D-GN

1361

PPS Sensor - Low Reference

B

YE

1362

PPS Sensor Signal

C

GY

608

PPS Sensor - 5-Volt Reference

Inflatable Restraint Passenger Seat Belt Tension Retractor Sensor - Buick


Object Number: 684807  Size: CH

Connector Part Information

    • 12110293
    • 3-Way F Metri-Pack 150 Series (BK)

Pin

Wire Color

Circuit No.

Function

A

RD

608

Passenger Seat Belt Tension Retractor Sensor - 5-Volt Reference

B

BK

1361

Passenger Seat Belt Tension Retractor Sensor - Low Reference

C

D-BU

2488

Passenger Seat Belt Tension Retractor Sensor - Signal

Inflatable Restraint Sensing and Diagnostic Module (SDM) - Buick


Object Number: 1394178  Size: CH

Connector Part Information

    • 15354773
    • 34-Way F Micro-Pack (YE)

Pin

Wire Color

Circuit No.

Function

A1

TN

3021

Steering Wheel Module Stage 1 High Control

A2

BN

3020

Steering Wheel Module Stage 1 Low Control

A3

OG

3024

Passenger I/P Module Stage 1 Low Control

A4

YE

3025

Passenger I/P Module Stage 1 High Control

A5

BK/WH

2118

Driver Seat Belt Pretensioner High Control

A6

OG/BK

2119

Driver Seat Belt Pretensioner Low Control

A7

OG

2117

Passenger Seat Belt Pretensioner Low Control

A8

L-GN

2116

Passenger Seat Belt Pretensioner High Control

A9

BK/WH

1751

Ground

A10

YE

1139

Ignition 1 Voltage

A11

D-BU

1128

SDM Class 2 Serial Data

A12

--

--

Not Used

A13

PK/WH

5018

Passenger Presence Class 2 Serial Data

A14

BK/WH

238

Driver Seat Belt Switch Signal

A15

--

--

Not Used

A16

RD

1362

Passenger Seat Belt Switch Signal

A17-A18

--

--

Not Used

B1

WH

3023

Steering Wheel Module Stage 2 High Control

B2

PK

3022

Steering Wheel Module Stage 2 Low Control

B3

PU

3026

Passenger I/P Module Stage 2 Low Control

B4

GY

3027

Passenger I/P Module Stage 2 High Control

B5

BN

9904

Inflatable Restraint Front End Discriminating Sensor - Left - Voltage

B6

RD

9901

Inflatable Restraint Front End Discriminating Sensor - Left - Signal

B7

PU

9906

Inflatable Restraint Front End Discriminating Sensor - Right - Signal

B8

RD

9902

Inflatable Restraint Front End Discriminating Sensor - Right - Voltage

C1

YE/BK

2138

Side Impact Module - LF High Control (AJ7)

C2

BN

2137

Side Impact Module - LF Low Control (AJ7)

C3

BK/WH

2135

Side Impact Module - RF High Control (AJ7)

C4

L-GN

2136

Side Impact Module - RF Low Control (AJ7)

C5

YE

2131

Side Impact Sensing Module - Left Voltage (AJ7)

C6

WH

2132

Side Impact Sensing Module - Left Signal (AJ7)

C7

D-GN

2134

Side Impact Sensing Module - Right Signal (AJ7)

C8

TN

2133

Side Impact Sensing Module - Right Voltage (AJ7)

Inflatable Restraint Sensing and Diagnostic Module (SDM) - Pontiac


Object Number: 1394178  Size: CH

Connector Part Information

    • 15354773
    • 34-Way F Micro-Pack (YE)

Pin

Wire Color

Circuit No.

Function

A1

WH

347

Steering Wheel Module High Control

A2

D- GN

348

Steering Wheel Module Low Control

A3

D- GN/

WH

1404

I/P Module Low Control

A4

WH/BK

1403

I/P Module High Control

A5

BN

2137

Side Impact Module - LF High Control (AJ7)

A6

YE/BK

2138

Side Impact Module - LF Low Control (AJ7)

A7

L- GN

2136

Side Impact Module - RF Low Control (AJ7)

A8

BK/WH

2135

Side Impact Module - RF High Control (AJ7)

A9

BK/WH

1751

Ground

A10

YE

1139

Ignition 1 Voltage

A11

D- BU

1128

Class 2 Serial Data

A12-A13

--

--

Not Used

A14

BK/WH

238

Seat Belt Switch - Left

A15-A18

--

--

Not Used

B1-B8

--

--

Not Used

C1-C4

--

--

Not Used

C5

YE

2131

Side Impact Sensing Module - Left - Voltage (AJ7)

C6

WH

2132

Side Impact Sensing Module - Left - Signal (AJ7)

C7

D- GN

2134

Side Impact Sensing Module - Right - Signal (AJ7)

C8

TN

2133

Side Impact Sensing Module - Right - Voltage (AJ7)

Inflatable Restraint Side Impact Module - Left (AJ7)


Object Number: 646194  Size: CH

Connector Part Information

    • 12186799
    • 2-Way M 280 Series (YE)

Pin

Wire Color

Circuit No.

Function

A

BN

2137

Side Impact Module - LF High Control

B

YE/BK

2138

Side Impact Module - LF Low Control

Inflatable Restraint Side Impact Module - Right (AJ7)


Object Number: 646194  Size: CH

Connector Part Information

    • 12186799
    • 2-Way M 280 Series (YE)

Pin

Wire Color

Circuit No.

Function

A

BK/WH

2135

Side Impact Module - RF High Control

B

L- GN

2136

Side Impact Module - RF Low Control

Inflatable Restraint Side Impact Sensor - Left (AJ7)


Object Number: 684970  Size: CH

Connector Part Information

    • 15356726
    • 2-Way F GT 150 Series Sealed 4.0 (YE)

Pin

Wire Color

Circuit No.

Function

A

WH

2132

Side Impact Sensing Module - Left - Signal

B

YE

2131

Side Impact Sensing Module - Left - Voltage

Inflatable Restraint Side Impact Sensor - Right (AJ7)


Object Number: 684970  Size: CH

Connector Part Information

    • 15356726
    • 2-Way F GT 150 Series Sealed 4.0 (YE)

Pin

Wire Color

Circuit No.

Function

A

D- GN

2134

Side Impact Sensing Module - Right - Signal

B

TN

2133

Side Impact Sensing Module - Right - Voltage

Inflatable Restraint Steering Wheel Module - Pontiac


Object Number: 966360  Size: CH

Connector Part Information

    • 54560210
    • 2-Way F ABX-3 Code B (YE)

Pin

Wire Color

Circuit No.

Function

A

WH

347

Steering Wheel Module - High Control

B

D- GN

348

Steering Wheel Module - Low Control

Inflatable Restraint Steering Wheel Module Coil C1 - Pontiac


Object Number: 684803  Size: CH

Connector Part Information

    • 12110149
    • 2-Way M Metri-Pack 280 Series Sealed (YE)

Pin

Wire Color

Circuit No.

Function

A

WH

347

Steering Wheel Module High Control

B

D- GN

348

Steering Wheel Module Low Control

Inflatable Restraint Steering Wheel Module C1 - Buick (Dual Stage)


Object Number: 966373  Size: CH

Connector Part Information

    • 54560208
    • 2-Way F ABX--3 Code B (GY w/YE Case)

Pin

Wire Color

Circuit No.

Function

A

TN

3021

Steering Wheel Module - Stage 1 - High Control

B

BN

3020

Steering Wheel Module - Stage 1 - Low Control

Inflatable Restraint Steering Wheel Module C2 - Buick (Dual Stage)


Object Number: 966373  Size: CH

Connector Part Information

    • 54560208
    • 2-Way F ABX--3 Code B (PU w/YE Case)

Pin

Wire Color

Circuit No.

Function

A

WH

3023

Steering Wheel Module - Stage 2- High Control

B

PK

3022

Steering Wheel Module - Stage 2- Low Control

Seat Belt Pretensioner - Left (Buick)


Object Number: 295469  Size: CH

Connector Part Information

    • 12110505
    • 2-Way F Metri-Pack 150 Series (YE)

Pin

Wire Color

Circuit No.

Function

A

BK/WH

2118

Seat Belt Pretensioner - Left - High Control

B

OG/BK

2119

Seat Belt Pretensioner - Left - Low Control

Seat Belt Pretensioner - Right (Buick)


Object Number: 295469  Size: CH

Connector Part Information

    • 12110505
    • 2 Way F Metri-Pack 150 Series (YE)

Pin

Wire Color

Circuit No.

Function

A

L- GN

2116

Seat Belt Pretensioner - Right - High Control

B

OG

2117

Seat Belt Pretensioner - Right - Low Control