GM Service Manual Online
For 1990-2009 cars only
Table 1: Fuse Block - Underhood, Label Usage
Table 2: Fuse Block - Underhood C1
Table 3: Fuse Block - Underhood C2
Table 4: Fuse Block - Underhood C3
Table 5: Fuse Block - Underhood C4
Table 6: Fuse Block - Center Console (Pontiac), Label Usage
Table 7: Fuse Block - Center Console (Buick), Label Usage
Table 8: Fuse Block - Center Console C1
Table 9: Fuse Block - Center Console C2

Fuse Block - Underhood, Label


Object Number: 1406268  Size: CF

Fuse Block - Underhood, Label Usage

No.

Device

Rating

Description

1

FUEL PUMP

15A

FUEL PUMP Relay 50

2

A/C CLU

10A

A/C CLU Relay 51

3

HOG

15A

HOG Relay 49

4

ENG CONTROLS (LA1)

10A

    • Air vacuum control solenoid valve
    • Evaporative emission (EVAP) canister purge solenoid valve
    • Mass air flow (MAF) sensor

4

ABS (LY7)

10A

Electronic brake control module (EBCM)

5

PCM (LA1)

10A

Powertrain control module (PCM)

5

ECM (LY7)

10A

Engine control module (ECM)

6

ABS (LA1)

10A

Electronic brake control module (EBCM)

6

PT RLY (LY7)

15A

Powertrain Relay

7

TRANS SOL (LA1)

10A

Automatic transaxle

7

PT SENSORS (LY7)

15A

    • Intake manifold runner (IMRC) solenoid
    • Evaporative emission (EVAP) canister purge solenoid
    • Camshaft position (CMP) actuator solenoids
    • Heated oxygen sensor (HO2S) sensor 1

8

TCM (LY7)

10A

Transmission control module

9

ABS SOL

25A

Electronic brake control module (EBCM)

10

O2 SENSORS (LA1)

15A

    • Heated oxygen sensor 1 (HO2S1)
    • Heated oxygen sensor 2 (HO2S2)

10

O2/MAF SENS

15A

Heated oxygen sensor 2 (HO2S2)

11

FUEL INJ (LA1)

15A

Fuel injectors

11

INJ EVEN (LY7)

15A

Fuel injectors - Bank 2

12

--

--

Not Used

13

ELEC ENG (LA1)

15A

Ignition control module (ICM)

13

INJ ODD (LY7)

15A

Fuel injectors - Bank 1

14

DRL

10A

Headlamp, RH (high beam)

15

LO BEAM-RT

10A

Headlamp, RH (low beam)

16

TRANS (LY7)

10A

    • Torque converter clutch (TCC) solenoid valve
    • Shift solenoid valves

17

LO BEAM-L-

10A

Headlamp, LH (low beam)

18

HI BEAM-L-

10A

Headlamp, LH (high beam)

19

IGN 3/ IGN 1

20A

Ignition switch

20

PRK LPS

15A

PRK LPS Relay 55

21

ECM IGN 1

15A

Engine Control Module

22

--

--

Not Used

23

HI BEAM-RT

10A

Headlamp, RH (high beam)

24

VENT SOL

10A

Evaporative emission (EVAP) canister solenoid

25

DVD

15A

DVD System

26

FOG LPS

10A

FOG LPS Relay

27

IGN1 MAIN

10A

    • IGNITION Relay 60
    • Powertrain control module (PCM)
    • Transaxle range switch

28

BCM

10A

Body control module (BCM)

29

S BAND

2A

Digital radio receiver

30

AWD

15A

Differential clutch pump actuator check valve

31

CRUISE

10A

    • Cruise control module
    • Cruise control release switch
    • Cruise control switch
    • Mass air flow (MAF)/intake air temperature (IAT) sensor (LY7)

32

FRT AUX

20A

    • Auxiliary power drop connector
    • Cigar lighter
    • Console auxiliary power outlet
    • Data link connector (DLC)
    • Front auxiliary power outlet

33

BTSI

2A

    • Automatic transmission shift lock control solenoid
    • BTSI Fuse 33

34

STRTR SOL

40A

Starter soleniod

35

ABSMTR

40A

Electronic brake control module (EBCM)

36-37

--

--

Not Used

38

COOL FAN2

30A

    • COOL FAN2 Relay 58
    • COOL FAN3 Relay 60

39

COOL FAN1

30A

COOL FAN1 Relay 61

40

IGN 1

60A

    • ACCY Relay
    • RAP Relay

41

BATT 3

60A

REAR DEFOG Relay

42-43

--

--

Not Used

44

BATT 2

60A

    • BCMD Fuse
    • ELC BATT Fuse
    • GATE REL Fuse
    • PWR MIR Fuse
    • PWR STS Fuse
    • RR AUX Fuse

45

--

--

Not Used

46

IGN 3

40A

    • Blower motor resistor assembly
    • IGN3 RELAY

47

BATT 1

60A

    • BCML Fuse
    • HUD Fuse
    • HZD FL Fuse
    • RADIO Fuse
    • RD AMP Fuse
    • IP MDL Fuse

48

--

--

Not Used

49

HOG Relay

--

Horns

50

FUEL PUMP Relay

--

Fuel pump

51

A/C CLU Relay

--

A/C compressor clutch

52

DRL Relay

--

    • Body control module (BCM)
    • DRL Fuse 14

53

HDLP LO-BEAM Relay

--

    • LO BEAM-L- Fuse 17
    • LO BEAM-RT Fuse 15

54

PARK LPS Relay

--

Exterior lighting

55

HDLP HI-BEAM Relay

--

    • HI BEAM-L- Fuse 18
    • HI BEAM-RT Fuse 23

56

FOG LPS Relay

--

Fog lamps

57

CRANK Relay

--

Starter motor

58

COOL FAN2 Relay

--

Cooling fan - Right

59

IGNITION Relay (LA1)

--

Fuses:

    • ABS Fuse 6
    • AWD Fuse 30
    • ENG CONTROLS Fuse 4
    • O2 SENSORS Fuse 10

Relays:

A/C CLU Relay 51

59

PTRAIN Relay (LY7)

--

Fuses:

    • PT RELAY Fuse 6
    • O2/MAF SENS Fuse 10
    • PT SENSORS Fuse 7
    • INJ EVEN Fuse 11
    • INJ ODD Fuse 13

Relays:

A/C CLU Relay 51

60

COOL FAN2 Relay

--

Cooling fans

61

COOL FAN1 Relay

--

Cooling fan - Left

62

IGNITION Relay (LY7)

--

Fuses:

    • AWD Fuse 30
    • TCM Fuse 8
    • ABS Fuse 4
    • ECM Fuse 5

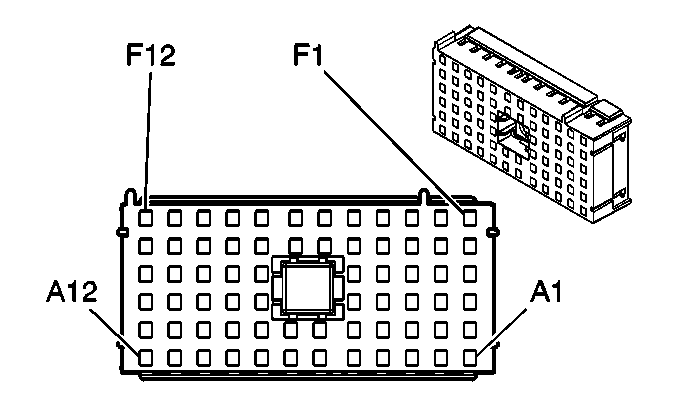
Fuse Block - Underhood, Top View


Object Number: 629461  Size: LF

Fuse Block - Underhood, Bottom View


Object Number: 629462  Size: LF

Fuse Block - Underhood C1


Object Number: 647951  Size: CH

Connector Part Information

    • 15319896
    • 68-Way F Metri-Pack 280 Series Flexlock (BK)

Pin

Wire Color

Circuit No.

Function

A1-A11

--

--

Not Used

A12

RD

1442

Battery Positive Voltage (JL9)

B1

YE/BK

625

Starter Enable Relay Control

B2

--

--

Not Used

B3

PU

6

Starter Solenoid Crank Voltage

B4-B9

--

--

Not Used

B10

BK/WH

451

Ground

B11-B12

--

--

Not Used

C1-C2

--

--

Not Used

C3

PK

5290

Ignition 1 Voltage

C4-C7

--

--

Not Used

C8

PK

339

Ignition 1 Voltage

C9-C10

--

--

Not Used

C11

BN

5069

Engine Controls Main Relay Control (LY7)

C12

D- GN/WH

465

Fuel Pump Relay Control

D1-D4

--

--

Not Used

D5

OG

540

Battery Positive Voltage

D6-D8

--

--

Not Used

D9

PK

1039

Ignition 1 Voltage (JL9)

D10-D11

--

--

Not Used

D12

PK/BK

1339

Ignition 1 Voltage

E1

--

--

Not Used

E2

OG

4340

Battery Positive Voltage

E3

OG

1740

Battery Positive Voltage (JL9)

E4

--

--

Not Used

E5

D- GN/WH

459

A/C Clutch Relay Control

E6

PK

839

Ignition 1 Voltage

E7

--

--

Not Used

E8

D- GN

335

Low Speed Cooling Fan Relay Control

E9

PK/BK

839

Ignition 1 Voltage

E10-E11

--

--

Not Used

E12

PK/BK

639

Ignition 1 Voltage

F1-F2

--

--

Not Used

F3

D- BU

473

High Speed Cooling Fan 2 Relay Control

F4

PK

139

Ignition 1 Voltage

F5

D- GN

59

A/C Compressor Clutch Supply Voltage

F6

BK/WH

1050

Ground

F7

--

--

Not Used

F8

PK

439

Ignition 1 Voltage

F9-F11

--

--

Not Used

F12

PK/BK

239

Ignition 1 Voltage

Fuse Block - Underhood C2


Object Number: 684889  Size: CH

Connector Part Information

    • 15319895
    • 68-Way F Metri-Pack 280 Series Flexlock (MD GY)

Pin

Wire Color

Circuit No.

Function

A1

WH

504

Cooling Fan Motor 1 Ground

A2-A3

--

--

Not Used

A4

D- GN

29

Horn Control

D- GN

29

Horn Control (Buick Only)

A5-A12

--

--

Not Used

B1

--

--

Not Used

B2

L- BU

409

Cooling Fan Motor 2 Supply Voltage

B3

BK

1250

Ground

B4-B12

--

--

Not Used

C1-C3

--

--

Not Used

C4

D- BU

593

DRL Headlamp High Beam Supply Voltage

C5-C12

--

--

Not Used

D1-D4

--

--

Not Used

D5

TN/WH

312

Right Headlamp Low Beam Supply Voltage

D6-D12

--

--

Not Used

E1-E4

--

--

Not Used

E5

YE

712

Left Headlamp Low Beam Supply Voltage

E6

--

--

Not Used

E7

BN

9

Park Lamp Supply Voltage

E8

PU

34

Front Fog Lamps Supply Voltage

PU

34

Front Fog Lamps Supply Voltage

E9-E10

--

--

Not Used

E11

L- BU

14

Left Turn Signal Lamps Supply Voltage

E12

--

--

Not Used

F1-F2

--

--

Not Used

F3

L- GN/BK

311

Right Headlamp High Beam Supply Voltage

F4

--

--

Not Used

F5

D- GN/WH

711

Left Headlamp High Beam Supply Voltage

F6

--

--

Not Used

F7

BN

9

Park Lamp Supply Voltage

F8

--

--

Not Used

F9

D- BU

15

Right Turn Signal Lamps Supply Voltage

F10

GY

532

Cooling Fan Motor Supply Voltage

F11-F12

--

--

Not Used

Fuse Block - Underhood C3


Object Number: 647949  Size: CH

Connector Part Information

    • 15319894
    • 68-Way F Metri-Pack 280 Series Flexlock (WH)

Pin

Wire Color

Circuit No.

Function

A1-A3

--

--

Not Used

A4

OG

1040

Battery Positive Voltage

A5-A7

--

--

Not Used

A8

BK

28

Horn Relay Control

BK

28

Horn Relay Control (Buick Only)

A9-A10

--

--

Not Used

A11

L- BU

14

Left Turn Signal Lamps Supply Voltage

A12

--

--

Not Used

B1-B2

--

--

Not Used

B3

PK/WH

1970

Headlamp Low Beam Relay Control

B4-B7

--

--

Not Used

B8

WH

1080

Park Lamp Relay Control

B9

D- BU

15

Right Turn Signal Lamps Supply Voltage

B10-B12

--

--

Not Used

C1-C4

--

--

Not Used

C5

L- GN/BK

311

Right Headlamp High Beam Supply Voltage

C6-C7

--

--

Not Used

C8

BN

9

Park Lamp Supply Voltage

C9-C10

--

--

Not Used

C11

OG

4540

Battery Positive Voltage

C12

--

--

Not Used

D1-D2

--

--

Not Used

D3

BK/WH

1969

Headlamp High Beam Relay Control

D4

OG

4240

Battery Positive Voltage (w/U32)

D5-D12

--

--

Not Used

E1

--

--

Not Used

E2

OG

3240

Battery Positive Voltage

E3

--

--

Not Used

E4

OG

3340

Battery Positive Voltage

E5

--

--

Not Used

E6

D- GN/WH

1317

Fog Lamp Relay Control

E7-E8

--

--

Not Used

E9

PK

1439

Ignition 1 Voltage

E10

--

--

Not Used

E11

PK

39

Ignition 1 Voltage

E12

PK

3

Ignition 1 Voltage

F1

--

--

Not Used

F2

OG

2740

Battery Positive Voltage

F3

--

--

Not Used

F4

OG/BK

1786

Park/Neutral Signal

F5

L- GN/BK

592

DRL Relay Control

F6

PU

34

Front Fog Lamps Supply Voltage

F7-F10

--

--

Not Used

F11

PK

39

Ignition 1 Voltage

PK

39

Ignition 1 Voltage

F12

GY

120

Fuel Pump Supply Voltage

Fuse Block - Underhood C4


Object Number: 684927  Size: CH

Connector Part Information

    • 15329012
    • 8-Way F Metri-Pack 800 Series (BK)

Pin

Wire Color

Circuit No.

Function

A1

RD

642

Battery Positive Voltage

A2

RD

42

Battery Positive Voltage

B1

--

--

Not Used

B2

RD

742

Battery Positive Voltage

C1

RD

442

Battery Positive Voltage

RD

442

Battery Positive Voltage

C2

--

--

Not Used

D1

RD

242

Battery Positive Voltage

D2

--

--

Not Used

Fuse Block - Center Console (Pontiac), Label


Object Number: 629464  Size: LF

Fuse Block - Center Console (Pontiac), Label Usage

No.

Device

Rating

Description

1

FUSE PULLER

--

Not Used

2

STG COL

2A

Inflatable restraint steering wheel module coil

3

BCMD

25A

Body control module (BCM)

4

SPARE FUSE

15A

Not Used

5

SPARE FUSE

10A

Not Used

6

SPARE FUSE

2A

Not Used

7

SPARE FUSE

30A

Not Used

8

SPARE FUSE

25A

Not Used

9

SPARE FUSE

20A

Not Used

10

FLASHER

--

Turn signals/hazard lamps

11

PWR STS

30A

    • Driver heated seat relay module
    • Driver seat adjuster motor assembly
    • Passenger heated seat relay module
    • Passenger seat adjuster motor assembly

12

ELCBATT

30A

Automatic level control (ALC) relay

13

GATE REL

30A

Body control module (BCM)

14

RR AUX

20A

With G67:

    • Automatic level control (ALC) air compressor
    • Automatic level control (ALC) inflation timer
    • Rear auxiliary power outlet
    • Trailer wiring harness

Without G67: Rear auxiliary power outlet

15

ELC ACCY

10A

    • Automatic level control (ALC) relay
    • Automatic level control (ALC) sensor

16

HTDMIRR

10A

Not Used

17

PWR MIR

10A

Outside rearview mirror remote control switch

18

IGN1MDL

10A

Body control module (BCM)

19

TRN SIG

10A

    • Transaxle range switch
    • Turn signal/hazard flasher switch

20

RR DEFOG Relay

--

    • HTDMIRR Fuse
    • RR DEF Fuse

21

RR DEF

30A

Rear window defogger

22

SIR

10A

Inflatable restraint sensing and diagnostic module (SDM)

23

IGN3 Relay

--

    • BLWR Fuse
    • IGN3 HVAC Fuse

24

INTEMM

10A

    • Evaporative emission (EVAP) canister vent solenoid valve
    • Stop lamp switch

25

BLWR

25A

HVAC control module

26

IGN3 HVAC

10A

    • Head up display
    • HVAC control module
    • HVAC mode actuator
    • HVAC air temp actuator - Left
    • HVAC air temp actuator - Right
    • Recirculation actuator

27

ACCY Relay

--

    • ACCPWR Fuse
    • ELC PWR Fuse
    • RR WPR Fuse
    • WIPER Fuse

28

ACCPWR

10A

Auxiliary power drop connector

29

WIPER

25A

    • Windshield wiper motor
    • Windshield wiper/washer switch

30

IGN0

2A

    • Body control module (BCM)
    • Instrument panel cluster (IPC)
    • Theft deterrent control module

31

KEY SOL

2A

Automatic transmission shift lock control actuator solenoid

32

RRWPR

20A

Not used

33

RAP Relay

--

    • PWR WDWS circuit breaker
    • SUN RF Fuse

34

SUN RF

20A

Sunroof module

35

PWR WDWS

30A

    • Window master switch
    • Window switch - Front passenger

36

BCML

20A

Body control module (BCM)

37

RADIO

15A

Radio

38

RD AMP

25A

Audio amplifier

39

HUD

10A

Head up display

40

HZD FL

15A

    • Flasher
    • Stop lamp switch

41

IP MDL

10A

    • HVAC control module
    • Instrument panel cluster (IPC)
    • Remote control door lock receiver (RCDLR)
    • Security indicator lamp
    • Theft deterrent shock sensor

42

INKEY

10A

    • Ignition switch
    • Theft deterrent control module

43

ACCY

--

Ignition switch

44

BCM-ACC

10A

Body control module (BCM)

Fuse Block - Center Console (Buick), Label


Object Number: 828278  Size: LF

Fuse Block - Center Console (Buick), Label Usage

No.

Device

Rating

Description

1

FUSE PULLER

--

Not Used

2

STG COL

2A

Inflatable restraint steering wheel module coil

3

BCMD

25A

Body control module (BCM)

4

SPARE FUSE

15A

Not Used

5

SPARE FUSE

10A

Not Used

6

SPARE FUSE

2A

Not Used

7

SPARE FUSE

30A

Not Used

8

SPARE FUSE

25A

Not Used

9

SPARE FUSE

20

Not Used

10

FLASHER

--

Turn signals/hazard lamps

11

PWR STS

30A

    • Driver heated seat relay module
    • Driver seat adjuster motor assembly
    • Passenger heated seat relay module
    • Passenger seat adjuster motor assembly

12

ELCBATT

30A

Automatic level control (ALC) relay

13

GATE REL

30A

Body control module (BCM)

14

RR AUX

20A

With G67:

    • Automatic level control (ALC) air compressor
    • Automatic level control (ALC) inflation timer
    • Rear auxiliary power outlet
    • Trailer wiring harness

Without G67: Rear auxiliary power outlet

15

ELC ACCY

10A

    • Automatic level control (ALC) relay
    • Automatic level control (ALC) sensor

16

HTDMIRR

10A

Not Used

17

PWR MIR

10A

Outside rearview mirror remote control switch

18

IGN1MDL

10A

Body control module (BCM)

19

TRN SIG

10A

    • Transaxle range switch
    • Turn signal/hazard flasher switch

20

RR DEFOG Relay

--

    • HTDMIRR Fuse
    • RR DEF Fuse

21

RR DEF

30A

Rear window defogger

22

SIR

10A

Inflatable restraint sensing and diagnostic module (SDM)

23

--

--

Not Used

24

INTEMM

10A

    • Evaporative emission (EVAP) canister vent solenoid valve
    • Stop lamp switch

25

BLWR

25A

HVAC control module

26

IGN3 HVAC

10A

    • Head up display
    • HVAC control module
    • HVAC mode actuator
    • HVAC air temp actuator - Left
    • HVAC air temp actuator - Right
    • Recirculation actuator

27

ACCY Relay

--

    • ACCPWR Fuse
    • ELC PWR Fuse
    • RR WPR Fuse
    • WIPER Fuse

28

ACCPWR

10A

Auxiliary power drop connector

29

WIPER

25A

    • Windshield wiper motor
    • Windshield wiper/washer switch

30

IGN0

2A

    • Body control module (BCM)
    • Instrument panel cluster (IPC)
    • Theft deterrent control module

31

KEY SOL

2A

Automatic transmission shift lock control actuator solenoid

32

RRWPR

20A

Not used

33

RAP Relay

--

    • PWR WDWS circuit breaker
    • SUN RF Fuse

34

SUN RF

20A

Sunroof module

35

PWR WDWS

30A

    • Window master switch
    • Window switch - Front passenger

36

BCML

20A

Body control module (BCM)

37

RADIO

15A

Radio

38

RD AMP

25A

Audio amplifier

39

HUD

10A

Head up display

40

HZD FL

15A

    • Flasher
    • Stop lamp switch

41

IP MDL

10A

    • HVAC control module
    • Instrument panel cluster (IPC)
    • Remote control door lock receiver (RCDLR)
    • Security indicator lamp
    • Theft deterrent shock sensor

42

INKEY

10A

    • Ignition switch
    • Theft deterrent control module

43

ACCY

--

Ignition switch

44

BCM-ACC

10A

Body control module (BCM)

Fuse Block - Center Console, Top View


Object Number: 629466  Size: LF

Fuse Block - Center Console, Bottom View


Object Number: 629467  Size: LF

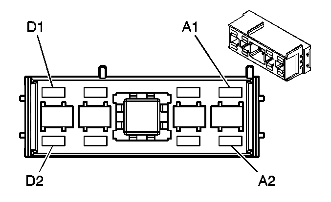
Fuse Block - Center Console C1


Object Number: 697044  Size: CH

Connector Part Information

    • 15356603
    • 68-Way F Metri-Pack 280 Series Flexlock (L- GY)

Pin

Wire Color

Circuit No.

Function

A1

BK

150

Ground

A2

OG

1840

Battery Positive Voltage

A3

GY/BK

1458

Instrument Panel Lamp Supply Voltage 4

A4

GY/BK

690

Courtesy Lamp Relay Coil Control

GY/BK

690

Courtesy Lamp Relay Coil Control

A5

PK

739

Ignition 1 Voltage

A6

PK

3

Ignition 1 Voltage

A7

--

--

Not Used

A8-A9

--

--

Not Used

A10

OG

640

Battery Positive Voltage

OG

640

Battery Positive Voltage (UA6)

A11-A12

--

--

Not Used

B1-B2

--

--

Not Used

B3

GY

8

Instrument Panel Lamp Supply Voltage

B4

RD

442

Battery Positive Voltage

B5

PK

539

Ignition 1 Voltage

B6

PK

3

Ignition 1 Voltage

B7

BN

241

Ignition 3 Voltage

BN

241

Ignition 3 Voltage

B8-B9

--

--

Not Used

B10

OG

640

Battery Positive Voltage

OG

640

Battery Positive Voltage

B11

--

--

Not Used

B12

OG

5640

Battery Positive Voltage

C1

--

--

Not Used

C2

D- BU

15

Right Turn Signal Lamps Supply Voltage

D- BU

15

Right Turn Signal Lamps Supply Voltage

C3

D- BU

5290

ECM Supply Voltage (LY7)

C4

WH

1080

Park Lamp Relay Control

C5

OG

1732

Courtesy Lamps Supply Voltage (Buick)

C6-C7

--

--

Not Used

C8

OG

2340

Battery Positive Voltage

OG/BK

2340

Battery Positive Voltage

C9

--

--

Not Used

C10

PU

1500

Ignition 0 Voltage

C11

YE

443

Accessory Voltage

C12

--

--

Not Used

D1

--

--

Not Used

D2

L- BU

14

Left Turn Signal Lamps Supply Voltage

L- BU

14

Left Turn Signal Lamps Supply Voltage

D3

L- BU

14

Left Turn Signal Lamps Supply Voltage (UH9)

D4

--

--

Not Used

D5

OG

1732

Courtesy Lamps Supply Voltage

OG

1732

Courtesy Lamps Supply Voltage

D6-D7

--

--

Not Used

D8

YE

743

Accessory Voltage

D9

--

--

Not Used

D10

PU

1500

Ignition 0 Voltage

PU

1500

Ignition 0 Voltage

D11

D- GN

500

Ignition 0 Voltage

D12

OG

2040

Battery Positive Voltage (w/UQ3)

E1

WH

17

Stop Lamp Switch Signal

E2

TN

2144

Hazard Switch Signal

E3

WH

17

Stop Lamp Switch Signal

E4

L- GN

911

Heated Seat Switch Supply Voltage

E5

--

--

Not Used

E6

RD

742

Battery Positive Voltage

E7

BN

241

Ignition 3 Voltage

E8

YE

243

Accessory Voltage

YE

243

Accessory Voltage

E9

--

--

Not Used

E10

PU

1600

Ignition 0 Voltage (Pontiac)

E11

D- GN

500

Ignition 0 Voltage

E12

OG

5240

Battery Positive Voltage (UV6)

F1

D- BU/WH

1415

Right Front Turn Signal Switch Signal

F2

L- BU/WH

1414

Left Front Turn Signal Switch Signal

F3

RD

642

Battery Positive Voltage

F4

--

--

Not Used

F5

OG

300

Ignition 3 Voltage

F6

WH

193

Rear Defog Relay Control (C49)

F7

BN

41

Ignition 3 Voltage (CJ2/CJ3)

F8

BN

4

Accessory Voltage

F9

--

--

Not Used

F10

YE

343

Accessory Voltage (Buick)

F11

RD

42

Battery Positive Voltage

F12

RD

242

Battery Positive Voltage

Fuse Block - Center Console C2


Object Number: 684967  Size: CH

Connector Part Information

    • 15356602
    • 68-Way F Metri-Pack 280 Series Flexlock (BK)

Pin

Wire Color

Circuit No.

Function

A1

TN

694

Driver Door Lock Actuator Unlock Control

A2

GY

295

Door Lock Actuator Lock Control

GY

295

Door Lock Actuator Lock Control

A3

WH

17

Stop Lamp Switch Signal

A4

--

--

Not Used

A5

D- GN

1927

Rear Defog Element Supply Voltage (C49)

A6

GY

8

Instrument Panel Lamp Supply Voltage

A7-A9

--

--

Not Used

A10

YE

343

Accessory Voltage (Buick)

A11

--

--

Not Used

A12

OG

640

Battery Positive Voltage (Buick)

B1

TN

294

Door Lock Actuator Unlock Control

TN

294

Door Lock Actuator Unlock Control

B2

GY

295

Door Lock Actuator Lock Control

GY

295

Door Lock Actuator Lock Control

B3

--

--

Not Used

B4

OG

1140

Battery Positive Voltage

B5

--

--

Not Used

B6

YE

1139

Ignition 1 Voltage

B7-B12

--

--

Not Used

C1

TN

294

Door Lock Actuator Unlock Control

C2-C3

--

--

Not Used

C4

OG

1140

Battery Positive Voltage

C5

OG

1732

Courtesy Lamps Supply Voltage

C6-C7

--

--

Not Used

C8

D- GN

19

Right Rear Stop/Turn Lamp Supply Voltage

D- GN

19

Right Rear Stop/Turn Lamp Supply Voltage

C9

GY/BK

690

Courtesy Lamp Relay Coil Control

C10

L- GN

24

Backup Lamp Supply Voltage

C11

L- GN

24

Backup Lamp Supply Voltage

C12

--

--

Not Used

D1

BK

550

Ground

D2

OG

1240

Battery Positive Voltage (G67)

D3-D4

--

--

Not Used

D5

YE

843

Accessory Voltage (w/G67)

D6-D7

--

--

Not Used

D8

YE

18

Left Rear Stop/Turn Lamp Supply Voltage

D9

D- BU

1307

Power Window Master Switch Lockout Signal

D10

--

--

Not Used

D11

YE

643

Accessory Voltage

D12

--

--

Not Used

E1

OG

9294

Tailgate Lock Actuator Lock Control (Pontiac)

E1

PU

1305

Liftgate Actuator Unlock Control (Buick)

E2-E4

--

--

Not Used

E5

OG

267

Heated Mirror Element Supply Voltage (Buick)

OG

267

Heated Mirror Element Supply Voltage (Buick)

E6-E8

--

--

Not Used

E9

D- BU

1307

Power Window Master Switch Lockout Signal

E10

--

--

Not Used

E11

YE

143

Accessory Voltage

E12

--

--

Not Used

F1

RD

9295

Tailgate Lock Actuator Unlock Control (Pontiac)

WH

1304

Liftgate Actuator Lock Control (Buick)

F2

OG

2540

Battery Positive Voltage

F3-F4

--

--

Not Used

F5

OG

840

Battery Positive Voltage (Pontiac)

F6

--

--

Not Used

F7

L- BU

383

Liftgate Release Control (Pontiac)

F8

--

--

Not Used

F9

D- BU

1307

Power Window Master Switch Lockout Signal

F10

--

--

Not Used

F11

YE

143

Accessory Voltage

F12

--

--

Not Used