GM Service Manual Online
For 1990-2009 cars only

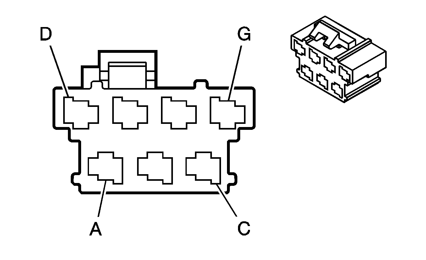
Ignition Switch


Object Number: 839267  Size: CH

Connector Part Information

    • 19900853490
    • 7-Way F Kostal (BK)

Pin

Wire Color

Circuit No.

Function

A

BN

4

Accessory Voltage

B

OG

1040

Battery Positive Voltage

C

PK

3

Ignition 1 Voltage

D

YE

5

Crank Voltage

E

D-GN

500

Ignition 0 Voltage

F

OG

2340

Battery Positive Voltage

G

OG

300

Ignition 3 Voltage