| Table 1: | Body Control Module - C0 |
| Table 2: | Body Control Module - C1 |
| Table 3: | Body Control Module - C2 |
| Table 4: | Body Control Module - C3 |
| Table 5: | Data Link Connector (DLC) |
| |||||||
|---|---|---|---|---|---|---|---|
Connector Part Information |
| ||||||
Pin | Wire Color | Circuit No. | Function | ||||
A1 | -- | -- | Not Used | ||||
A2 | PK/BK | 1597 | Interior Lamp Switch On Signal | ||||
A3 | YE | 10 | Headlamp Switch Signal | ||||
A4 | PU | 328 | Interior Lamp Defeat Switch Signal | ||||
A5 | L- GN | 80 | Key In Ignition Switch Signal | ||||
A6 | L- BU | 13 | Headlamp Switch Park Lamps Signal | ||||
A7 | OG | 192 | Fog Lamp Switch Signal | ||||
A8 | -- | -- | Not Used | ||||
B1 | WH/BK | 1221 | Liftgate Release Switch Signal | ||||
B2-B3 | -- | -- | Not Used | ||||
B4 | YE | 443 | Accessory Voltage | ||||
B5 | PU | 1500 | Ignition 0 Voltage | ||||
B6 | -- | -- | Not Used | ||||
B7 | BN/WH | 1571 | Traction Control Switch Signal | ||||
B8 | D- GN | 389 | Vehicle Speed Signal | ||||
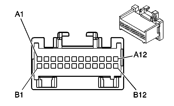
| |||||||
|---|---|---|---|---|---|---|---|
Connector Part Information |
| ||||||
Pin | Wire Color | Circuit No. | Function | ||||
A1 | BK | 1550 | Ground | ||||
A2-A3 | -- | -- | Not Used | ||||
A4 | YE/BK | 1138 | Ambient Light Sensor Low Reference | ||||
A5 | PK | 1444 | 5-Volt Reference | ||||
A6 | L- GN/ BK | 1137 | Ambient Light Sensor Signal | ||||
A7 | BN/WH | 230 | Instrument Panel Lamps Dimming Control | ||||
A8 | L- GN/ BK | 311 | High Beam Signal | ||||
A9 | BK/WH | 1455 | Keyless Entry Program Enable Signal | ||||
A10 | L- GN | 1037 | BCM Class 2 Serial Data | ||||
A11 | BK | 28 | Horn Relay Control | ||||
A12 | L- GN/ BK | 592 | DRL Relay Control | ||||
B1 | GY/BK | 1796 | Low Reference | ||||
B2 | PK | 739 | Ignition 1 Voltage | ||||
B3 | BN | 9 | Park Lamp Supply Voltage | ||||
B4 | YE | 749 | Security Indicator Control (UA6) | ||||
B5-B6 | -- | -- | Not Used | ||||
B7 | OG | 3240 | Battery Positive Voltage | ||||
B8 | L- BU | 910 | Headlamp Relay Control | ||||
B9 | D- GN/ WH | 762 | A/C Request Signal (C60) | ||||
B10 | -- | -- | Not Used | ||||
B11 | TN/WH | 816 | A/T Shift Lock Solenoid Control | ||||
B12 | D- GN/ WH | 1317 | Fog Lamp Relay Control | ||||
| |||||||
|---|---|---|---|---|---|---|---|
Connector Part Information |
| ||||||
Pin | Wire Color | Circuit No. | Function | ||||
A1 | OG/BK | 233 | Park Brake Switch Signal | ||||
A2 | OG | 54 | Front Passenger Door Open Switch Signal | ||||
A3 | D- BU/ WH | 727 | Door Ajar Switch Signal | ||||
A4 | PU | 1124 | Door Lock Key Switch Unlock Signal | ||||
A5 | PU | 9124 | Tailgate Key Cylinder Switch Signal (Pontiac) | ||||
A6 | -- | -- | Not Used | ||||
A7 | D- BU | 49 | Driver Door Open Switch Signal | ||||
A8 | RD/BK | 744 | Trunk Ajar Switch Signal (Pontiac) | ||||
L- BU | 2380 | Rear Parking Assist Chime Signal (Buick) | |||||
A9 | PK/BK | 1303 | Endgate Ajar Switch Signal | ||||
A10 | YE | 656 | Endgate Open Switch Signal | ||||
A11-A12 | -- | -- | Not Used | ||||
B1 | PK | 775 | Rear Door Open Switch Signal | ||||
B2 | PU | 2279 | Lift Glass Ajar Switch Signal (Pontiac) | ||||
B3 | -- | -- | Not Used | ||||
B4 | RD/BK | 780 | Door Lock/Unlock Switch Signal | ||||
B5-B12 | -- | -- | Not Used | ||||
| |||
|---|---|---|---|
Connector Part Information | Fuse Block-Center Console to BCM Connector | ||
Pin | Wire Color | Circuit No. | Function |
1 | -- | 340 | Battery Positive Voltage |
2 | -- | 1080 | Park Lamp Relay Control |
3 | -- | -- | Not Used |
4 | -- | 1524 | Backup Relay Control |
5 | -- | -- | Not Used |
6 | -- | 2440 | Battery Positive Voltage |
7 | -- | -- | Not Used |
8 | -- | 383 | Trunk Release Control (Pontiac) |
9 | -- | 1732 | Courtesy Lamps Supply Voltage |
10 | -- | 240 | Battery Positive Voltage |
11 | -- | 8 | Instrument Panel Lamp Supply Voltage |
12 | -- | 690 | Courtesy Lamps Control |
13 | -- | 9295 | Tailgate Lock Motor Lock Control |
14 | -- | 9294 | Tailgate Lock Motor Unlock Control |
15 | -- | 550 | Ground |
16 | -- | 294 | Door Lock Actuator Unlock Control |
17 | -- | 694 | Driver Door Lock Actuator Unlock Control |
18 | -- | 295 | Door Lock Actuator Lock Control |
19 | -- | -- | Not Used |
20 | -- | 707 | RAP Relay Control |
21 | -- | 911 | Rear Defog Relay Coil Supply Voltage |
22-23 | -- | -- | Not Used |
24 | -- | 150 | Ground |
| |||||||
|---|---|---|---|---|---|---|---|
Connector Part Information |
| ||||||
Pin | Wire Color | Circuit No. | Function | ||||
1 | -- | -- | Not Used | ||||
2 | PU | 1132 | DLC Class 2 Serial Data | ||||
3 | -- | -- | Not Used | ||||
4 | BK | 1450 | Ground | ||||
5 | BK | 1550 | Ground | ||||
6 | TN/WH | 2500 | High Speed GMLAN Serial Data Bus + (LY7) | ||||
7-13 | -- | -- | Not Used | ||||
14 | TN | 2501 | High Speed GMLAN Serial Data Bus - (LY7) | ||||
15 | -- | -- | Not Used | ||||
16 | OG | 2740 | Battery Positive Voltage | ||||