GM Service Manual Online
For 1990-2009 cars only
Table 1: Endgate Latch - Left - C1 (Pontiac)
Table 2: Endgate Latch - Right - C1 (Pontiac)
Table 3: Endgate Latch - Left - C2 (Pontiac)
Table 4: Endgate Latch - Right - C2 (Pontiac)
Table 5: Instrument Panel (I/P) Switch Assembly C1 (Buick)
Table 6: Instrument Panel (I/P) Switch Assembly C1 (Pontiac)
Table 7: Instrument Panel (I/P) Switch Assembly C2
Table 8: Instrument Panel (I/P) Switch Assembly C3 (Buick)
Table 9: Lift Glass Latch - Left (Pontiac)
Table 10: Lift Glass Latch - Left C2 (Pontiac)
Table 11: Lift Glass Latch - Right C1 (Pontiac)
Table 12: Lift Glass Latch - Right C2 (Pontiac)
Table 13: Liftgate Latch - C1 (Buick)
Table 14: Liftgate Latch - C2 (Buick)
Table 15: Lock Cylinder Switch - Endgate (Pontiac)

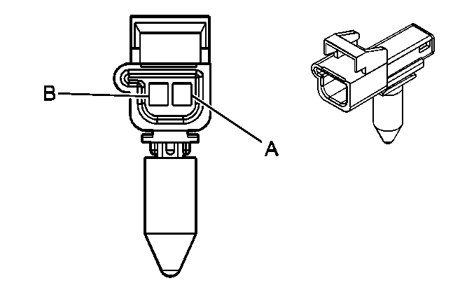
Endgate Latch - Left - C1 (Pontiac)


Object Number: 38608  Size: CH

Connector Part Information

    • 12162190
    • 4-Way F Metri-Pack 150.2 Series Sealed P2S (BK)

Pin

Wire Color

Circuit No.

Function

A

BK

450

Ground

B

YE

656

Endgate Open Switch Signal

C

PK/BK

1303

Endgate Ajar Switch Signal

D

--

--

Not Used

Endgate Latch - Right - C1 (Pontiac)


Object Number: 38608  Size: CH

Connector Part Information

    • 12162190
    • 4-Way F Metri-Pack 150.2 Series Sealed P2S (BK)

Pin

Wire Color

Circuit No.

Function

A

--

--

Not Used

B

PK/BK

1303

Endgate Ajar Switch Signal

C

YE

656

Endgate Open Switch Signal

D

BK

450

Ground

Endgate Latch - Left - C2 (Pontiac)


Object Number: 68721  Size: CH

Connector Part Information

    • 15300027
    • 2-Way F Metri-Pack 280 Series (BK)

Pin

Wire Color

Circuit No.

Function

A

OG

9294

Liftgate Motor Unlock

B

RD

9295

Liftgate Motor Lock

Endgate Latch - Right - C2 (Pontiac)


Object Number: 68721  Size: CH

Connector Part Information

    • 15300027
    • 2-Way F Metri-Pack 280 Series (BK)

Pin

Wire Color

Circuit No.

Function

A

OG

9294

Liftgate Motor Unlock

B

RD

9295

Liftgate Motor Lock

Instrument Panel (I/P) Switch Assembly C1 (Buick)


Object Number: 73232  Size: CH

Connector Part Information

    • 12041301
    • 8-Way F Metri-Pack 280 Series (BK)

Pin

Wire Color

Circuit No.

Function

A

GY

8

Instrument Panel Lamp Supply Voltage

B

BK

1450

Ground

C-E

--

--

Not Used

F

GY

391

Rear Window Wiper Switch Signal

G

YE

343

Accessory Voltage

H

D- GN

392

Rear Window Washer Pump Control

Instrument Panel (I/P) Switch Assembly C1 (Pontiac)


Object Number: 646190  Size: CH

Connector Part Information

    • 12162455
    • 8-Way F 280 Series (NAT)

Pin

Wire Color

Circuit No.

Function

A

GY

8

Instrument Panel Lamp Supply Voltage

B

BK

150

Ground

C

WH/BK

1221

Liftgate Release Switch Signal

D

BN/WH

1571

Traction Control Switch Signal

E-H

--

--

Not Used

Instrument Panel (I/P) Switch Assembly C2


Object Number: 73235  Size: CH

Connector Part Information

    • 12047976
    • 8-Way F Metri-Pack 280 Series (BU)

Pin

Wire Color

Circuit No.

Function

A

GY

8

Instrument Panel Lamp Supply Voltage 1

B

BK

150

Ground

C

L-GN

911

Rear Defog Relay Coil Supply Voltage

D

L-BU

1462

Driver Heated Seat Switch Signal

E

L-BU/BK

1505

Front Passenger Heated Seat Switch Signal

F-H

--

--

Not Used

Instrument Panel (I/P) Switch Assembly C3 (Buick)


Object Number: 646190  Size: CH

Connector Part Information

    • 12162455
    • 8-Way F 280 Series (NAT)

Pin

Wire Color

Circuit No.

Function

A

GY

8

Instrument Panel Lamp Supply Voltage

B

BK

150

Ground

C-D

--

--

Not Used

E

D-BN/WH

1571

Traction Control Switch Signal

F

--

--

Not Used

G

L-GN

9380

Rear Parking Assist Disable Switch Signal

H

BN

241

Ignition 3 Voltage

Lift Glass Latch - Left (Pontiac)


Object Number: 333035  Size: CH

Connector Part Information

    • 12047781
    • 3-Way F Metri-Pack 150 Series (BK)

Pin

Wire Color

Circuit No.

Function

A

BK

450

Ground

B

PU

2279

Lift Glass Ajar Switch Signal

C

--

--

Not Used

Lift Glass Latch - Left C2 (Pontiac)


Object Number: 280768  Size: CH

Connector Part Information

    • 12052832
    • 2-Way F Metri-Pack 150 Series (BK)

Pin

Wire Color

Circuit No.

Function

A

L-BU

383

Lift Glass Release Control

B

BK

450

Ground

Lift Glass Latch - Right C1 (Pontiac)


Object Number: 333035  Size: CH

Connector Part Information

    • 12047781
    • 3-Way F Metri-Pack 150 Series (BK)

Pin

Wire Color

Circuit No.

Function

A

BK

450

Ground

B

RD/BK

744

Lift Glass Ajar Switch Signal

C

--

--

Not Used

Lift Glass Latch - Right C2 (Pontiac)


Object Number: 280768  Size: CH

Connector Part Information

    • 12052832
    • 2-Way F Metri-Pack 150 Series (BK)

Pin

Wire Color

Circuit No.

Function

A

L-BU

383

Lift Glass Release Control

B

BK

450

Ground

Liftgate Latch - C1 (Buick)


Object Number: 684948  Size: CH

Connector Part Information

    • 15354716
    • 4-Way F MGT 150 Series Sealed (BK)

Pin

Wire Color

Circuit No.

Function

A

--

--

Not Used

B

PK/BK

1303

Endgate Ajar Switch Signal

C

YE

656

Endgate Open Switch Signal

D

BK

1150

Ground

Liftgate Latch - C2 (Buick)


Object Number: 68721  Size: CH

Connector Part Information

    • 15300027
    • 2-Way F Metri-Pack 150 Series (BK)

Pin

Wire Color

Circuit No.

Function

A

WH

1304

Liftgate Motor Lock Control

B

PU

1305

Liftgate Lock Motor Unlock Control

Lock Cylinder Switch - Endgate (Pontiac)


Object Number: 684945  Size: CH

Connector Part Information

    • 15354699
    • 2-Way M Metri-Pack 150 Series (WH)

Pin

Wire Color

Circuit No.

Function

A

PU

9124

Liftgate Release Switch Signal

B

BK

450

Ground