Tools Required
| • | J 38734
Intermediate Spring Compressor Adapter |
- Inspect the reverse clutch housing for the following:
| • | Worn or damaged splines |
| • | Seal ring groove nicks or burrs |
| • | Cracked or blocked fluid passages |
| • | Worn or damaged bushing |
- Inspect the reverse clutch piston and the direct clutch piston for the following:
| • | Cracks or damage to seal grooves |
| • | Damaged ball check valve |
| • | Worn or damaged clutch plates |
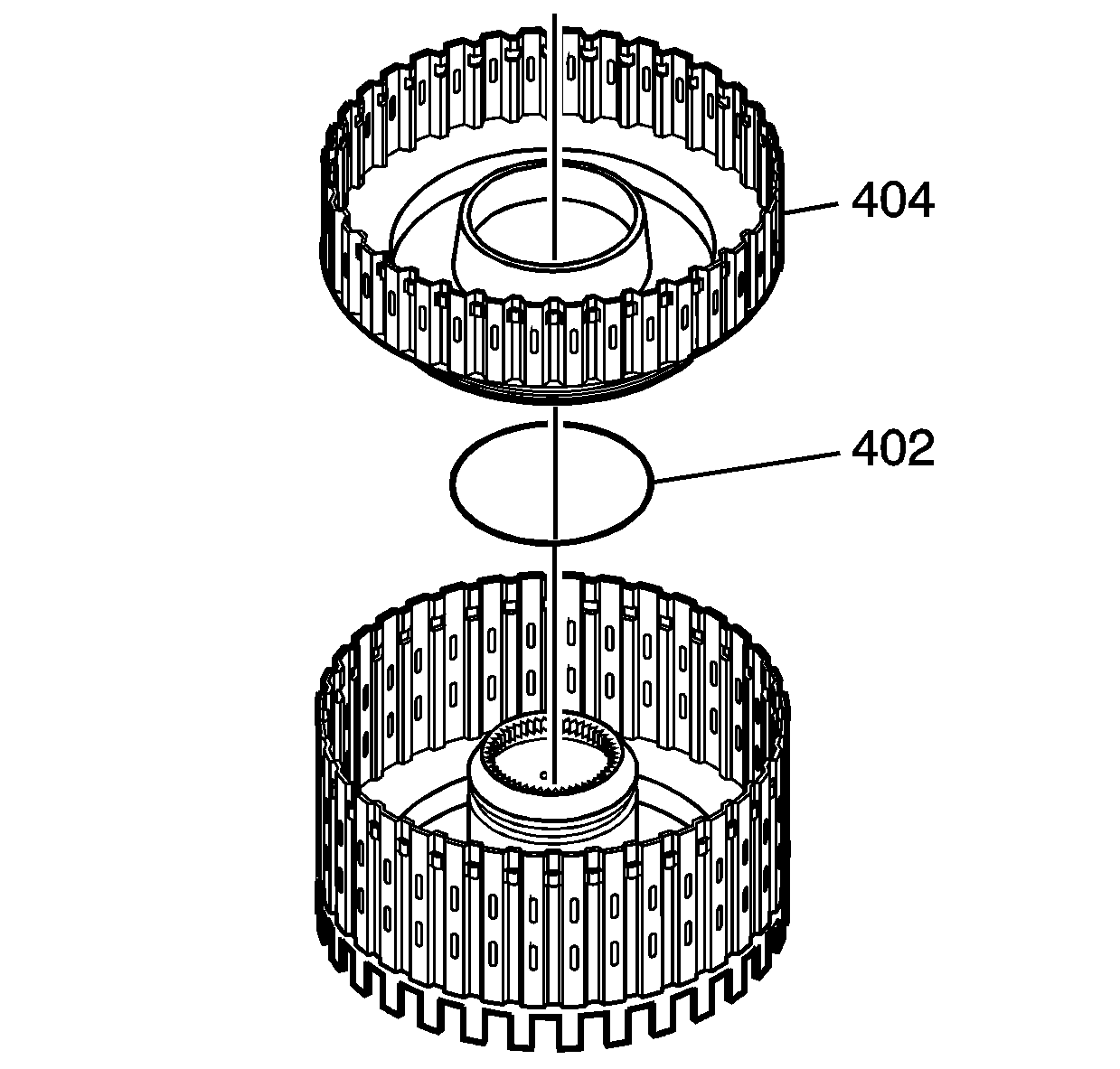
- Install the reverse clutch piston inner seal (402).
- Install the reverse clutch piston (404).
- Install
J 45133
onto the direct and reverse clutch assembly.
- Install the direct clutch piston (406).
- Install the piston spring (407).
- Install the piston spring retainer (408).
- Use
J 38734
(1) and
J 45139
(2) to compress the direct and reverse piston spring.
- Install the direct and reverse clutch spring retainer ring (409).
- Install the apply plate (410).
- Install the clutch plates (412, 411), starting with the direct clutch plate (411) with outer splines, alternating with the direct clutch plate (412) with inner splines. Refer to
Clutch Plate Selection Specifications.
- Install the backing plate (413).
- Install the backing plate retainer (414).
- Measure the distance between the direct clutch backing plate and the bottom of the gage bar. Measure three
times in different locations on the backing plate. Record this as H1.
- Apply 65 PSI (448.17 kPa) of air pressure to the specified port. Measure the distance between the direct clutch backing plate and the bottom of the gage bar. Measure three times in different locations on the backing plate. Record this
as H2.
- Subtract H2 from H1. This is the clutch pack travel. Refer to
Clutch Piston Travel Specifications.
- Install the reverse clutch spacer (415).
- Install the apply plate (416).
- Install the clutch plates (417, 418), starting with clutch plates (417) with outer splines, alternating with clutch plates (418) with inner splines. Refer to
Clutch Plate Selection Specifications.
- Install the reverse clutch backing plate (419).
- Install the reverse clutch backing plate retainer (420).
- Measure the distance between the reverse clutch backing plate and the bottom of the gage bar. Measure three
times in different locations on the backing plate. Record this as H1.
- Apply 65 PSI (448.17 kPa) of air pressure to the specified port. Measure the distance between the reverse clutch backing plate and the bottom of the gage bar. Measure three times in different locations on the backing plate. Record this
as H2.
- Subtract H2 from H1 this is the clutch pack travel. Refer to
Clutch Piston Travel Specifications.