GM Service Manual Online
For 1990-2009 cars only

    Object Number: 801949  Size: SH
  1. Install the 4-5 shift valve spring (373).
  2. Install the 4-5 shift valve (374).
  3. Install the 4-5 shift control valve (375).
  4. Install the 4-5 shift solenoid (376).
  5. Install the 4-5 shift solenoid retainer (351).

  6. Object Number: 801948  Size: SH
  7. Install the 2-3 shift valve spring (372).
  8. Install the 2-3 shift valve (371).
  9. Install the 2-3 shift control valve (370).
  10. Install the 2-3 shift solemoid (369).
  11. Install the 2-3 shift solenoid retainer (351).

  12. Object Number: 801947  Size: SH
  13. Install the 1-2 shift control valve (366).
  14. Install the 1-2 shift control valve spring (367).
  15. Install the 1-2 shift control valve retainer (343).
  16. Install the 1-2 shift solenoid (368).
  17. Install the 1-2 shift solenoid retainer (351).

  18. Object Number: 801946  Size: SH
  19. Install the manual valve link retainer (380).
  20. Install the manual valve link (379).
  21. Install the manual valve link retainer (378).
  22. Install the manual valve (377).

  23. Object Number: 801945  Size: SH
  24. Install the low pressure control valve (383).
  25. Install the low pressure control valve spring (382).
  26. Install the bore plug (381).
  27. Install the low pressure control valve bore retainer (384).

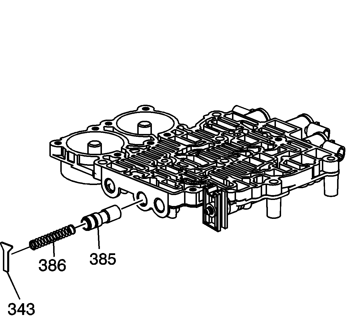
  28. Object Number: 801944  Size: SH
  29. Install the reverse lock out valve (385).
  30. Install the reverse lock out spring (386).
  31. Install the reverse lock out valve retainer (343).

  32. Object Number: 801943  Size: SH
  33. Install the 1-2 shift valve (387).
  34. Install the 1-2 shift valve spring (388).
  35. Install the 1-2 shift valve retainer (343).