GM Service Manual Online
For 1990-2009 cars only
Makes
🢒
Pontiac
🢒
2005
🢒
Aztek - FWD
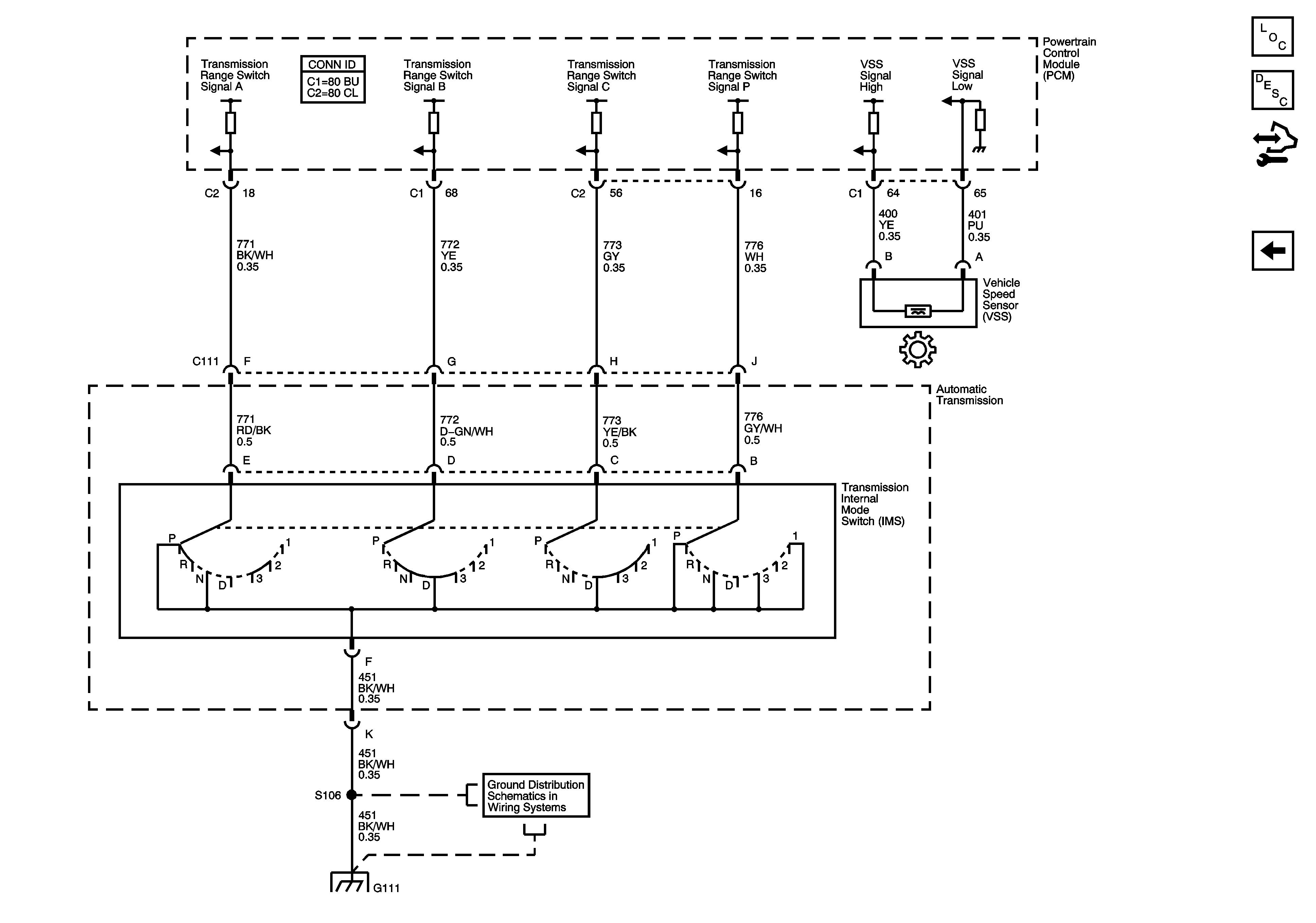
🢒 Transaxle Range Switch and VSS - 3.4L
Transaxle Range Switch and VSS - 3.4L
Transaxle Range Switch and VSS
Master Electrical Component List
Electronic Component Description
Control Module References
Switches, ISS and Pressure Control - 3.4L
G132 - LY7 and G111
G132 - LY7 and G111