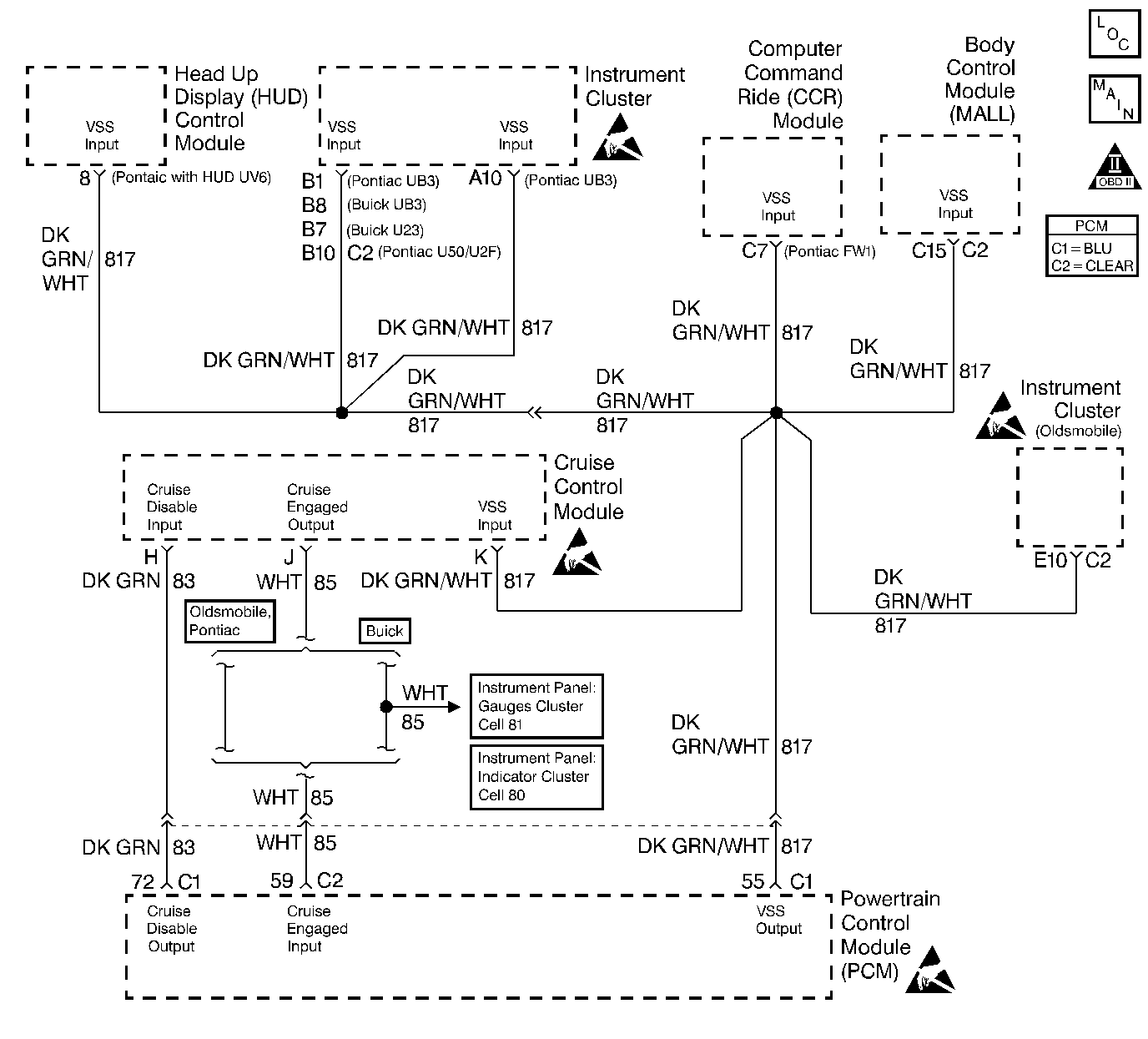
The powertrain control module (PCM) inhibits cruise control operation when certain conditions are not appropriate for cruise control operation. The PCM removes the ground from the cruise control inhibit signal circuit in order to disengage cruise control operation.
| • | The PCM is commanding the SMCC module to inhibit cruise control operation (Cruise Inhibit circuit not grounded). |
| • | The Cruise Status circuit signal indicates that cruise control is engaged. |
| • | The above conditions are present for longer than 1 second. |
| • | The PCM will not illuminate the malfunction indicator lamp (MIL). |
| • | The PCM will store conditions which were present when the DTC set as Failure Records data only. This information will not be stored as Freeze Frame data. |
| • | A History DTC will clear after 40 consecutive warm-up cycles have occurred without a malfunction. |
| • | The DTC can be cleared by using the scan tool Clear Info function. |
Check for the following conditions:
| • | Poor connection at the PCM. |
| Inspect harness connectors for backed out terminals, improper mating, broken locks, improperly formed or damaged terminals, and poor terminal to wire connection. |
| • | Damaged harness. |
| Inspect the wiring harness for damage. If the harness appears to be OK, observe the Cruise Status display on the scan tool while moving connectors and wiring harnesses related to the Stepper Motor Cruise Control module. A change in the display will indicate the location of the malfunction. |
If DTC P1554 cannot be duplicated, the information included in the Failure records data can be useful in determining how many ignition cycles have passed since the DTC was last set.
Numbers below refer to the step numbers on the Diagnostic Table.
Step | Action | Values | Yes | No |
|---|---|---|---|---|
1 | Was the Powertrain On-Board Diagnostic (OBD) System Check performed? | -- | ||
2 | Is DTC P1662 also set? | -- | ||
3 |
Is voltage greater than the specified value? | 7V | ||
4 |
Is the test light ON? | -- | ||
5 |
Is the test light ON? | -- | ||
6 | Replace the cruise control module. Refer to Cruise Control Module Replacement in Cruise Control. Is action complete? | -- | -- | |
|
Important:: The replacement PCM must be programmed. Refer to Powertrain Control Module Replacement/Programming . Replace the PCM. Is action complete? | -- | -- | ||
8 | Locate and repair short to ground in the cruise engaged status circuit. Refer to Wiring Repairs in Wiring Systems. Is action complete? | -- | -- | |
9 |
Did DTC P1554 set? | -- | System OK |