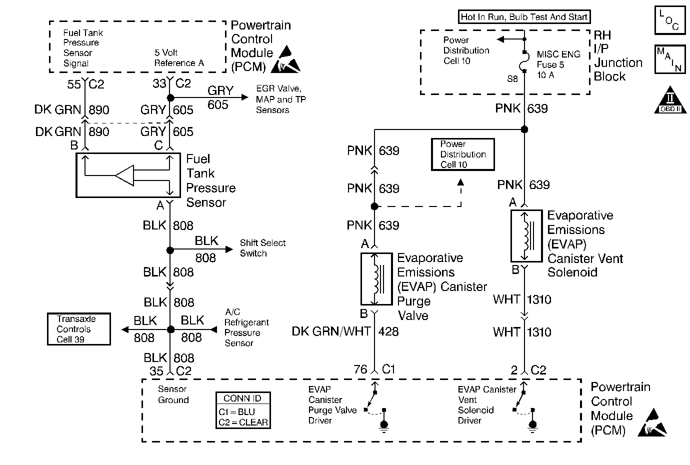
Output Driver Modules (ODMs) are used by the PCM to turn on many of the current-driven devices that are needed to control various engine and Transmission functions. Each ODM is capable of controlling up to 7 separate outputs by applying ground to the device which the PCM is commanding ON. Unlike the Quad Driver Modules (QDMs) used in prior model years, ODMs have the capability of diagnosing each output circuit individually. DTC P1676 set indicates an improper voltage level has been detected on the output circuit which controls the EVAP Canister Purge Solenoid Valve.
The ignition is ON.
| • | An improper voltage level has been detected on the output circuit which controls the EVAP Canister Purge Solenoid Valve. |
| • | The above conditions are present for at least 30 seconds. |
| • | The PCM will illuminate the malfunction indicator lamp (MIL) during the second consecutive trip in which the diagnostic test has been run and failed. |
| • | The PCM will store conditions which were present when the DTC set as Freeze Frame/Failure Records data. |
| • | The PCM will turn OFF the malfunction indicator lamp (MIL) during the third consecutive trip in which the diagnostic has run and passed. |
| • | The history DTC will clear after 40 consecutive warm-up cycles have occurred without a malfunction. |
| • | The DTC can be cleared by using a scan tool. |
Check for the following conditions:
| • | Poor connection at the PCM. |
| Inspect harness connectors for backed out terminals, improper mating, broken locks, improperly formed or damaged terminals, and poor terminal to wire connection. |
| • | Damaged harness. |
| • | Inspect the wiring harness for damage. If the harness appears to be OK, disconnect the PCM, turn the ignition ON and observe a voltmeter connected between the solenoid control circuit and ground at the PCM harness connector while moving connectors and wiring harnesses related to the solenoid. A change in voltage will indicate the location of the malfunction. |
Review the Fail Records vehicle mileage since the diagnostic test last failed. This may help determine how often the condition that caused the DTC to be set occurs.
The number(s) below refer to the step number(s) on the diagnostic table.
The powertrain OBD System Check prompts you to complete some basic checks and store the freeze frame and failure records data on the scan tool.
Listen for an audible clicking when the Purge solenoid operates. Command both the Increase and Decrease states. Repeat the commands as necessary.
Tests for voltage at the feed side of the solenoid.
Verifies that the PCM is providing ground to the solenoid.
Tests if ground is constantly being applied to the solenoid.
The PCM utilizes Electrically Erasable Programmable Read Only Memory (EEPROM). When the PCM is replaced, the new PCM must be programmed.
Step | Action | Value(s) | Yes | No |
|---|---|---|---|---|
Did you perform the Powertrain On-Board Diagnostic (OBD) System Check? | -- | Go to Step 2 | ||
Does the solenoid respond with each command? | -- | Go to Diagnostic Aids | Go to Step 3 | |
Does the test lamp illuminate? | -- | Go to Step 4 | Go to Step 10 | |
Does the test lamp turn ON and OFF with each command? | -- | Go to Step 8 | Go to Step 5 | |
Does the test lamp remain illuminated with each command? | -- | Go to Step 7 | Go to Step 6 | |
6 | Test the control circuit of the solenoid for a short to voltage or an open. Refer to Wiring Repairs . Did you find and correct the condition? | -- | Go to Step 13 | Go to Step 9 |
7 | Test the control circuit of the solenoid for a short to ground. Refer to Wiring Repairs . Did you find and correct the condition? | -- | Go to Step 13 | Go to Step 9 |
8 | Inspect for poor connections at the solenoid. Refer to Intermittents and Poor Connections Diagnosis and Connector Repairs . Did you find and correct the condition? | -- | Go to Step 13 | Go to Step 11 |
9 | Inspect for poor connections at the PCM. Refer to Intermittents and Poor Connections Diagnosis and Connector Repairs in Wiring Systems. Did you find and correct the condition? | -- | Go to Step 13 | Go to Step 12 |
10 | Repair the feed circuit of the solenoid. Refer to Wiring Repairs . Did you complete the repair? | -- | Go to Step 13 | -- |
11 | Replace the solenoid. Refer to Evaporative Emission Canister Purge Solenoid Valve Replacement . Did you complete the replacement? | -- | Go to Step 13 | -- |
|
Important: Perform the set up procedure for the PCM. Refer to Powertrain Control Module Replacement/Programming .Replace the PCM. Did you complete the replacement? | -- | Go to Step 13 | -- | |
13 |
Does the DTC reset? | -- | Go to Step 2 | System OK |