GM Service Manual Online
For 1990-2009 cars only

DTC 035 Control Assembly to Programmer Data Loss Buick, Oldsmobile


Object Number: 387861  Size: MF
HVAC Components
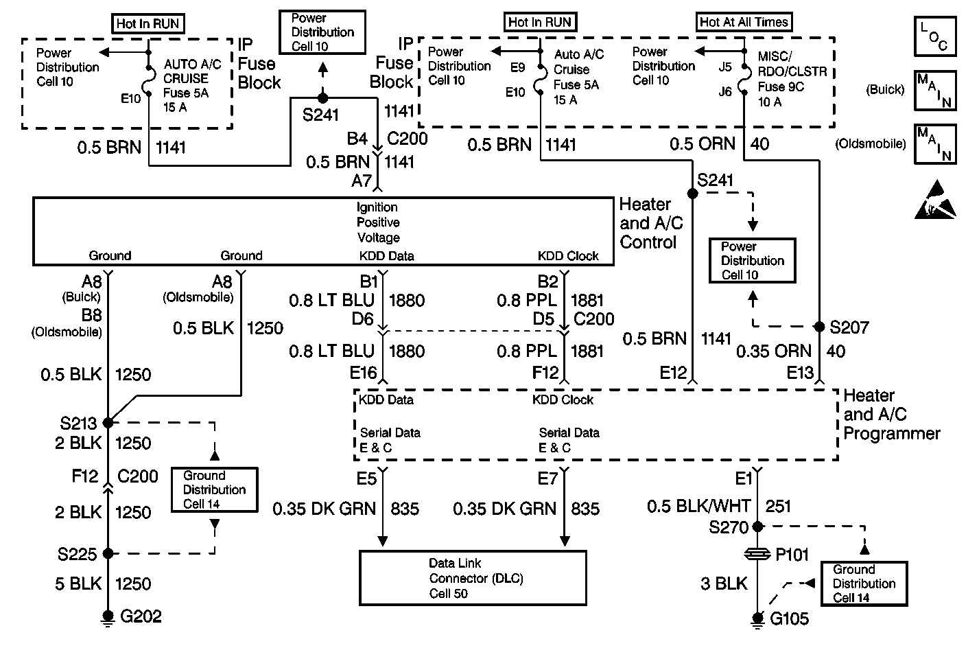
Cell 68: IP Fuse Block, Heater and A/C Control Assembly - Buick
Cell 68: IP Fuse Block, Heater and A/C Control Assembly - Oldsmobile
Handling ESD Sensitive Parts Notice

Circuit Description

The HVAC control assembly sends input data through circuit 1880 to the HVAC programmer. The HVAC programmer uses this data to control the actuators on the HVAC module assembly.

Conditions for Setting the DTC

    • The ignition is on.
    • A circuit is open or shorted.

Action Taken When the DTC Sets

Code 035 is set.

Conditions for Clearing the DTC

    • Using a Scan Tool .
    • A history DTC will clear when 40 consecutive ignition cycles have occurred without a malfunction.
    • HVAC programmer battery voltage is interrupted.

Test Description

  1. Determines if the programmer is the fault or a poor connection exists.

Step

Action

Value(s)

Yes

No

1

  1. Turn the ignition switch to the OFF position.
  2. Disconnect the HVAC control assembly.
  3. Turn the ignition switch to the RUN position.
  4. Connect a Scan Tool and set to HVAC DTC.
  5. Install a jumper between HVAC control assembly terminal B1 and terminal B2.

Does DTC 35 change status from CURRENT to HISTORY as displayed on the Scan Tool ?

--

Go to Step 3

Go to Step 2

2

  1. Turn the ignition switch to the OFF position.
  2. Remove the jumper wire.
  3. Turn the ignition switch to the RUN position.
  4. Measure the voltage at terminal B1 and terminal A8 to the harness connector of the HVAC control assembly.
  5. Refer to Measuring Voltage in Wiring Systems.

Does the voltage approximately equal the specified value?

8 V

Go to Step 4

Go to Step 5

3

Replace the HVAC control assembly.

Refer to Control Assembly Replacement or refer to Control Assembly Replacement .

Is the repair complete?

--

System OK

--

4

  1. Reconnect the HVAC control assembly.
  2. Turn the HVAC control assembly to the OFF position.
  3. Backprobe terminal B1 and terminal B2 to the harness connector of the HVAC control assembly.
  4. Refer to Probing Electrical Connectors in Wiring Systems.

Does the voltage approximately equal the specified value?

3.5 V

Go to Step 8

Go to Step 9

5

Backprobe terminal F12 and terminal E1 of the HVAC programmer harness connector.

Refer to Probing Electrical Connectors in Wiring Systems.

Does the voltage approximately equal the specified value?

8 V

Go to Step 6

Go to Step 7

6

Repair the open in CKT 1881.

Refer to Wiring Repairs in Wiring Systems.

Is the repair complete?

--

System OK

--

7

  1. Inspect the HVAC programmer for proper terminal contact.
  2. Refer to Intermittents and Poor Connections Diagnosis in Wiring Systems.

  3. If terminal contact is proper, replace the HVAC programmer. Refer to Programmer Replacement .

Is the repair complete?

--

System OK

--

8

Backprobe the HVAC programmer harness connector terminal E16 and terminal E1.

Refer to Probing Electrical Connectors in Wiring Systems.

Does the voltage approximately equal the specified value?

3.5 V

Go to Step 10

Go to Step 11

9

  1. Inspect for proper terminal contact.
  2. If terminal contact is proper, replace the HVAC control assembly. Refer to Control Assembly Replacement or Control Assembly Replacement .

Is the repair complete?

--

System OK

--

10

  1. Inspect the HVAC programmer harness connector for proper terminal contact.
  2. If terminal contact is proper, replace the HVAC programmer. Refer to Programmer Replacement .

Is the repair complete?

--

System OK

--

11

Repair the open in CKT 1880.

Refer to Wiring Repairs in Wiring Systems.

Is the repair complete?

--

System OK

--