GM Service Manual Online
For 1990-2009 cars only
Makes
🢒
Pontiac
🢒
2000
🢒
Bonneville
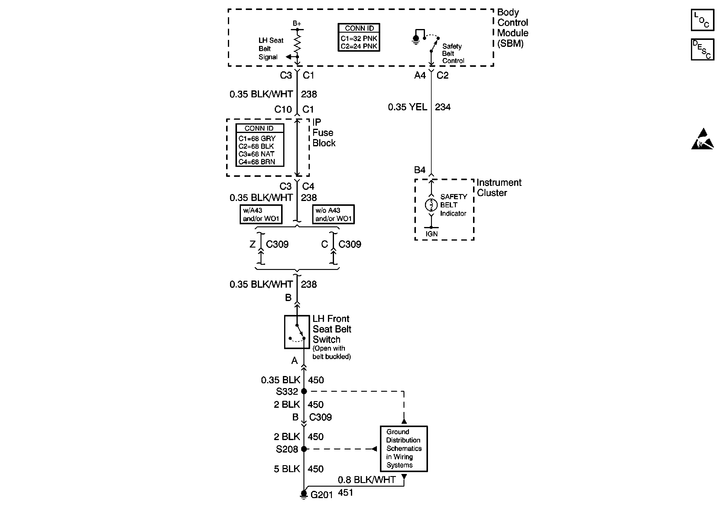
🢒 Seat Belt Schematic
Seat Belt Schematic
Seat Belt Component Views
Seat Belt System Circuit Description
Handling ESD Sensitive Parts Notice
G201, 1 of 2