GM Service Manual Online
For 1990-2009 cars only

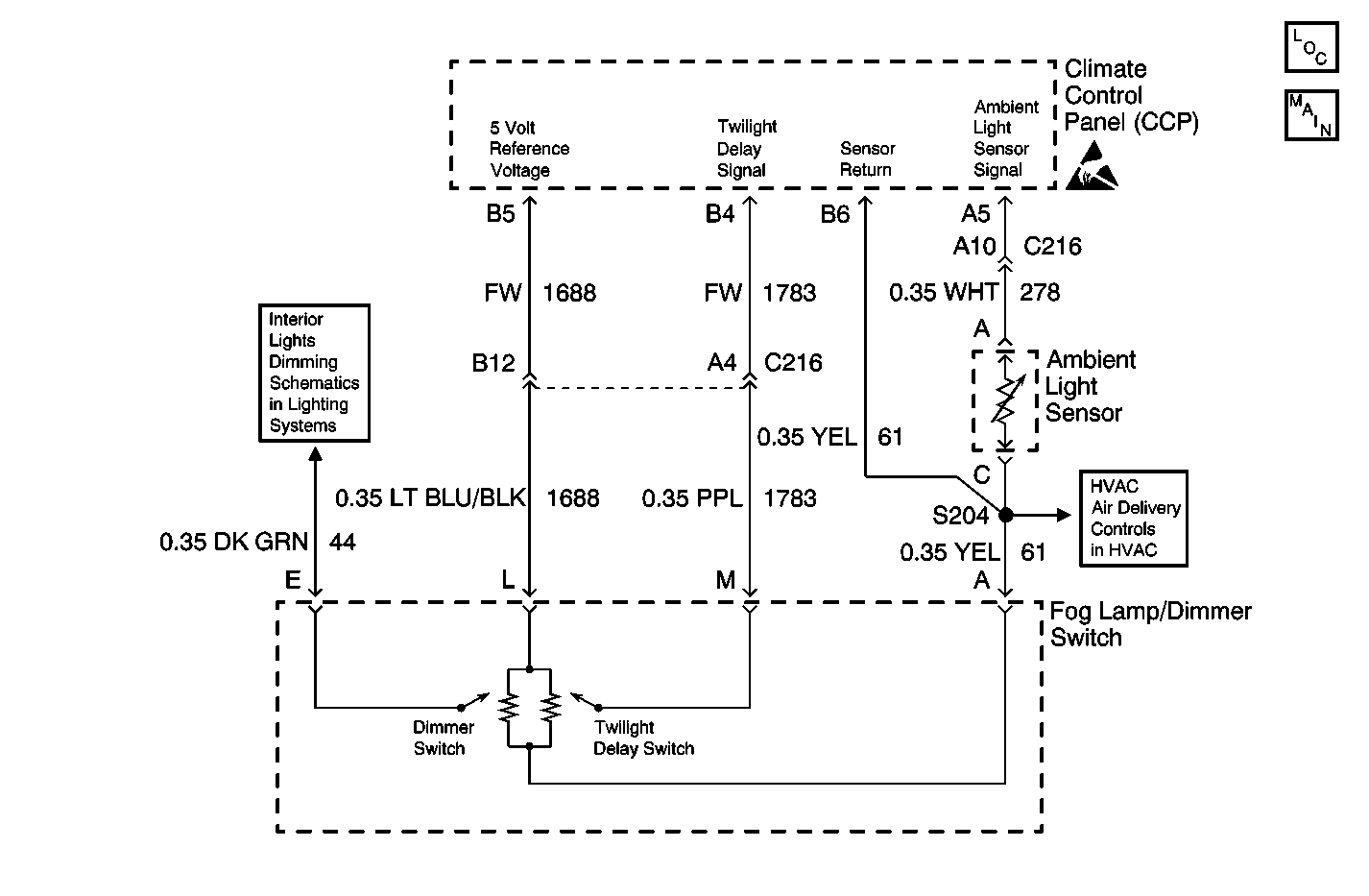
Object Number: 425359  Size: MF
Lighting Systems Components
Headlamp Switch, Ambient Light Sensor (C67)
Handling ESD Sensitive Parts Notice
HVAC Air Delivery/Temperature Control Schematics
Interior Lights Dimming Schematics

Circuit Description

The ambient light sensor is a photo transistor that the output changes as the light level changes. The climate control panel (CCP) module determines the ambient light based on the voltage from the ambient light sensor. The CCP module controls the headlamp automatic, on/off and delayed off functions.

Conditions for Running the DTC

    • The CCP is powered.
    • DTC B1327 is not current.

Conditions for Setting the DTC

The feedback voltage is less than 0.2V for greater than 2 seconds.

Action Taken When the DTC Sets

The CCP sets the ambient light status to DARK.

Conditions for Clearing the DTC

The CCP does not detect a voltage less than the predetermined value during the diagnostic self test.

Test Description

The numbers below refer to the step numbers on the diagnostic table.

  1. This step tests the ambient light signal circuit for an open, short to ground or short to power.

  2. This step test the signal return circuit for an open or short to ground.

Step

Action

Value(s)

Yes

No

1

Did you perform the Lighting Systems Diagnostic System Check?

--

Go to Step 2

Go to Diagnostic System Check - Lighting Systems

2

  1. Install a scan tool.
  2. Turn ON the ignition, with the engine OFF.
  3. With a scan tool, observe the Ambient Light Sensor parameter in the climate control panel (CCP) module data list.

Does the scan tool indicate the voltage is greater than the specified value?

0.2 V

Go to Step 8

Go to Step 3

3

  1. Turn OFF the ignition.
  2. Disconnect the ambient light sensor.
  3. Turn ON the ignition, with the engine OFF.
  4. Measure the voltage from the ambient light sensor signal circuit to a good ground.

Does the voltage measure near the specified value?

5 V

Go to Step 4

Go to Step 5

4

Measure the voltage from the ambient light signal circuit to the sensor return circuit.

Does the voltage measure near the specified value?

5 V

Go to Step 7

Go to Step 6

5

Test the ambient light sensor signal circuit for a short to ground. Refer to Circuit Testing and Wiring Repairs in Wiring Systems.

Did you find and correct the condition?

--

Go to Step 11

Go to Step 8

6

Test the sensor return circuit for an open. Refer to Circuit Testing and Wiring Repairs in Wiring Systems.

Did you find and correct the condition?

--

Go to Step 11

Go to Step 8

7

Inspect for poor connections at the ambient light sensor harness connector. Refer to Testing for Intermittent Conditions and Poor Connections and Connector Repairs in Wiring Systems.

Did you find and correct the condition?

--

Go to Step 11

Go to Step 9

8

Inspect for poor connections at the CCP harness connector. Refer to Testing for Intermittent Conditions and Poor Connections and Connector Repairs in Wiring Systems.

Did you find and correct the condition?

--

Go to Step 11

Go to Step 10

9

Replace the ambient light sensor. Refer to Sunload and Twilight Sentinel Sensor Replacement in Instrument Panel, Gauges, and Console.

Did you complete the replacement?

--

Go to Step 11

--

10

Replace the CCP. Refer to Control Assembly Replacement in HVAC Systems - Manual.

Did you complete the replacement?

--

Go to Step 11

--

11

Operate the system in order to verify the repair.

Did you find and correct the condition?

--

System OK

Go to Step 2