GM Service Manual Online
For 1990-2009 cars only

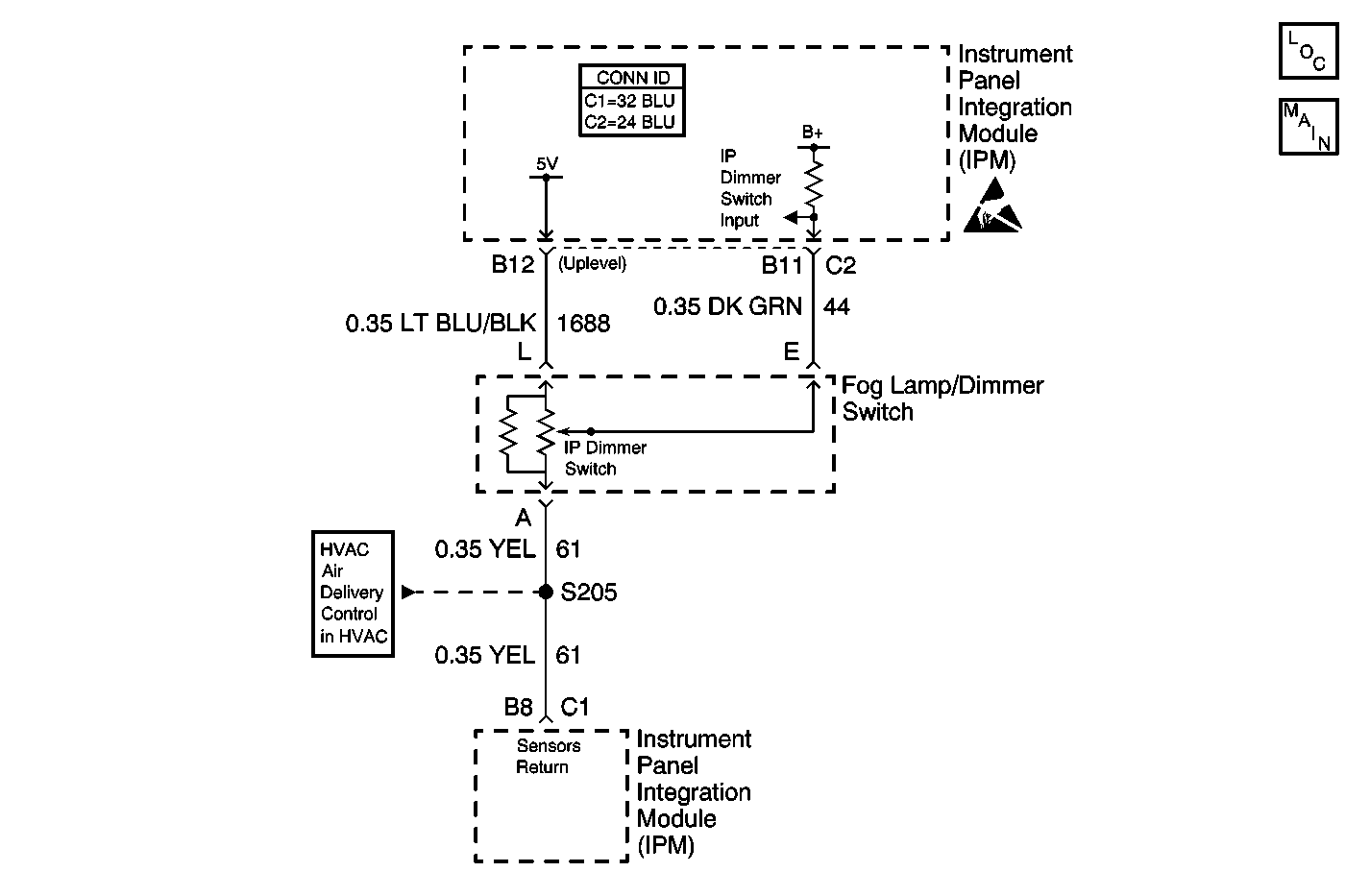
Object Number: 598670  Size: MF
Lighting Systems Components
Dimming Control
Handling ESD Sensitive Parts Notice
Temperature Sensors W/CJ2

Circuit Description

The interior lamp dimmer switch is a potentiometer. The instrument panel module (IPM) determines the control setting based on the voltage from the interior lamp dimmer switch. The IPM sends out a class 2 message to the dash integration module.

Conditions for Running the DTC

The IPM is powered.

Conditions for Setting the DTC

The interior lamp potentiometer voltage is less than 0.09V or greater than 4.75V.

Action Taken When the DTC Sets

The IPM sets the dimming level to full brightness for all displays.

Conditions for Clearing the DTC

The IPM does not detect a voltage that is less than or greater than the predetermined value during the diagnostic self test.

Test Description

The numbers below refer to the step numbers on the diagnostic table.

  1. This step tests for 5 volt reference voltage at the fog lamp switch.

  2. This step tests the signal return circuit for an open or short to power.

  3. This step test the IP Dimmer input circuit for an open or short to ground.

Step

Action

Value(s)

Yes

No

1

Did you perform the Lighting Systems Diagnostic System Check?

--

Go to Step 2

Go to Diagnostic System Check - Lighting Systems

2

  1. Install a scan tool.
  2. Turn ON the ignition, with the engine OFF.
  3. With a scan tool observe the Interior Dim Pot parameter in the instrument panel module (IPM) data list.

Does the scan tool indicate the voltage is within the specified range?

0.09-4.75 V

Go to Step 10

Go to Step 3

3

  1. Turn OFF the ignition.
  2. Disconnect the fog lamp switch.
  3. Turn ON the ignition, with the engine OFF.
  4. Measure the voltage from the 5 volt reference circuit to a good ground.

Does the voltage measure near the specified value?

5 V

Go to Step 4

Go to Step 6

4

Measure the voltage from the 5 volt reference circuit to the sensor return circuit at the fog lamp switch connector.

Does the voltage measure near the specified value?

5 V

Go to Step 5

Go to Step 7

5

Measure the voltage from the interior dim pot signal circuit to the sensor return circuit at the fog lamp switch connector.

Does the voltage measure near the specified value?

5 V

Go to Step 9

Go to Step 8

6

Test the 5 volt reference circuit for a short or an open. Refer to Circuit Testing and Wiring Repairs in Wiring Systems.

Did you find and correct the condition?

--

Go to Step 13

Go to Step 10

7

Test the sensor return circuit for an open. Refer to Circuit Testing and Wiring Repairs in Wiring Systems.

Did you find and correct the condition?

--

Go to Step 13

Go to Step 10

8

Test the interior dim pot signal circuit for a short or an open. Refer to Circuit Testing and Wiring Repairs in Wiring Systems.

Did you find and correct the condition?

--

Go to Step 13

Go to Step 10

9

Inspect for poor connections at the fog lamp switch. Refer to Testing for Intermittent Conditions and Poor Connections and Connector Repairs in Wiring Systems.

Did you find and correct the condition?

--

Go to Step 13

Go to Step 11

10

Inspect for poor connections at the IPM. Refer to Testing for Intermittent Conditions and Poor Connections and Connector Repairs in Wiring Systems.

Did you find and correct the condition?

--

Go to Step 13

Go to Step 12

11

Replace the fog lamp switch. Refer to Fog Lamp Switch Replacement .

Did you complete the replacement?

--

Go to Step 13

--

12

Replace the IPM. Refer to Instrument Panel Module Replacement in Body Control System.

Did you complete the replacement?

--

Go to Step 13

--

13

Operate the system in order to verify the repair.

Did you find and correct the condition?

--

System OK

Go to Step 2