GM Service Manual Online
For 1990-2009 cars only
Makes
🢒
Pontiac
🢒
2001
🢒
Bonneville
🢒
Steering
🢒
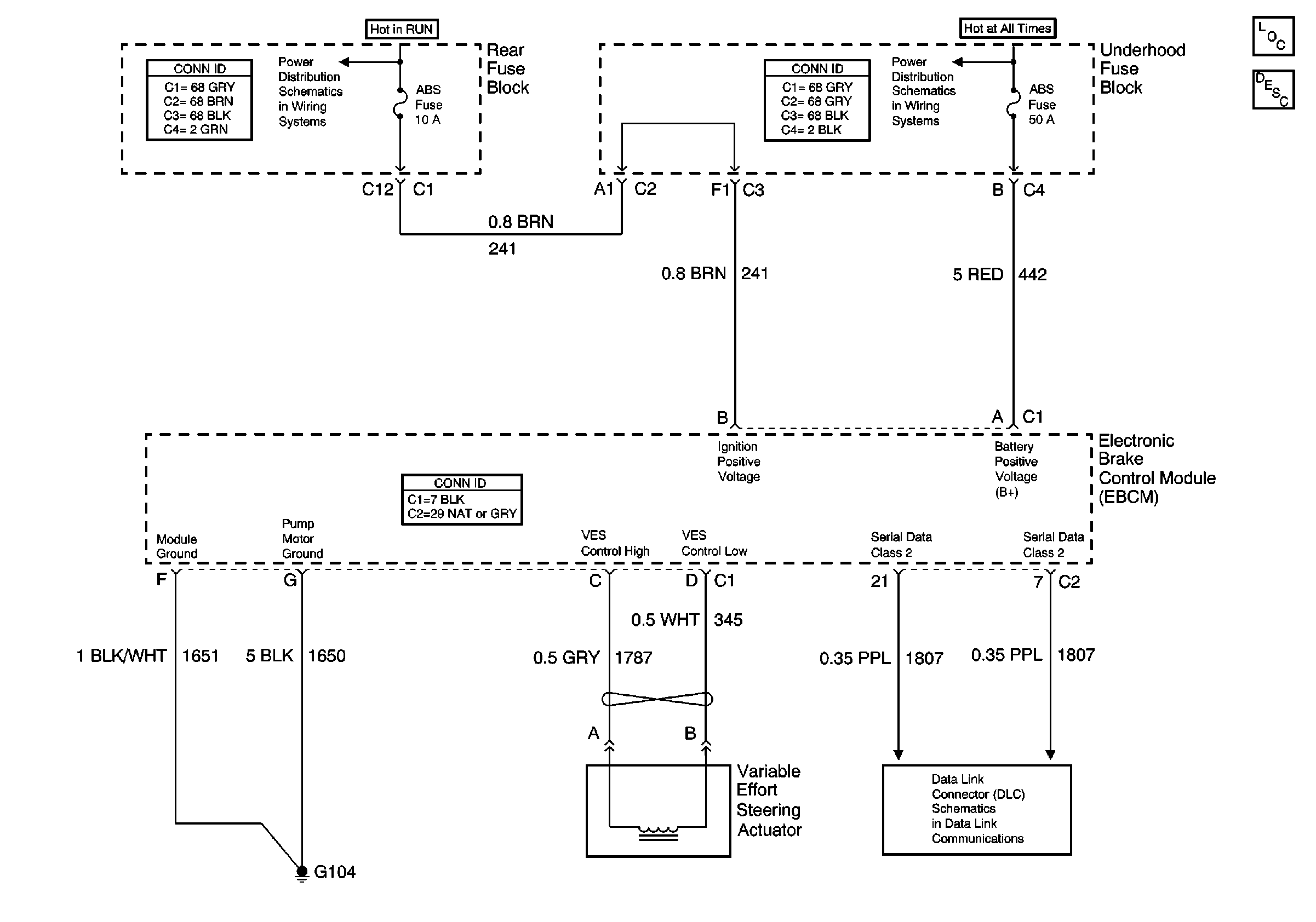
Variable Effort Steering
🢒 Steering Assist Schematics
Master Electrical Component List
Battery Voltage to the Rear Fuse Block
Battery Feed to the Fuse Block - Underhood
Class 2 Serial Data