GM Service Manual Online
For 1990-2009 cars only
Figure 1:

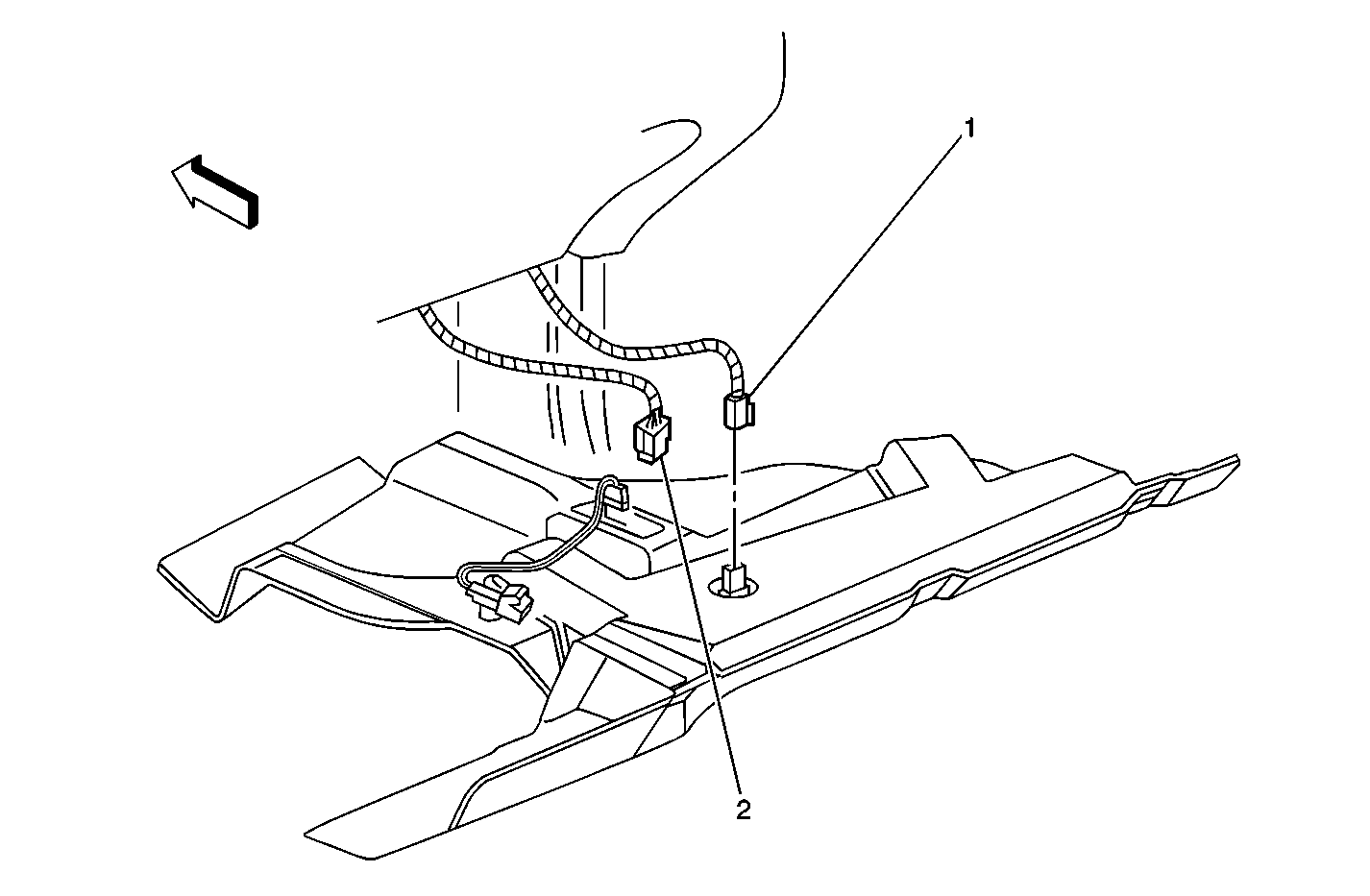
Lower Front of Engine


Object Number: 616308  Size: LF
(1)Knock Sensor (KS)
(2)Starter Solenoid
(3)Engine Oil Level Switch
(4)A/C Pressure Sensor
(5)A/C Clutch
Figure 2:

Instrument Panel


Object Number: 482167  Size: MF
(1)Instrument Panel Module
(2)Instrument Panel Module C1
(3)Instrument Panel Module C2
(4)C200
Figure 3:

Right Side of HVAC Housing


Object Number: 482181  Size: MF
(1)Blower Control Module
(2)Passenger Air Mix Actuator
(3)Air Inlet Actuator
(4)Blower Motor
Figure 4:

Left Side of HVAC Housing


Object Number: 482177  Size: MF
(1)Driver Air Mix Actuator
(2)Mode Door Actuator
Figure 5:

Left Side of HVAC Module


Object Number: 527043  Size: MF
(1)Aspirator
Figure 6:

Instrument Panel


Object Number: 535311  Size: MF
(1)Drivers Information Center (DIC) Controls
(2)RH Panel Discharger Temperture Sensor (Behind Vent in Duct)
(3)Hazard Switch
(4)Radio
(5)Hvac Controls
(6) Ignition Switch
(7)HUD Control
(8)Fog Lamp Switch and Dimmer Control
(9)LH Panel Discharger Temperture Sensor (Behind Vent in Duct)
(10)HUD
(11)Instument Cluster
(12)Twilight/Sunload Sensor
(13)Inside Air Temperture Sensor
Figure 7:

Left Side Foot Well


Object Number: 501982  Size: MF
(1)LH Heater Temperature Sensor
(2)LH Foot Well Courtesy Lamp
Figure 8:

Right Side Foot Well


Object Number: 501981  Size: MF
(1)RH Heater Temperature Sensor
(2)RH Foot Well Courtesy Lamp
Figure 9:

Ambient Air Temperature Sensor


Object Number: 482168  Size: MF
(1)Ambient Air Temperature Sensor