GM Service Manual Online
For 1990-2009 cars only
Makes
🢒
Pontiac
🢒
2001
🢒
Bonneville
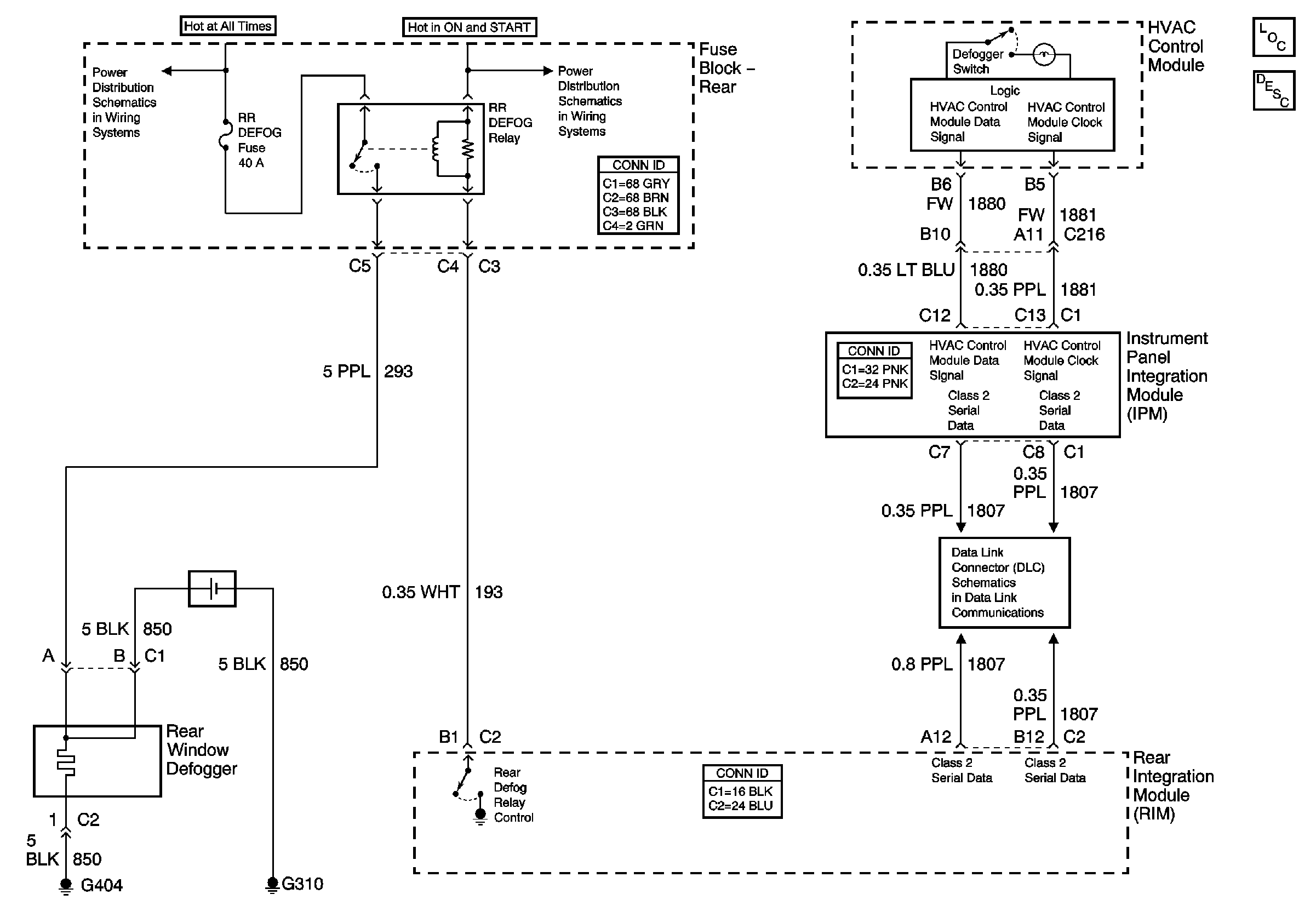
🢒 Defogger Schematic
Defogger Schematic
Master Electrical Component List
Battery Voltage to the Rear Fuse Block
Ignition Switch RUN and START/RUN Positions
Class 2 Serial Data