GM Service Manual Online
For 1990-2009 cars only
Makes
🢒
Pontiac
🢒
2002
🢒
Bonneville
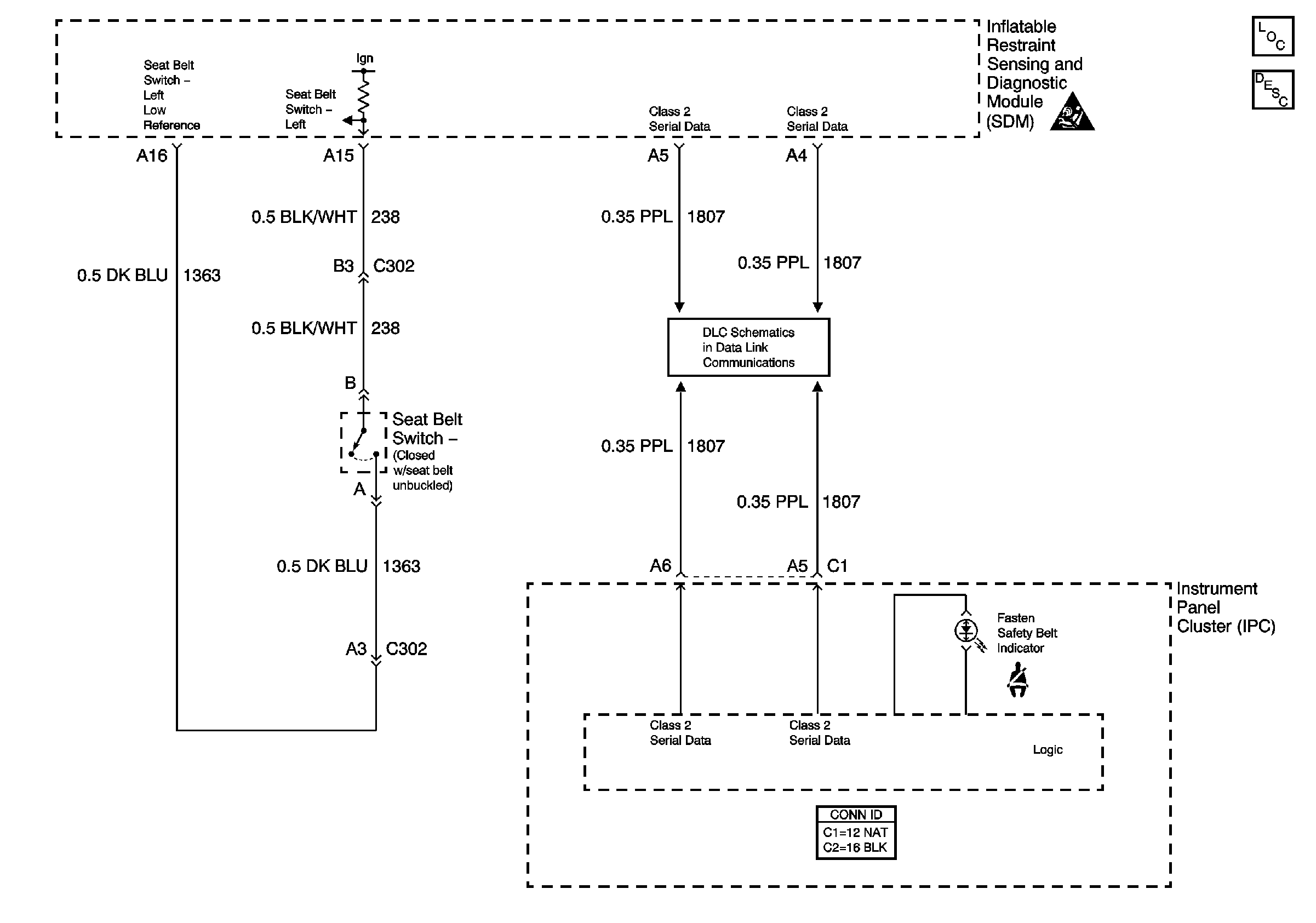
🢒 Seat Belt Schematic
Seat Belt Schematic
Master Electrical Component List
Serial Data Class 2
Seat Belt System Description and Operation
SIR Caution