GM Service Manual Online
For 1990-2009 cars only

Object Number: 1555079  Size: LF
Master Electrical Component List
Automatic Transmission Controls Schematics
OBD II Symbol Description Notice

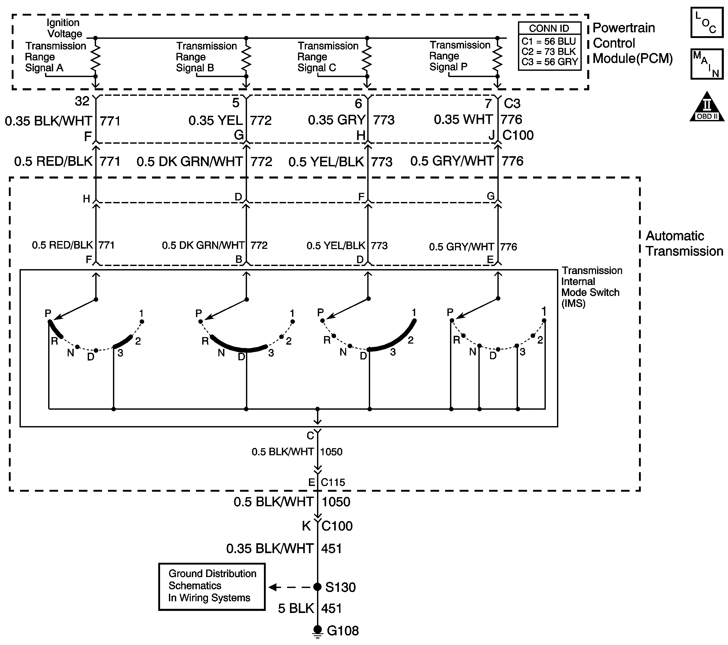
Circuit Description

The transmission internal mode switch (IMS) is a sliding contact switch attached to the lower control valve body, within the transmission. The manual valve link assembly then connects the IMS to the manual valve. The four inputs to the powertrain control module (PCM) from the IMS indicate which position is selected by the transmission selector lever. This information is used for engine controls as well as determining the transmission shift patterns. The input voltage level at the PCM is high, ignition voltage, when the IMS is open and low when the switch is closed to ground. The state of each input is available for display on the scan tool. The four input parameters represented are Signal A, Signal B, Signal C and Signal P, Parity.

If the PCM detects an IMS transitional state between D2 and D1 while the vehicle is in motion, then DTC P1826 sets. DTC P1826 is a type B DTC.

DTC Descriptor

This diagnostic procedure supports the following DTC:

DTC P1826 Internal Mode Switch C Circuit High Voltage

Conditions for Running the DTC

    • No OSS DTCs P0502, P0503.
    • The engine run time is greater than 5 seconds.
    • The engine torque is 50 N·m (37 lb ft) or less.
    • The vehicle speed is greater than 16 km/h (10 mph).
    • DTC P1826 did not pass this cycle.

Conditions for Setting the DTC

The IMS indicates PARK for 8 seconds.

Action Taken When the DTC Sets

    • The PCM illuminates the malfunction indicator lamp (MIL) during the second consecutive trip in which the Conditions for Setting the DTC are met.
    • The PCM commands maximum line pressure.
    • The PCM assumes a D4 shift pattern.
    • The PCM freezes transmission adaptive functions.
    • The PCM records the operating conditions when the Conditions for Setting the DTC are met. The PCM stores this information as Freeze Frame and Failure Records.
    • The PCM stores DTC P1826 in PCM history during the second consecutive trip in which the Conditions for Setting the DTC are met.

Conditions for Clearing the MIL/DTC

    • The PCM turns OFF the MIL during the third consecutive trip in which the diagnostic test runs and passes.
    • A scan tool can clear the MIL/DTC.
    • The PCM clears the DTC from PCM history if the vehicle completes 40 warm-up cycles without an emission-related diagnostic fault occurring.
    • The PCM cancels the DTC default actions when the ignition switch is OFF long enough in order to power down the PCM.

Test Description

The numbers below refer to the step numbers on the diagnostic table.

  1. This step determines if the fault is internal or external to the transmission.

  2. This step determines if the engine wiring harness circuit is at fault or the PCM.

  3. This step determines if the automatic transmission wiring harness is at fault or the IMS.

DTC P1826

Step

Action

Values

Yes

No

1

Did you perform the Diagnostic System Check - Vehicle?

--

Go to Step 2

Go to Diagnostic System Check - Vehicle in Vehicle DTC Information

2

  1. Install a scan tool.
  2. Turn ON the ignition, with the engine OFF.
  3. Important: Before clearing the DTC, use the scan tool in order to record the Freeze Frame and Failure Records. Using the Clear Info function erases the Freeze Frame and Failure Records from the PCM.

  4. Record the DTC Freeze Frame and Failure Records.
  5. Clear the DTC.
  6. Select IMS on the scan tool.
  7. Place the gear select lever in D4.

Does the scan tool IMS display Drive 4?

--

Go to Intermittent Conditions in Engine Controls - 4.6L

Go to Step 3

3

  1. Turn OFF the ignition.
  2. Disconnect the AT inline 20-way connector. Additional DTCs may set.
  3. Install the J 44152 Jumper Harness (20 pins) on the engine harness side of the AT inline 20-way connector.
  4. Using the J 35616 GM Terminal Test Kit, connect a fused jumper wire from terminal G of the J 44152 to ground.
  5. Refer to Automatic Transmission Inline 20-Way Connector End View .

  6. Turn ON the ignition, with the engine OFF.
  7. Select IMS A/B/C/P on the scan tool.

Is signal B LOW?

--

Go to Step 5

Go to Step 4

4

Test the signal B circuit of the IMS for an open between the PCM connector C3 and the AT inline 20-way connector.

Refer to Testing for Continuity and Wiring Repairs in Wiring Systems.

Did you find and correct the condition?

--

Go to Step 9

Go to Step 8

5

Test the signal B circuit of the IMS for an open between the AT inline 20-way connector and the IMS.

Refer to Testing for Continuity in Wiring Systems.

Did you find the condition?

--

Go to Step 6

Go to Step 7

6

Important: The automatic transmission wiring harness consists of two separate harnesses, the Automatic Transmission Wiring Harness Assembly and the Automatic Transmission Wiring Extension Harness Assembly. In order to avoid the unnecessary replacement of parts, determine which harness contains the fault and replace only that harness.

Replace the automatic transmission wiring harness.

Refer to Input Speed Sensor and Wiring Harness Removal in the 4T80-E section of the Transmission Unit Repair Manual.

Did you complete the replacement?

--

Go to Step 9

--

7

Replace the transmission internal mode switch.

Refer to Control Valve Lower Body Disassemble in the 4T80-E section of the Transmission Unit Repair Manual.

Did you complete the replacement?

--

Go to Step 9

--

8

Replace the PCM.

Refer to Control Module References in Computer/Integrating Systems.

Did you complete the replacement?

--

Go to Step 9

--

9

Perform the following procedure in order to verify the repair:

  1. Select DTC.
  2. Select Clear Info.
  3. Operate the vehicle under the following conditions:
  4. • Drive the vehicle in D4.
    • The engine torque is 40-200 N·m (30-148 lb ft).
    • IMS signal B must be LOW, 0 voltage input, for 0.025 seconds.
  5. Select Specific DTC.
  6. Enter DTC P1826.

Has the test run and passed?

--

Go to Step 10

Go to Step 2

10

With the scan tool, observe the stored information, capture info. and DTC info.

Does the scan tool display any DTCs that you have not diagnosed?

--

Go to Diagnostic Trouble Code (DTC) List - Vehicle in Vehicle DTC Information

System OK