GM Service Manual Online
For 1990-2009 cars only
Makes
🢒
Pontiac
🢒
1985
🢒
Demonstrator
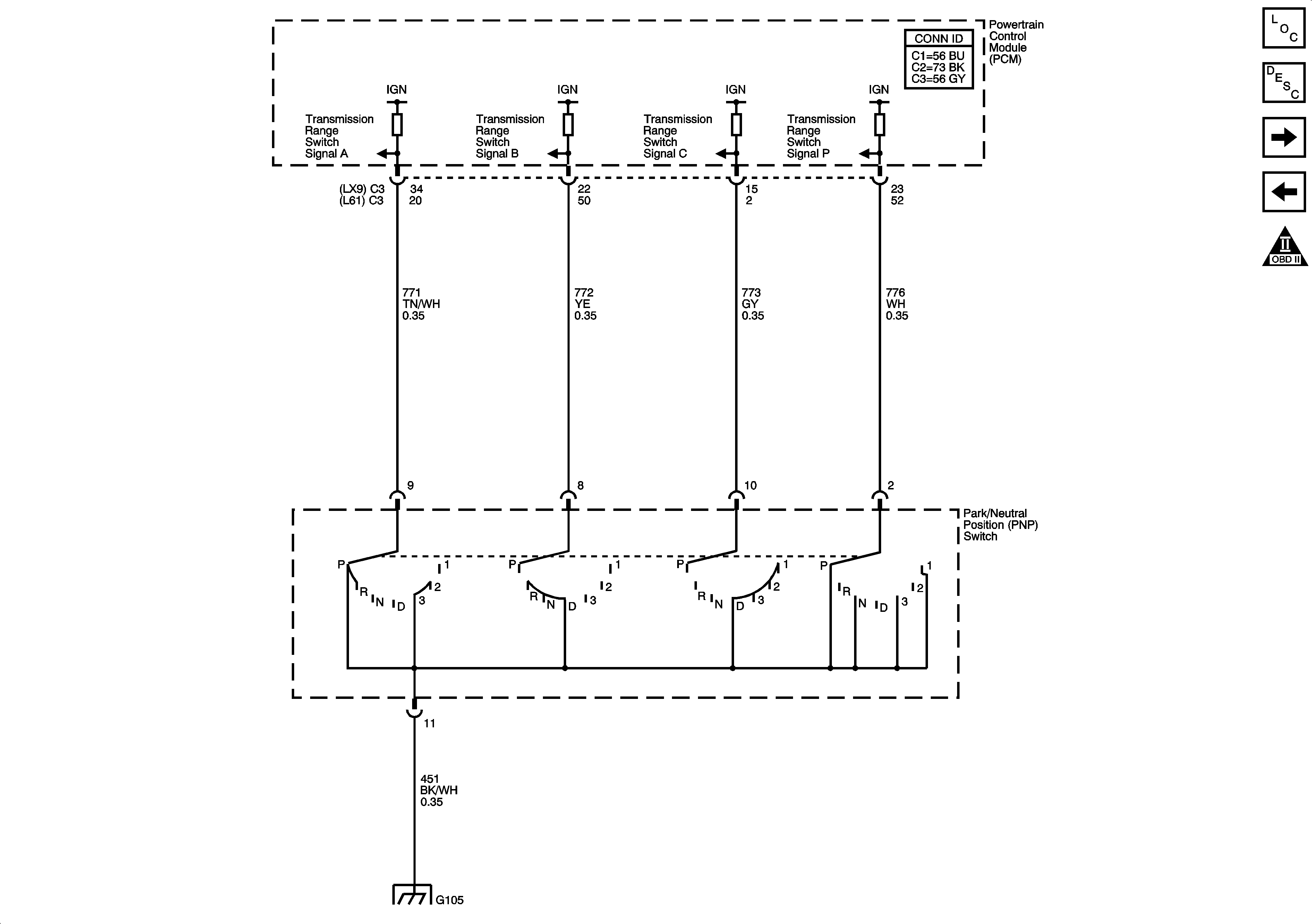
🢒 Park/Neutral Position Switch
Park/Neutral Position Switch
Park/Neutral Position Switch
Master Electrical Component List
Electronic Component Description
Tap Up/Tap Down Switch
Transmission Switches, TFT and A/T ISS Sensor
Automatic Transmission Schematic Icons
G103, G104, and G105