GM Service Manual Online
For 1990-2009 cars only

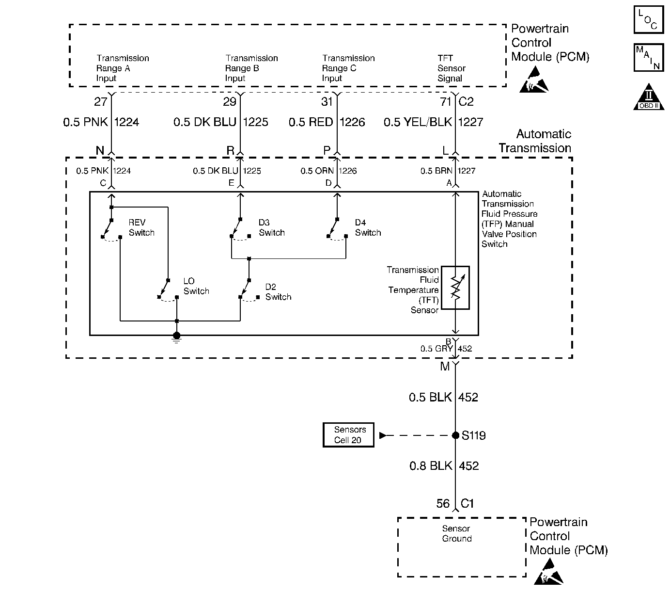
Object Number: 42299  Size: LF

Circuit Description

The Transmission Fluid Temperature (TFT) sensor is a thermistor within the Automatic Transmission Fluid Pressure (TFP) Manual Valve Position Switch. The TFT sensor controls the signal voltage to the PCM. The PCM supplies a 5 volt reference to the sensor on circuit 1227.

When the transmission fluid is cold, the sensor resistance is high and the PCM senses high signal voltage. As the fluid temperature warms to a normal transmission operating temperature of 100°C (212°F), the sensor resistance reduces, and the voltage decreases to 1.5-2.0 volts.

When the PCM detects a high transmission temperature for a long period of time, then DTC P1812 sets. DTC P1812 is a type D DTC.

Conditions for Setting the DTC

    • No TFT DTCs P0712 or P0713
    • The TFT is greater than 136°C (277°F).
    • All conditions met for 6.8 minutes (410 seconds).

Action Taken When the DTC Sets

    • The PCM freezes shift adapts from being updated.
    • The PCM does NOT illuminate the Malfunction Indicator Lamp (MIL).

Conditions for Clearing the DTC

    • A scan tool can clear the DTC from the PCM history. The PCM clears the DTC from the PCM history if the vehicle completes 40 warm-up cycles without a failure reported.
    • The PCM cancels the DTC default actions when the fault no longer exists and the ignition is OFF long enough in order to power down the PCM.

Diagnostic Aids

    • Inspect the wiring for any poor electrical connections at the PCM. Inspect the wiring at the TCC brake switch. Look for the following conditions:
       - A bent terminal
       - A backed out terminal
       - A damaged terminal
       - Poor terminal tension
       - A chafed wire
       - A broken wire inside the insulation
    • When diagnosing for an intermittent short or an open condition, massage the wiring harness while watching the test equipment for changes.
    • The scan tool should show the TFT sensor temperature rising steadily to about 100°C (212°F), then stabilize.
    • Check for a torque converter stator problem.
    • Verify the customer's driving habits, trailer towing, etc. . .
    • A skewed sensor can result in firm shifts or TCC complaints. Evaluate the possibility of a skewed sensor by using the Temperature Versus Resistance in Engine Controls. With the temperature to resistance value scale, you can inspect the TFT sensor at various temperature levels.

Test Description

The numbers below refer to the Step numbers on the diagnostic table.

  1. Step 3 verifies that the sensor is not skewed (mis-scaled). This Step also checks for a shorted circuit.

  2. Step 4 simulates a TFT DTC P0713.

DTC P1812 Transmission Fluid Overtemperature

Step

Action

Value(s)

Yes

No

1

Was the Powertrain On-Board Diagnostic (OBD) System Check performed?

--

Go to Step 2

Go to Powertrain On Board Diagnostic (OBD) System Check , Section 6

2

    • Inspect for possible transmission problems.
    • Inspect for possible engine cooling system problems.
    • Perform the transmission fluid checking procedure.
        Refer to Transmission Fluid Check .

Have you completed the inspections?

--

Go to Step 3

Go to Transmission Fluid Check

3

  1. Install the scan tool.
  2. With the engine OFF, turn the ignition switch to the RUN position.
  3. Important: Before clearing the DTCs, use the scan tool in order to record the Failure Records for reference. The Clear Info function will erase the data.

  4. Record the DTC Failure Records.

Is the TFT Sensor signal voltage less than the specified voltage?

0.2 volt

Go to Step 4

Go to Diagnostic Aids

4

  1. Turn the ignition switch to the OFF position.
  2. Disconnect the transmission 20-way connector (additional DTCs may set).

Is the TFT Sensor signal voltage greater than the specified voltage?

4.92 volts

Go to Automatic Transmission Internal Wiring Harness Check

Go to Step 5

5

  1. Inspect circuit 1227 for a short to ground.
  2. Repair the circuit if necessary.

Refer to Electrical Diagnosis, Section 8.

Did you find and correct a problem?

--

Go to Step 8

Go to Step 6

6

Inspect the PCM connector terminals for the following conditions:

  1. Damaged connector pins
  2. Backed out connector pins
  3. Weak terminal tension
  4. Repair the connectors if necessary.

Did you find and correct a problem?

--

Go to Step 8

Go to Step 7

7

Replace the PCM.

Refer to Powertrain Control Module Replacement/Programming , Section 6.

Is the replacement complete?

--

Go to Step 8

--

8

  1. After the repair is complete, select DTC.
  2. Select Clear Info.
  3. Ensure the following conditions are met:
  4. • Turn the ignition switch to the RUN position.
    • The scan tool must indicate a TFT less than 120°C (248°F) for at least 5 seconds.
  5. Select Specific DTC and enter DTC P1812.

Has the test run and passed?

--

System OK

Begin diagnosis the again. Go to Step 1