GM Service Manual Online
For 1990-2009 cars only

Cleaning Procedure

    Caution: Some valves are under pressure. Cover the bores while removing the roll pins or personal injury could result.

  1. Clean the control valve assembly thoroughly in clean solvent.
  2. Move the valve with a pick or small screwdriver in order to dislodge any dirt or debris that may have accumulated.
  3. Air dry.

Disassemble Procedure

Important: Valves, springs, and bushings must be laid out on a clean surface in the exact sequence they were removed.


    Object Number: 7638  Size: SH
  1. Disassemble the pressure control solenoid retainer bolt, retainer, and solenoid.

  2. Object Number: 7627  Size: SH
  3. Disassemble the bore plug retainer clip, bore plug, and valve train.

  4. Object Number: 7636  Size: SH
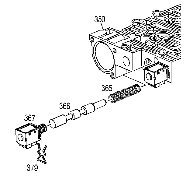
  5. Disassemble the 2-3 shift solenoid retainer, solenoid, and valve train.

  6. Object Number: 7635  Size: SH
  7. Disassemble the 1-2 shift solenoid retainer, solenoid, and valve train.

  8. Object Number: 7631  Size: SH
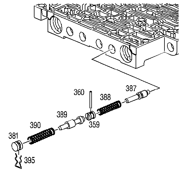
  9. Disassemble the accumulator valve train retainer pin, more plug, and valve train.
  10. Disassemble the forward accumulator cover bolts and cover.
  11. Disassemble the forward accumulator spring, piston, and pin.
  12. Disassemble the low overrun valve spring and valve.
  13. Disassemble the retainer pin, bore plug, and the 3-2 control valve train.
  14. Disassemble the manual valve.
  15. Disassemble the 3-2 control solenoid retainer clip and solenoid.

  16. Object Number: 7633  Size: SH
  17. Disassemble the bore plug retainer, bore plug, and 3-2 control valve train.
  18. Disassemble the 3-2 downshift bore plug retainer, bore plug, and valve train.
  19. Disassemble the reverse abuse more plug retainer pin, bore plug, and valve train.
  20. Disassemble the 3-4 shift valve bore plug retainer, bore plug, and valve train.
  21. Disassemble the torque converter clutch signal valve bore plug retainer, bore plug, and valve.
  22. Clean all of the valves, springs, bushings, and control valve body in clean solvent.
  23. Dry using compressed air.

Inspection Procedure

  1. Inspect all of the valves and bushings for the following conditions:
  2.  - Porosity
     - Scoring
     - Nicks
     - Scratching
  3. Inspect the springs for damaged or distorted coils
  4. Inspect the valve body casting for the following conditions
  5.  - Porosity
     - Cracks
     - Interconnected oil passages
     - Damaged machined surfaces

Assembly Procedure

  1. When assembling the control valve assembly, notice the position of the valve lands and bushing passages.
  2. Position the pressure control solenoid so that the connectors face outward.

Installation Procedure


    Object Number: 7741  Size: SH
  1. Install the checkballs into the valve body assembly. Retain with Transjel® or an equivalent.

  2. Object Number: 5445  Size: SH
  3. Install the valve body assembly.
  4. • Connect the manual valve link to the inside detent lever.
    • Do not damage the screens when installing the valve body assembly.

    Notice: Torque valve body bolts in a spiral pattern starting from the center. If the bolts are torqued at random, valve bores may be distorted and inhibit valve operation.

  5. Install the wiring harness, manual spring assembly, pressure switch assembly, and all of the remaining valve body bolts.

  6. Object Number: 5445  Size: SH
  7. Install the TCC solenoid and bolts.
  8. Tighten
    Tighten the bolts to 11 N·m (97 lb in).

    Notice: Use the correct fastener in the correct location. Replacement fasteners must be the correct part number for that application. Fasteners requiring replacement or fasteners requiring the use of thread locking compound or sealant are identified in the service procedure. Do not use paints, lubricants, or corrosion inhibitors on fasteners or fastener joint surfaces unless specified. These coatings affect fastener torque and joint clamping force and may damage the fastener. Use the correct tightening sequence and specifications when installing fasteners in order to avoid damage to parts and systems.

  9. Install the wiring harness connections to the electrical components. The pressure control solenoid has two different colored connectors. The black connector should be installed on the tab farthest from the valve body.

  10. Object Number: 4191  Size: SH
  11. Install the parking bracket.
  12. Tighten
    Tighten the bolts to 31 N·m (23 lb ft).


    Object Number: 7733  Size: SH
  13. Install the 1-2 accumulator piston seal onto the 1-2 accumulator piston.
  14. Important: The three legs on the piston must face toward the case when installed.

  15. Install the 1-2 accumulator piston into the 1-2 accumulator cover and pin assembly.

  16. Object Number: 7735  Size: SH
  17. The 1-2 accumulator spring on the piston.
  18. The 1-2 accumulator cover and pin assembly onto the case.
  19. Tighten
    Tighten the bolts to 11 N·m (97 lb in).

  20. Install the new filter and gasket, pan bolts and new fluid.
  21. Lower the vehicle.
  22. Install the negative battery cable.
  23. Adjust the fluid level. Use Dexron® III Automatic Transmission Fluid or the equivalent.
  24. Inspect for leaks.