GM Service Manual Online
For 1990-2009 cars only

DTC P0560 System Voltage 3.8L VIN K


Object Number: 42297  Size: LF

Circuit Description

Circuit 439 is the ignition voltage feed for the PCM. Circuit 340 is the battery voltage feed for the PCM.

When the PCM detects a low voltage and a high voltage, then DTC P0560 sets. DTC P0560 is a type D DTC.

Conditions for Setting the DTC

The system voltage is low:

    • The engine speed is greater than 800 RPM.
    • The system voltage is less than 10 volts.
    • All conditions are met for 2 seconds.

A high system voltage will cause DTC P0560 to set, if the system voltage is greater than 16 volts for 2 seconds.

Action Taken When the DTC Sets

    • All transmission output devices are OFF.
    • The PCM freezes shift adapts from being updated.
    • The PCM will NOT illuminate the Malfunction Indicator Lamp (MIL).

Conditions for Clearing the DTC

    • A scan tool can clear the DTC from the PCM history. The PCM clears the DTC from the PCM history if the vehicle completes 40 warm-up cycles without a failure reported.
    • The PCM cancels the DTC default actions when the fault no longer exists and the ignition is OFF long enough in order to power down the PCM.

Diagnostic Aids

    • Charging the battery with a battery charger may set DTCs. Jumpstarting an engine may set DTCs.
    • If DTCs set when you operate an accessory, inspect the applicable wiring for faulty connections. If DTCs set when you operate an accessory, inspect the applicable wiring for excessive current draw.
    • Inspect the starter solenoid for faulty connections. Examine the starter solenoid fusible link.
    • Inspect the generator for a damaged terminal.
    • Inspect the belts for damage. Check the belt for correct tension.

Test Description

The numbers below refer to the Step numbers on the diagnostic table.

  1. This step tests the charging system voltage.

  2. This step tests the battery voltage input at the PCM.

  3. This step tests the ignition voltage input at the PCM.

DTC 0560 System Voltage Malfunction

Step

Action

Value(s)

Yes

No

1

Was the Powertrain On-Board Diagnostic (OBD) System Check performed?

--

Go to Step 2

Go to Powertrain On Board Diagnostic (OBD) System Check , Section 6

2

  1. Install the scan tool.
  2. With the engine OFF, turn the ignition switch to the RUN position.
  3. Important: Before clearing DTCs, use the scan tool in order to record the Freeze Frame and the Failure Records for reference. The Clear Info function will erase the data.

  4. Record the DTC Failure Records.
  5. Note: If any other DTCs are present, refer to the applicable diagnostic charts before continuing.

  6. Using the J 39200 DVOM, measure the battery voltage across the battery terminals. Record the measurement for future reference.

Is the measured voltage higher than the specified value?

10.5 volts

Go to Step 3

Go to Battery Diagnosis, Section 6

3

Start the engine. Warm the engine to the normal operating temperature.

Did the generator (check engine) lamp illuminate?

--

Go to Charging System Diagnosis, Section 6

Go to Step 4

4

  1. Increase the engine speed to 1000-1500 RPM.
  2. Observe the scan tool system voltage.

Is the system voltage within the specified range?

13-15 volts

Go to Step 5

Go to Charging System Diagnosis, Section 6

5

  1. Turn the ignition switch to the OFF position.
  2. Disconnect the C1 (blue) PCM connector (additional DTCs will set).
  3. With the engine OFF, turn the ignition switch to the Run position.
  4. Using J 39200 DVOM and J 35616-A Connector Test Adapter Kit, measure the battery voltage input at PCM connector terminal C1-20.

Is there a voltage variance between the voltage measured at the battery (taken in Step 2) and at the terminals C1-20 that is greater than the specified value?

0.5 volts

Go to Step 6

Go to Step 7

6

Repair the high resistance condition in circuit 340.

Refer to Electrical Diagnosis, Section 8.

Have you repaired the circuit?

--

Go to Step 11

--

7

  1. Disconnect the C1 (blue) PCM connector.
  2. Measure the ignition voltage input at the PCM connector terminal C1-19.

Is there a voltage variance between the voltage measured at the battery (taken in Step 2) and at terminal C1-20 that is greater than the specified value?

0.5 volts

Go to Step 8

Go to Step 9

8

Repair the high resistance condition in circuit 439.

Refer to Electrical Diagnosis, Section 8.

Have you repaired the circuit?

--

Go to Step 11

--

9

Examine PCM connector terminals C1-19 and C1-20 for the following conditions:

    • Damaged connector pins
    • Backed out connector pins
    • Weak terminal tension

Did you find and correct a problem?

--

Go to Step 11

Go to Step 10

10

Replace the PCM.

Refer to Powertrain Control Module Replacement/Programming , Section 6.

Is the replacement complete?

--

Go to Step 11

--

11

  1. After the repair is complete, select DTC.
  2. Select Clear Info.
  3. Operate the vehicle under the following conditions:
  4. • Start the vehicle and warm to normal operating temperature.
    • The PCM must see a system voltage between 10-16 volts.
  5. Select Specific DTC. Enter DTC P0560.

Has the test run and passed?

--

System OK

Begin the diagnosis again. Go to Step 1

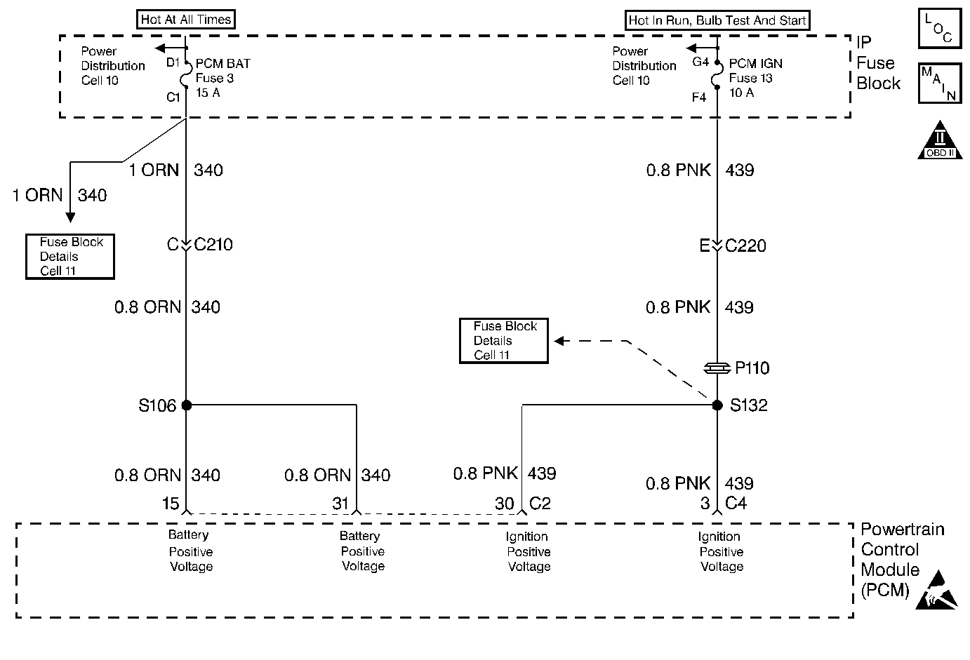
DTC P0560 System Voltage 5.7L VIN P


Object Number: 42298  Size: MF

Circuit Description

Circuit 439 is the ignition voltage feed for the PCM. Circuit 340 is the battery voltage feed for the PCM.

When the PCM detects a low voltage and the PCM detects a high voltage, then DTC P0560 sets. DTC P0560 is a type D DTC.

Conditions for Setting the DTC

The system voltage is low:

    • The engine speed is greater than 1000 RPM.
    • The system voltage is less than 10 volts at a maximum transmission temperature of 150°C (302°F).
    • The system voltage is less than 7.3 volts at a minimum transmission temperature of -40°C (-40°F).
    • All conditions are met for 4 seconds.

A high system voltage causes DTC P0560 to set, if the system voltage is greater than 17 volts for 2 seconds.

Action Taken When the DTC Sets

    • All transmission output devices are OFF except the TCC PWM Solenoid Valve and the 3-2 Shift Solenoid Valve Assembly.
    • The PCM freezes shift adapts from being updated.
    • The PCM does NOT illuminate the Malfunction Indicator Lamp (MIL).

Conditions for Clearing the DTC

    • A scan tool can clear the DTC from the PCM history. The PCM clears the DTC from the PCM history if the vehicle completes 40 warm-up cycles without a failure reported.
    • The PCM cancels the DTC default actions when the fault no longer exists and the ignition is OFF long enough in order to power down the PCM.

Diagnostic Aids

    • Charging the battery with a battery charger may set DTCs. Jumpstarting an engine may set DTCs.
    • If DTCs set when you operate an accessory, inspect the applicable wiring for faulty connections. If DTCs set when you operate an accessory, inspect the applicable wiring for excessive current draw.
    • Inspect the starter solenoid for faulty connections.
    • Examine the starter solenoid fusible link.
    • Inspect the generator for a damaged terminal.
    • Inspect the belts for damage.
    • Inspect the belt for correct tension.

Test Description

The numbers below refer to the step numbers on the diagnostic chart.

  1. This step tests the charging system voltage.

  2. This step tests the battery voltage input at the PCM.

  3. This step tests the ignition voltage input at the PCM.

DTC 0560 System Voltage Malfunction

Step

Action

Value(s)

Yes

No

1

Was the Powertrain On-Board Diagnostic (OBD) System Check performed?

--

Go to Step 2

Go to Powertrain On Board Diagnostic (OBD) System Check , Section 6

2

  1. Install the scan tool (tech 1) ®.
  2. With the engine OFF, turn the ignition switch to the RUN position.
  3. Important: Before clearing DTCs, use the scan tool in order to record the Freeze Frame and the Failure Records for reference. The Clear Info function will erase the data.

  4. Record the DTC Failure Records.
  5. Note: If any other DTCs are present, refer to the applicable diagnostic charts before continuing.

  6. Using the J 39200 DVOM, measure the battery voltage across the battery terminals. Record the measurement for future reference.

Is the measured voltage higher than the specified value?

10.5 volts

Go to Step 3

Go to Battery Diagnosis, Section 6

3

Start the engine. Warm the engine to the normal operating temperature.

Did the generator (check engine) lamp illuminate?

--

Go to Charging System Diagnosis, Section 6

Go to Step 4

4

  1. Increase the engine speed to 1000-1500 RPM.
  2. Observe the scan tool system voltage.

Is the system voltage within the specified range?

13-15 volts

Go to Step 5

Go to Charging System Diagnosis, Section 6

5

  1. Turn the ignition switch to the OFF position.
  2. Disconnect the C2 (black) PCM connector (additional DTCs will set).
  3. With the engine OFF, turn the ignition switch to the Run position.
  4. Using the J 39200 DVOM and the J 35616-A Connector Test Adapter Kit, measure the battery voltage input at PCM connector terminals C2-15 and C2-31.

Is there a voltage variance between the voltage measured at the battery (taken in Step 2) and at the terminals C2-15 and C2-31 that is greater than the specified value?

0.5 volts

Go to Step 6

Go to Step 7

6

Repair the high resistance condition in circuit 340.

Refer to Electrical Diagnosis, Section 8.

Have you repaired the circuit?

--

Go to Step 11

--

7

  1. Disconnect the C4 (blue) PCM connector.
  2. Measure the ignition voltage input at the PCM connector terminal C2-30 and C4-3.

Is there a voltage variance between the voltage measured at the battery (taken in Step 2) and at terminal C2-30 and C4-3 that is greater than the specified value?

0.5 volts

Go to Step 8

Go to Step 9

8

Repair the high resistance condition in circuit 439.

Refer to Electrical Diagnosis, Section 8.

Have you repaired the circuit?

--

Go to Step 11

--

9

Examine PCM connector terminals C2-15, C2-31, C2-30 and C4-3 for the following conditions:

    • Damaged connector pins
    • Backed out connector pins
    • Weak terminal tension

Did you find and correct a problem?

--

Go to Step 11

Go to Step 10

10

Replace the PCM.

Refer to Powertrain Control Module Replacement/Programming , Section 6.

Is the replacement complete?

--

Go to Step 11

--

11

  1. After the repair is complete, select DTC.
  2. Select Clear Info.
  3. Operate the vehicle under the following conditions:
  4. • Start the vehicle and warm to normal operating temperature.
    • The PCM must see a system voltage of 10-16 volts.
  5. Select Specific DTC. Enter DTC P0560.

Has the test run and passed?

--

System OK

Begin the diagnosis again. Go to Step 1