GM Service Manual Online
For 1990-2009 cars only

Starter Replacement LT1

Removal Procedure

Important: This vehicle was designed for starter mounting without shims. However, if single or double shims have been added to correct a noise or engagement condition, reinstall the shims in their original location to ensure proper pinion-to-flywheel engagement.

  1. Disconnect the negative battery cable. Refer to

    Caution: Unless directed otherwise, the ignition and start switch must be in the OFF or LOCK position, and all electrical loads must be OFF before servicing any electrical component. Disconnect the negative battery cable to prevent an electrical spark should a tool or equipment come in contact with an exposed electrical terminal. Failure to follow these precautions may result in personal injury and/or damage to the vehicle or its components.

    in General Information.
  2. Raise the vehicle. Suitably support the vehicle. Refer to Section 0A.
  3. Remove the left side oxidation catalytic converter. Refer to Oxidation Catalytic Converter .

  4. Object Number: 165243  Size: SH
  5. Remove the starter motor bolts.
  6. Lower the starter motor.

  7. Object Number: 17270  Size: SH
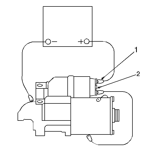
  8. Disconnect the starter motor leads.
  9. Remove the starter motor.

Installation Procedure


    Object Number: 17270  Size: SH
  1. Connect the the starter motor leads.
  2. Tighten

        • Tighten the starter solenoid BAT terminal nut to 10 N·m (89 lb in.). Refer to

    Notice: Use the correct fastener in the correct location. Replacement fasteners must be the correct part number for that application. Fasteners requiring replacement or fasteners requiring the use of thread locking compound or sealant are identified in the service procedure. Do not use paints, lubricants, or corrosion inhibitors on fasteners or fastener joint surfaces unless specified. These coatings affect fastener torque and joint clamping force and may damage the fastener. Use the correct tightening sequence and specifications when installing fasteners in order to avoid damage to parts and systems.

    in General Information.
        • Tighten the starter solenoid S terminal nut to 2 N·m (18 lb in.).
  3. Position the starter motor to the vehicle.

  4. Object Number: 165243  Size: SH
  5. Install the starter motor bolts.
  6. Tighten
    The bolts to 47 N·m (35 lb ft).

  7. Install the left side oxidation catalytic converter. Refer to Oxidation Catalytic Converter .
  8. Lower the vehicle.
  9. Connect the negative battery cable.
  10. Tighten
    Tighten the cable nut to 15 N·m (11 lb ft).

Starter Replacement L36

Removal Procedure


    Object Number: 43570  Size: SH

    Caution: Unless directed otherwise, the ignition and start switch must be in the OFF or LOCK position, and all electrical loads must be OFF before servicing any electrical component. Disconnect the negative battery cable to prevent an electrical spark should a tool or equipment come in contact with an exposed electrical terminal. Failure to follow these precautions may result in personal injury and/or damage to the vehicle or its components.

    Important: This vehicle was designed for starter mounting without shims. However, if single or double shims have been added to correct a noise or engagement condition, reinstall the shims in their original location to ensure proper pinion-to-flywheel engagement.

  1. Disconnect the negative battery cable.
  2. Raise the vehicle. Suitably support the vehicle. Refer to Section 0A.
  3. Remove the starter shield.

  4. Object Number: 43571  Size: SH
  5. Remove the starter motor bolt.
  6. Remove the starter motor stud.
  7. Lower the starter motor.
  8. Disconnect the starter leads.
  9. Remove the starter motor.

Installation Procedure


    Object Number: 17270  Size: SH
  1. Install the starter motor.
  2. Notice: Use the correct fastener in the correct location. Replacement fasteners must be the correct part number for that application. Fasteners requiring replacement or fasteners requiring the use of thread locking compound or sealant are identified in the service procedure. Do not use paints, lubricants, or corrosion inhibitors on fasteners or fastener joint surfaces unless specified. These coatings affect fastener torque and joint clamping force and may damage the fastener. Use the correct tightening sequence and specifications when installing fasteners in order to avoid damage to parts and systems.

  3. Connect the starter leads.
  4. Tighten

        • Tighten the starter solenoid BAT terminal nut to 10 N·m (89 lb in).
        • Tighten the starter solenoid S terminal nut to 3 N·m (27 lb in).

    Object Number: 43571  Size: SH
  5. Install the starter motor bolt.
  6. Tighten
    Tighten the bolt to 47 N·m (35 lb ft).

  7. Install the starter motor stud.
  8. Tighten
    Tighten the stud to 45 N·m (33 lb ft).

  9. Measure the pinion to flywheel clearance. Add shims as necessary.

  10. Object Number: 43570  Size: SH
  11. Install the starter shield.
  12. Lower the vehicle.
  13. Connect the negative battery cable.
  14. Tighten
    Tighten the cable nut to 15 N·m (11 lb ft).