GM Service Manual Online
For 1990-2009 cars only

Basic System Operation

The fuel metering system starts with the fuel in the fuel tank. An electric fuel pump, located in the fuel tank with the gauge sending unit, pumps fuel to the fuel rail through an in-pipe fuel filter. The fuel pump is designed to provide fuel at a pressure above the pressure needed by the fuel injectors. A fuel pressure regulator in the fuel rail keeps fuel available to the fuel injectors at a constant pressure. Unused fuel is returned to the fuel tank by a separate pipe. For further information on the fuel tank, in-pipe filter, and fuel pipes, refer to In-Line Fuel Filter Replacement

Accelerator Controls

The accelerator control system is cable-type. There are no linkage adjustments. Therefore, the specific accelerator control cable must be used.

Throttle Body Unit

The throttle body has a throttle plate to control the amount of air delivered to the engine. The TP sensor, and MAF sensor are also mounted on the throttle body.

Vacuum ports located behind the throttle plate provide the vacuum signals needed by various components. Engine coolant is directed through a coolant cavity in the throttle body to warm the throttle valve and prevent icing.

Fuel Rail


Object Number: 12819  Size: SH

The fuel rail (1) is mounted to the top of the engine and distributes fuel to the individual fuel injectors (3). Fuel is delivered to the fuel inlet tube of the fuel rail by the fuel pipes. The fuel then goes through the fuel rail to the fuel pressure regulator (2). The fuel pressure regulator maintains a constant fuel pressure at the fuel injectors. Remaining fuel is then returned to the fuel tank. Fuel pressure can be observed use a fuel pressure gauge at the fuel pressure gauge connection (4).

Fuel Injector


Object Number: 13651  Size: SH

The Sequential Multiport Fuel Injection (SFI) fuel injector is a solenoid operated device controlled by the PCM The PCM energizes the solenoid which opens a valve to allow fuel delivery.

The fuel is injected under pressure in a conical spray pattern at the opening of the intake valve. Excess fuel not used by the injectors passes through the fuel pressure regulator before being returned to the fuel tank.

A fuel injector which is stuck partly open will cause a loss of fuel pressure after engine shut down, causing long crank times to be noticed on some engines.

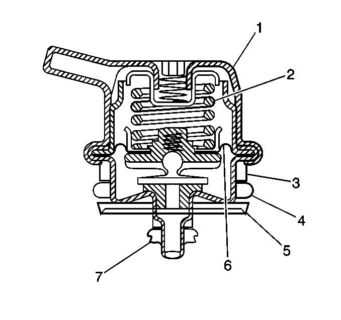
Fuel Pressure Regulator


Object Number: 12249  Size: SH

The cartridge type fuel pressure regulator (1) is a diaphragm-operated relief valve (6) with fuel pump pressure on one side, and regulator spring (2) pressure, and intake manifold vacuum on the other side. The regulators function is to maintain a constant fuel pressure across the injectors at all times. The pressure regulator compensates for engine load by increasing fuel pressure as engine vacuum drops.

The cartridge regulator is serviced as a separate component. When servicing the fuel pressure regulator, insure that the O-ring backup, (3) large O-ring, (4) filter screen, (5) and small O-ring (7) are properly placed on the pressure regulator.

If the fuel pressure is too low, poor performance and a DTC P0171, could result. If the pressure is too high, excessive odor and a DTC P0172, may result. Refer to Fuel System Pressure Test for information on diagnosing fuel pressure conditions.

(3X) Reference PCM Input (CKT 430)

From the electronic ignition module, the PCM uses this signal to calculate engine speed and crankshaft position. The PCM compares pulses on this circuit to reference low CKT 453. The PCM also uses the pulses on this circuit to initiate fuel injector pulses. If the PCM receives no pulses on this circuit, no fuel injection pulses will occur and the engine will not run.

CAM Signal (CKT 630)

The PCM uses this signal to determine the position of the #1 piston during its power stroke, allowing the PCM to calculate true Sequential Multiport Fuel Injection (SFI). A loss of this signal will set a DTC P0341. If the CAM signal is lost while the engine is running, the fuel injection system will shift to a calculated sequential fuel injection based on the last fuel injection pulse and the engine will continue to run. The engine can be restarted and will run in the calculated sequential mode as long as the fault is present with a 1 in 6 chance of being correct. Refer to DTC P0341 Camshaft Position (CMP) Sensor Performance

Idle Air Control (IAC) Valve

The purpose of the Idle Air Control (IAC) valve is to control engine idle speed, while preventing stalls due to changes in engine load. The IAC valve, mounted in the upper intake manifold, controls bypass air around the throttle plate. By moving a conical valve, known as a pintle, in (to decrease air flow) or out (to increase air flow), a controlled amount of air can move around the throttle plate. If RPM is too low, the PCM will retract the IAC pintle, resulting in more air being bypassed around the throttle plate to increase RPM. If RPM is too high, the PCM will extend the IAC pintle, allowing less air to be bypassed around the throttle plate, decreasing RPM.

The IAC pintle moves in small steps called counts.

During idle, the proper position of the IAC pintle is calculated by the PCM based on battery voltage, coolant temperature, engine load, and engine RPM. If the RPM drops below a specified value, and the throttle plate is closed (TP sensor voltage is between .20-.74), the PCM senses a near stall condition. The PCM will then calculate a new IAC pintle position to prevent stalls.

If the IAC valve is disconnected and reconnected with the engine running, the idle RPM will be wrong. In this case, the IAC has to be reset.

The IAC resets when the key is cycled ON then OFF.

When servicing the IAC, it should only be disconnected or connected with the ignition OFF in order to keep from having to reset the IAC.

The position of the IAC pintle affects engine start up and the idle characteristics of the vehicle. If the IAC pintle is open fully, too much air will be allowed into the manifold. This results in high idle speed, along with possible hard starting and a lean air/fuel ratio. DTC P0507 may set. If the IAC pintle is stuck closed, too little air will be allowed in the manifold. This results in a low idle speed, along with possible hard starting and a rich air/fuel ratio. DTC P0506 may set. If the IAC pintle is stuck part way open, the idle may be high or low and will not respond to changes in engine load.

Fuel Pump Electrical Circuit

When the key is first turned ON the PCM energizes the fuel pump relay for two seconds to build up the fuel pressure quickly. If the engine is not started within two seconds, the PCM shuts the fuel pump OFF and waits until the engine is cranked. When the engine is cranked and the RPM signal has been detected by the PCM, the PCM supplies 12 volts to the fuel pump relay to energize the electric in-tank fuel pump.

An inoperative fuel pump relay can result in a no start condition.

An inoperative fuel pump would cause a no start condition. A fuel pump which does not provide enough pressure can result in poor performance.