GM Service Manual Online
For 1990-2009 cars only

Service of the PCM should normally consist of either replacement of the PCM or EEPROM programming. If the diagnostic procedures call for the PCM to be replaced, PCM should be checked first to see if it is the correct part. If it is, remove the faulty PCM and install the new service PCM. The KS module from the old PCM must be transferred to the new PCM.

THE SERVICE PCM EEPROM WILL NOT BE PROGRAMMED. DTC P0601 and P0602 indicates the EEPROM is not programmed or has malfunctioned.

Important:: When replacing the production PCM with a service PCM (controller), it is important to transfer the broadcast code and production PCM number to the service PCM label. Do not record on PCM cover. This will allow positive identification of PCM parts throughout the service life of the vehicle.

Important:: To prevent internal PCM damage, the ignition must be OFF when disconnecting or reconnecting power to PCM (for example, battery cable, PCM pigtail, PCM fuse, jumper cables, etc.).

Removal Procedure

    Notice: Do not touch the connector pins or soldered components on the circuit board in order to prevent possible electrostatic discharge (ESD) damage to the PCM.

    Notice: In order to prevent internal damage to the PCM, the ignition must be OFF when disconnecting or reconnecting the PCM connector.


    Object Number: 21185  Size: SH
  1. Remove fasteners from PCM bracket (1).

  2. Object Number: 21186  Size: SH
  3. Remove the PCM (2) from the mounting hardware (1).

  4. Object Number: 21187  Size: SH
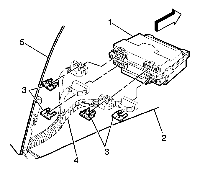
  5. Disconnect the Harness connectors from the PCM (1).
  6. Remove the PCM (1) from the engine compartment.

  7. Object Number: 13490  Size: SH
  8. Remove the KS Module access cover.
  9. Remove the KS Module.

Installation Procedure

    Notice: Do not touch the connector pins or soldered components on the circuit board in order to prevent possible electrostatic discharge (ESD) damage to the PCM.

    Notice: In order to prevent internal damage to the PCM, the ignition must be OFF when disconnecting or reconnecting the PCM connector.


    Object Number: 13490  Size: SH
  1. Install the KS Module into the PCM.
  2. Install the KS Module access cover.

  3. Object Number: 21187  Size: SH
  4. Connect the Harness Connectors to the PCM (1).
  5. Tighten
    Tighten the PCM connector end fasteners to 8 N·m (70 lb in).


    Object Number: 21186  Size: SH
  6. Install the PCM (2) to the mounting hardware (1).

  7. Object Number: 21185  Size: SH
  8. Install the PCM into the vehicle.
  9. If a new PCM is being installed, program the EEPROM.

EEPROM Programming

  1. Setup - Ensure that the following conditions have been met:
  2. • The battery is fully charged.
    • The ignition is ON.
    • The Vehicle Interface Module cable connection at the DLC is secure.
  3. Program the PCM using the latest software matching the vehicle. Refer to Techline terminal/equipment users instructions.
  4. If the PCM fails to program, proceed as follows:
  5. • Ensure that all PCM connections are OK.
    • Check the Techline terminal/equipment for the latest software version.
    • Attempt to program the PCM. If the PCM still cannot be programmed properly, replace the PCM. The replacement PCM must be programmed.

Functional Check

  1. Perform On-Board Diagnostic System Check.
  2. Start engine and run for one minute.
  3. Scan for DTCs using the scan tool.
  4. If DTC P0325 sets, the KS module is not fully seated, is missing, or is faulty.