GM Service Manual Online
For 1990-2009 cars only

The Secondary Air Injection (AIR) system helps reduce Hydrocarbon (HC), Carbon Monoxide (CO), and Oxides of Nitrogen (NOx) exhaust emissions. It also heats up the warm up 3-way catalytic converters quickly on engine start-up so conversion of exhaust gases can occur sooner.

The system includes the following:

    • AIR pump - The AIR pump is mounted to the lower left front of the engine Compartment and supplies the air to the AIR system. The electric air pump pressurizes fresh air and pumps it to the check valves near the exhaust manifolds. The AIR pump is controlled by the PCM. Battery voltage to the AIR pump is controlled by the AIR pump relay. An integral stop valve prevents air flow through the pump during OFF periods. When the PCM provides a ground circuit for the secondary AIR pump relay, battery voltage is allowed to power up the AIR pump and integral stop valve.
    • Vacuum Bleed Valve - This valve helps prevent vacuum buildup within the AIR system, which could prevent the integral stop valve from opening. The bleed valve is controlled by the air pump relay and is energized when the AIR pump is commanded ON. If the vacuum relief system is not functioning, the vacuum will cause the AIR pump integral stop valve not to open. This may result in no air flow to the exhaust manifolds or delay the delivery of air which may not allow the diagnostic to pass.
    • Check valves - The check valves prevent back flow of exhaust gases into the AIR pump in the event of an exhaust backfire.
    • Necessary plumbing.
       - Hoses
       - Pipes
       - Clamps

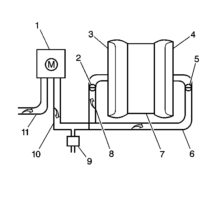
AIR System (Typical)


Object Number: 29965  Size: SH
(1)AIR Pump
(2)AIR Check Valve
(3)Exhaust Manifold
(4)Exhaust Manifold
(5)Check Valve
(6)AIR Injection Pipe
(7)Intake Manifold
(8)AIR Injection Pipe
(9)AIR Bleed Valve Solenoid Valve
(10)Air to Exhaust Ports
(11)Fresh Air Intake Pipe

The AIR pump with integral stop valve is controlled by the PCM. The PCM will turn ON the AIR pump by providing the ground to complete the circuit which energizes the AIR pump relay. When air to the exhaust ports is desired, the PCM turns ON both the integral stop valve and AIR pump.

The PCM turns ON the AIR pump during startup any time engine coolant temperature is above 15°C (59°F). The AIR pump will operate for a maximum of 240 seconds, or until the system enters Closed Loop operation. At the same time the PCM turns the AIR pump OFF, it also de-energizes the integral stop valve solenoid so no air is directed to the exhaust ports.

The air system will be disabled under the following conditions:

    • When the PCM recognizes a problem and sets a diagnostic trouble code.
    • When the fuel system is operating in Closed Loop.
    • The AIR pump has been ON for 240 seconds.
    •  Engine Speed is greater than 2825 RPM.
    • MAP is greater than 96 kPa with VSS over 60 mph.
    • MAP is less than 20 kPa.
    • ECT less than -10°C (14°F).
    • Warm up 3-way catalytic converters over temperature detected.
    • Short and long term fuel trim are not in their normal ranges.
    • Power enrichment is detected.

Results of Incorrect Operation

If no air (oxygen) flow enters the exhaust stream at the exhaust ports, HC and CO emission levels will be too high.

Air flowing to the exhaust ports at all times could increase temperature of the warm up 3-way catalytic converter.

Diagnostic Trouble Codes P0410, P0412, P1415, and P1416 will set if there is a malfunction in the following components:

    • The AIR pump.
    • The AIR pump relay.
    • Hoses or pipes that are leaking.
    • The Check valves that are leaking.
    • Circuits going to the AIR pump and the AIR pump relay.
    • The vacuum bleed valve.

AIR Pump

The AIR pump is a regenerative turbine type which is permanently lubricated and requires no periodic maintenance.

The engine should be at normal operating temperature in neutral at idle. Using the scan tool enable the AIR pump. Select HO2S voltages for both Bank 1 and Bank 2 HO2S. The HO2S voltages for both sensors should remain under 350 mV because air is being directed to the exhaust ports. If the HO2S voltages remain low during the Output Test, the AIR pump and integral stop valve are operating satisfactorily. If the HO2S voltage does not remain low when the AIR pump is enabled, inspect for the following:

    • For a seized AIR pump.
    • Hoses, pipes and all connections for leaks and proper routing.
    • For air flow going to the exhaust ports.
    • AIR pump for proper mounting.
    • Hoses and Pipes for deterioration or holes.

Hoses and Pipes

If a leak is suspected on the pressure side of the system or if a hose or pipe has been disconnected on the pressure side, the connections should be checked for leaks with a soapy water solution. With the AIR pump running, bubbles will form if a leak exists.

Caution: Allow the check valve to cool off before proceeding with the next check in order to avoid being burned. Tap on the check valve in order to remove any debris that may be inside the valve.

Check Valve

A check valve should be inspected whenever the hose is disconnected or whenever check valve failure is suspected. (An AIR pump that had become inoperative and had shown indications of having exhaust gases in the outlet port would indicate check valve failure.)

Blow through the check valve (toward the cylinder head) then attempt to suck back through the check valve. Flow should only be in one direction (toward the exhaust manifold). Replace valve which does not operate properly.