GM Service Manual Online
For 1990-2009 cars only

Removal Procedure

  1. Raise and suitably support the vehicle. Refer to Vehicle Lifting and Jacking in General Information.
  2. Support the exhaust muffler and the exhaust pipe.

  3. Object Number: 107760  Size: SH
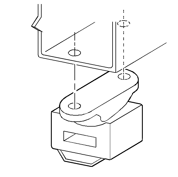
  4. Remove the exhaust pipe hanger nut.
  5. Remove the exhaust pipe hanger bracket.

  6. Object Number: 21696  Size: SH
  7. Remove the exhaust muffler interior hanger bolts/screws.

  8. Object Number: 21697  Size: SH
  9. Remove the exhaust muffler interior bracket.

Installation Procedure


    Object Number: 21697  Size: SH
  1. Install the muffler interior bracket.

  2. Object Number: 21696  Size: SH
  3. Install the muffler interior hanger bolts/screws.
  4. Tighten
    Tighten the muffler interior hanger bolts to 9.5 N·m (84 lb in).

    Notice: Use the correct fastener in the correct location. Replacement fasteners must be the correct part number for that application. Fasteners requiring replacement or fasteners requiring the use of thread locking compound or sealant are identified in the service procedure. Do not use paints, lubricants, or corrosion inhibitors on fasteners or fastener joint surfaces unless specified. These coatings affect fastener torque and joint clamping force and may damage the fastener. Use the correct tightening sequence and specifications when installing fasteners in order to avoid damage to parts and systems.


    Object Number: 107760  Size: SH
  5. Install the exhaust pipe hanger bracket.
  6. Install the exhaust pipe hanger nut.
  7. Tighten
    Tighten the nut to 20 N·m (15 lb in).

  8. Remove the support from the exhaust muffler and the exhaust pipe.
  9. Lower the vehicle.