GM Service Manual Online
For 1990-2009 cars only
Makes
🢒
Pontiac
🢒
1997
🢒
Firebird
🢒 Transmission Controls
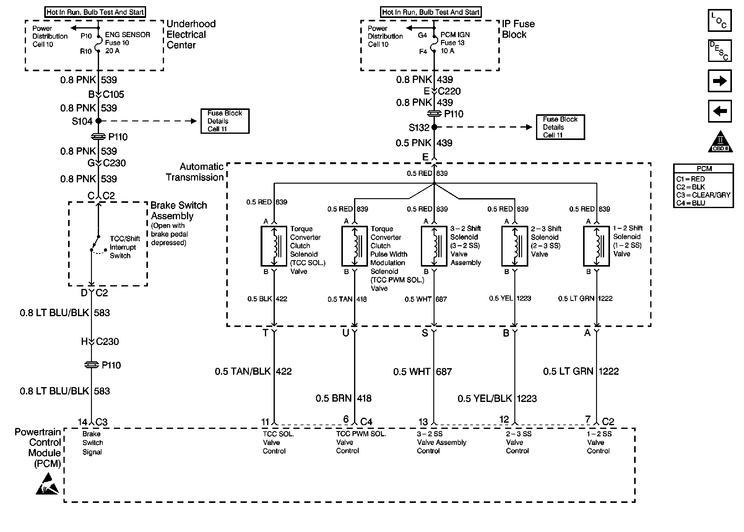
Transmission Controls
Transmission Controls
Engine Controls Components
Powertrain Control Module (PCM)
Transmission Controls
Reverse Lockout and Skip Shift
OBD II Symbol Description Notice
Handling ESD Sensitive Parts Notice