GM Service Manual Online
For 1990-2009 cars only
Makes
🢒
Pontiac
🢒
1997
🢒
Firebird
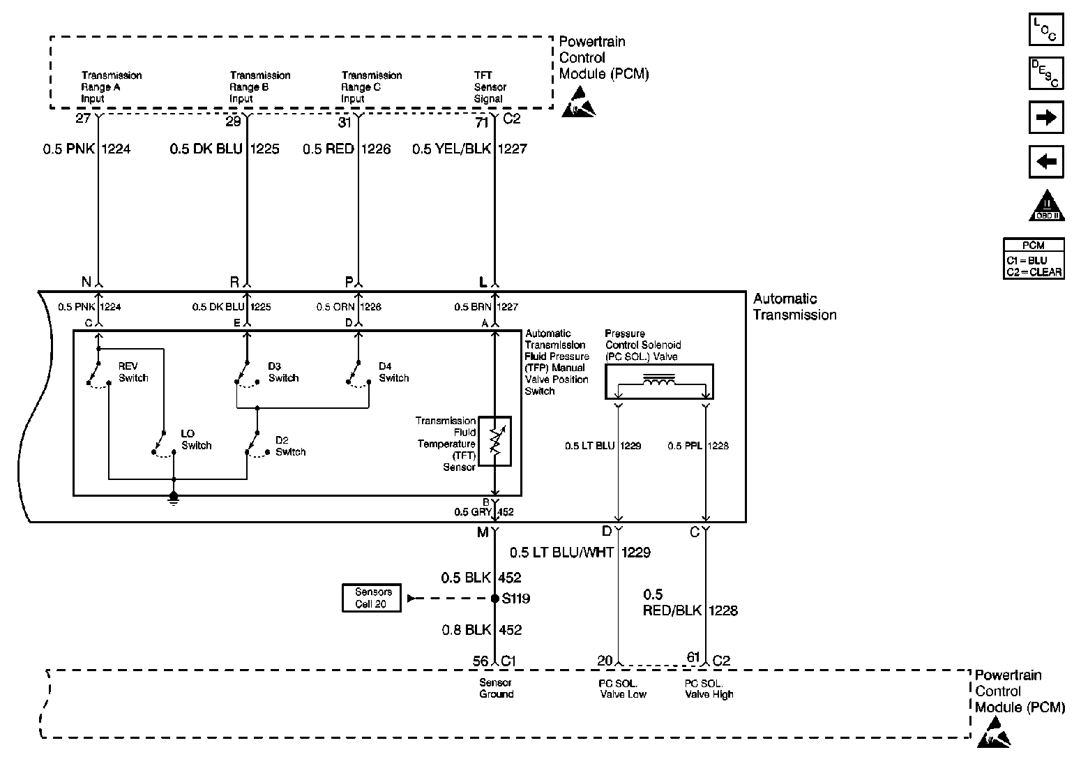
🢒 Trans Range
Trans Range
Trans Range
Engine Controls Components
Information Sensors
A/C HVAC Control
Brake Switch, TCC Solenoid
OBD II Symbol Description Notice
Handling ESD Sensitive Parts Notice
Handling ESD Sensitive Parts Notice