GM Service Manual Online
For 1990-2009 cars only

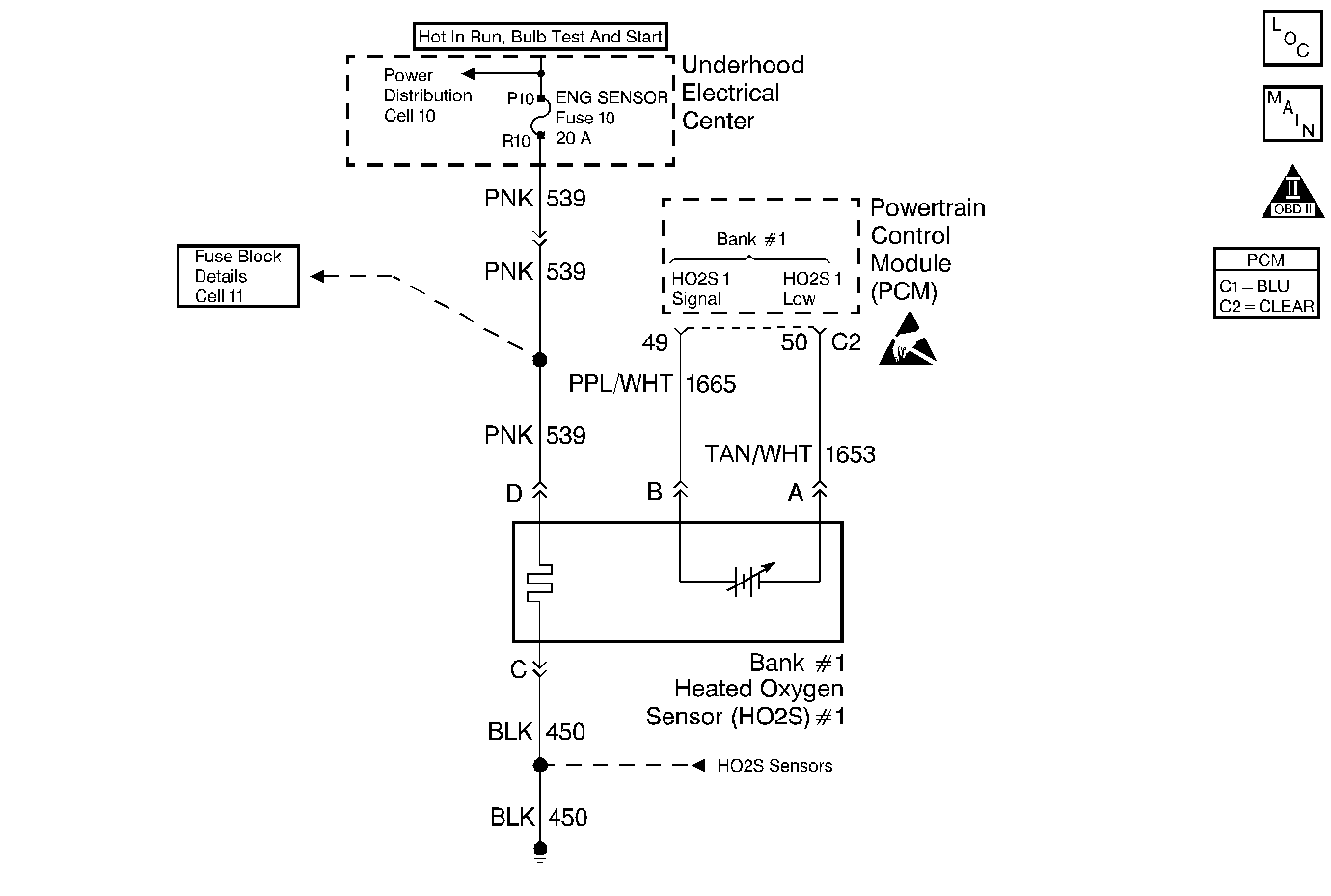
Object Number: 50414  Size: MF
Engine Controls Components
HO2S Sensors
OBD II Symbol Description Notice
Handling ESD Sensitive Parts Notice

Circuit Description

Heated oxygen sensors are used to minimize the amount of time required for closed loop fuel control operation and to allow accurate catalyst monitoring. The oxygen sensor heater greatly decreases the amount of time required for fuel control sensors Bank 1 HO2S 1 and Bank 2 HO2S 1 to become active. Oxygen sensor heaters are required by catalyst monitor sensors Bank 1 HO2S 2 and Bank 1 HO2S 3 to maintain a sufficiently high temperature which allows accurate exhaust oxygen content readings further from the engine. The PCM will run the heater test only after a cold start (determined by engine coolant and intake air temperature at the time of startup) and only once during an ignition cycle. When the engine is started the PCM will monitor the HO2S voltage. When the HO2S voltage indicates a sufficiently active sensor, the PCM looks at how much time has elapsed since startup. If the PCM determines that too much time was required for the Bank 1 HO2S 1 to become active, a DTC P0135 will set. The time it should take the HO2S to reach operating temperature is based on the engine coolant temperature at start-up and the average Mass Air Flow since startup (higher average airflow or higher startup engine coolant temperature = shorter time to HO2S activity).

Conditions for Setting the DTC

    • No active transmission, TP sensor, EVAP system, misfire, IAT sensor, MAP sensor, fuel trim, fuel injector circuit, EVAP solenoid ODM, ECT sensor, or MAF sensor DTC(s) present.
    • Intake Air Temperature (IAT) is less than 35°C (95°F) at startup.
    • Engine Coolant Temperature (ECT) is less than 35°C (95°F) at startup.
    • IAT and ECT are within 6°C (11°F) of each other at start-up.
    • Average mass airflow for the sample period is less than 20 gm/s.
    • Bank 1 HO2S 1 voltage remains within 150 mV of the bias voltage (about 450 mV) for a longer amount of time than it should. The amount of time ranges between 30 and 90 seconds depending on engine coolant temperature at startup and average Mass Air Flow since startup.

Action Taken When the DTC Sets

    • The PCM will illuminate the MIL during the second consecutive trip in which the diagnostic test has been run and failed.
    • The PCM will store conditions which were present when the DTC set as Freeze Frame and Fail Records data.

Conditions for Clearing the MIL/DTC

    • The PCM will turn the MIL OFF during the third consecutive trip in which the diagnostic has been run and passed.
    • The history DTC will clear after 40 consecutive warm-up cycles have occurred without a malfunction.
    • The DTC can be cleared by using the scan tool Clear Information function or by disconnecting the PCM battery feed.

Diagnostic Aids

Check for the following conditions:

    • Poor connection at the PCM - Inspect harness connectors for the following conditions:
       - Backed out terminals.
       - Improper mating.
       - Broken locks.
       - Improperly formed or damaged terminals.
       - Poor terminal to wire connection.
    • Damaged harness -- Inspect the wiring harness for damage. If the harness appears to be OK, observe the display on the scan tool while moving connectors and wiring harnesses related to the sensor. A change in the display will indicate the location of the fault.

Review the Fail Records vehicle mileage since the diagnostic test last failed. This may help determine how often the condition that caused the DTC to be set occurs.

Test Description

Number(s) below refer to the step number(s) on the Diagnostic Table:

  1. The HO2S should be allowed to cool before performing this test. If the HO2S heater is functioning, the signal voltage will gradually increase or decrease as the sensor element warms. If the heater is not functioning, the HO2S signal will remain near the 450mv bias voltage.

  2. This step ensures that the ignition feed circuit to the HO2S is not open or shorted. The test light should be connected to a good chassis ground, in case the HO2S low or HO2S heater ground circuit is faulty

  3. This step checks the HO2S heater ground circuit.

  4. This step checks for an open or shorted HO2S heater element. The heater element resistance will vary according to HO2S temperature (a hot HO2S heater element will measure a much higher resistance than a HO2S heater element at room temperature). It is important to allow the HO2S to cool before measuring HO2S heater element resistance.

  5. An open HO2S signal or low circuit can cause the HO2S heater to appear faulty. Check these circuits before replacing the sensor.

DTC P0135 - HO2S Heater Circuit Bank 1 Sensor 1

Step

Action

Value(s)

Yes

No

1

Was the Powertrain On-Board Diagnostic (OBD) System Check performed?

--

Go to Step 2

Go to the Powertrain On Board Diagnostic (OBD) System Check

2

Important: If engine has just been operating, allow engine to cool for about one half hour before proceeding.

  1. Turn ON the ignition switch
  2. Monitor Bank 1 HO2S 1 voltage on the scan tool HO2S data list.

Does HO2S voltage go from bias voltage to greater than the first specified value or less than the second specified value?

600 mV

300 mV

Go to Diagnostic Aids

Go to Step 3

3

Inspect fuse for Bank 1 HO2S 1 ignition feed.

Is the fuse open?

--

Go to Step 15

Go to Step 4

4

  1. Raise the vehicle.
  2. Disconnect the HO2S 1 electrical connector.
  3. Probe the ignition feed circuit at Bank 1 HO2S 1 electrical connector (PCM harness side) using a test light connected to ground

Important: Use a known good ground. Do not use Bank 1HO2S 1 heater ground or Bank 1 HO2S 1 low.

Does the test light illuminate?

--

Go to Step 5

Go to Step 7

5

Connect the test light between the Bank 1 HO2S 1 ignition feed circuit and the Bank 1 HO2S 1 heater ground.

Does test light illuminate?

--

Go to Step 6

Go to Step 8

6

  1. Allow the HO2S to cool for at least 10 minutes.
  2. Using a J 39200 Digital Multimeter, measure resistance between the brown wires (Bank 1 HO2S 1 ignition feed and Bank 1 HO2S 1 heater ground) at the Bank 1 HO2S 1 pigtail.

Is HO2S heater resistance within the specified values?

3 -10 ohms

Go to Step 9

Go to Step 14

7

Repair open Bank 1 HO2S 1 ignition feed circuit to Bank 1 HO2S 1. Refer to Repair Procedures in Electrical Diagnosis.

Is action complete?

--

Go to Step 16

--

8

Repair open Bank 1 HO2S 1 heater ground circuit. Refer to Repair Procedures in Electrical Diagnosis.

Is action complete?

--

Go to Step 16

--

9

  1. Check for a poor connection at the Bank 1 HO2S 1 harness terminals
  2. If a problem is found, repair as necessary. Refer to Heated Oxygen Sensor (O2S) Repair in Electrical Diagnosis.

Was a problem found?

--

Go to Step 16

Go to Step 10

10

  1. Turn OFF the ignition switch.
  2. Disconnect the PCM and check continuity of the Bank 1 HO2S 1 signal circuit and the Bank 1 HO2S 1 low circuit.
  3. If the Bank 1 HO2S 1 signal circuit or HO2S low circuit measures over 5 ohms, repair open or poor connection as necessary. Refer to Heated Oxygen Sensor (O2S) Repair in Electrical Diagnosis.

Was a problem found?

--

Go to Step 16

Go to Step 11

11

  1. Check for a poor Bank 1 HO2S 1 signal or low circuit terminal connection at the Bank 1 HO2S 1 harness connector.
  2. If a problem is found, repair as necessary. Refer to Heated Oxygen Sensor (O2S) Repair in Electrical Diagnosis.

Was a problem found?

--

Go to Step 16

Go to Step 12

12

  1. Check for poor Bank 1 HO2S 1 low circuit terminal connection at the PCM.
  2. If a problem is found, repair as necessary. Refer to Heated Oxygen Sensor (O2S) Repair in Electrical Diagnosis.

Was a problem found?

--

Go to Step 16

Go to Step 13

13

  1. Check for poor Bank 1 HO2S 1 signal circuit terminal connection at the PCM
  2. If a problem is found, repair as necessary. Refer to Heated Oxygen Sensor (O2S) Repair in Electrical Diagnosis.

Was a problem found?

--

Go to Step 16

Go to Step 14

14

Replace Bank 1 HO2S 1. Refer to Heated Oxygen Sensor Replacement .

Is action complete?

--

Go to Step 16

--

15

Locate and repair short to ground in Bank 1 HO2S 1 ignition feed circuit and replace faulty fuse. Refer to Heated Oxygen Sensor (O2S) Repair in Electrical Diagnosis.

Is action complete?

--

Go to Step 16

--

16

Important: If engine has just been operating, allow engine to cool for about one half hour before proceeding.

  1. Clear DTCs.
  2. Turn ON the ignition switch.
  3. Monitor Bank 1 HO2S 1 voltage for at least 2 minutes on the scan tool.

Does HO2S voltage go from bias voltage to greater than the first specified value or less than the second specified value?

600 mV

300 mV

System OK

Go to Step 2